Back to Home Page of CD3WD Project or Back to list of CD3WD Publications

CLOSE THIS BOOKPlaning out - Course: Manual woodworking techniques. Trainees' handbook of lessons (Institut für Berufliche Entwicklung, 18 p.)
VIEW THE DOCUMENT(introduction...)
VIEW THE DOCUMENT1. Purpose and Application of Planing
VIEW THE DOCUMENT2. Construction and Mode of Action of the Planes, Types of Planes
VIEW THE DOCUMENT3. Preparations for Planing
VIEW THE DOCUMENT4. Planing of Wide Faces
VIEW THE DOCUMENT5. Planing of Narrow Faces
VIEW THE DOCUMENT6. Planing of End-grained Narrow Faces (Sectional Areas)
VIEW THE DOCUMENT7. Planing of Profiles

5. Planing of Narrow Faces

Rectangular narrow faces are planed in the following working steps:

- Coarse unevenness is removed by the jack plane and the smooth plane.
- Subsequently, the narrow face is worked by means of the trying plane,

. the trying plane is moved completely over the total length of the workpiece;
. a square, planed strip held by one hand at the face of the plane facilitates the rectangular move of the trying plane.


Figure 26 Handling of the trying plane for planing of narrow faces

1 trying plane, 2 held strip, 3 workpiece

Exact planing of rectangular narrow faces is checked as follows:

- Straightness by

. applying a batten onto the narrow face;
. joining workpieces belonging together according to the light-gap method.

- Squareness by placing a 90° steel square to the wide face.

When sighting, a hardly noticeable light gap must be visible between the square and narrow face.


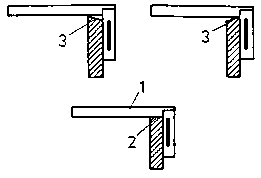
Figure 27 Checking of squareness of the wide face to the narrow face

1 back square, 2 narrow face (square), 3 light gap (not square)

TO PREVIOUS SECTION OF BOOK TO NEXT SECTION OF BOOK