Back to Home Page of CD3WD Project or Back to list of CD3WD Publications

CLOSE THIS BOOKPlaning out - Course: Manual woodworking techniques. Trainees' handbook of lessons (Institut für Berufliche Entwicklung, 18 p.)
VIEW THE DOCUMENT(introduction...)
VIEW THE DOCUMENT1. Purpose and Application of Planing
VIEW THE DOCUMENT2. Construction and Mode of Action of the Planes, Types of Planes
VIEW THE DOCUMENT3. Preparations for Planing
VIEW THE DOCUMENT4. Planing of Wide Faces
VIEW THE DOCUMENT5. Planing of Narrow Faces
VIEW THE DOCUMENT6. Planing of End-grained Narrow Faces (Sectional Areas)
VIEW THE DOCUMENT7. Planing of Profiles

3. Preparations for Planing

Sharpening of Plan Irons

Planes having a dull cutting edge require strenuous planing efforts and leave improper surfaces.

Dull plane irons have to be sharpened!

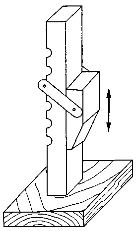
For sharpening of the plane iron, it is removed from the plane stock by means of blows of a hammer on the impact button.


Figure 6 Removal of the plane iron from the plane stock

Double plane

It is not allowed to beat onto the cutting edge of the plane iron!

- The flap at the plane iron is loosened and removed by means of a screw driver.

The plane iron is sharpened in two working steps:

- The plane iron is ground by means of a grinding wheel.

. The plane iron cutting edge has to be kept in opposite direction to the direction of rotation wheel.

. In order to avoid burning out of the cutting edge, the grinding wheel is permanently moistened with water.

. The plane iron is clamped into a movable clamping device, if possible.

. The wedge angle to be adjusted in this connection at the plane iron shall be 25° to 30°.

. The wedge angle at the plane iron can be checked by means of a protractor.


Figure 7 Grinding of the plane iron by a grinding wheel

1 plane iron cutting edge, 2 grinding wheel


Figure 8 Checking of the wedge angle at the plane iron

1 protractor, 2 wedge angle, 3 plane iron

Task

Manufacture a reference gauge with an opening angle of 30° from a piece of plywood or similar solid material.

- Grinding of the plane iron has to be effected until the flank has uniform concaving and the cutting edge is square to the plane iron edge.

Figure 9 shows correctly and incorrectly ground cutting edges.


Figure 9 Square grinding of the plane iron cutting edge

1 correctly ground, 2 incorrectly ground

- Subsequently, the plane iron is stoned on a whet-stone made of natural or synthetic material and the burrs produced by grinding are removed. In order to achieve the required sharpness of the cutting edge, the following working steps have to be carried out:

. moisten the whet-stone with oil or water;

. place the flank and the cutting face of the plane iron onto the stone in alternating mode and move them over the entire surface with circular moves until the burrs are taken off and the cutting edge is sharpened.

- When stoning the plane irons of the double plane and the adjustable iron plane, the edge corners have to be slightly rounded.

- Plane irons for jack planes or planes having shaped faces are ground by means of special devices and grinding stones according to their shapes of the cutting edges.


Figure 10 Stoning of the plane iron

1 flank, 2 cutting face, 3 whet-stone


Figure 11 Rounding of edge corners at the plane iron

What characteristic features must a well sharpened plane iron have?

__________________________________________________

Why is it necessary that the edge corners (between primary and secondary cutting edges) are slightly rounded?

__________________________________________________

After sharpening, the plane iron is inserted. In this connection, it has to be taken care for:

- adjusting the shaving thickness intended until the desired excess length of the plane iron at the face is achieved;

- final wedging of the plane iron.

The correct adjustment of the flap with its breaking edge to the plane iron cutting edge and to the breaking edge in the face opening is very important for reaching a smooth surface when planing! Exactly adjusted and sharp planes "hiss" during planing!

Maintenance of Planes

The face of a plane has to be completely flat. But after having used it for a long period, it is worn before the cutting edge to a greater extent than behind it and that is why it has to be levelled at certain intervals.

Levelling is effected as follows:

- retract and wedge the plane iron,
- place abrasive paper onto a solid and even surface,
- grind the face on the abrasive paper until it is flat again,
- oil the face.

In case of greater unevenness at the face it has to be planed by means of a plane prior to grinding. The face opening is enlarged and the distance between the breaking edges is also increased by frequent levelling of the face. In order to re-establish the right distance it is possible to insert an appropriately shaped piece of hardwood into the face. The face must be levelled, ground and oiled after the adhesive is hardened.


Figure 12 Insertion of a piece of hardwood into the plane face

1 inserted piece of hardwood, 2 face opening

Preparation of Workpieces and Workplace

Workpieces to be planed must completely be free of:

- impurities caused by sand, coarse dust or sticking impurities of other kind;
- paints and paint traces soaked into the wood;
- nails, bolts or other metallic parts.

The following wood is not suited to be planed:

- Wood showing growth defects such as:

. great knots,
. splits,
. arched or wrenched grain structure;

- organic defects such as:

. insect pest,
.decay,

- too high moisture content.

For planing, a working height of 700 mm to 800 mm is advisable. In the workshop, the workpieces are fixed into a carpenters' bench. Long workpieces are supported by a stand adjustable in height at the end which is not fixed.


Figure 13 Adjustable workpiece stand

For site work, the trainee can manufacture a workbench by himself. It consists of:

- stand made of squared timber,
- braces made of slats or boards,
- plate made of boards, at least 30 mm thick.


Figure 14 Site workbench

1 squared timber, 2 braces, 3 plate

A clamping board and a stop strip nailed onto the plate hold the workpiece in place in working direction and laterally when planing. The thickness of the clamping board and of the stop strip should always be smaller than the workpiece to be planed.


Figure 15 Clamping board to plane on sites

1 clamping board, 2 stop strip, 3 workpiece


Figure 16 Clamping board and strip as stops for planing of the work-piece thickness

Working Rules for Planing

The correct working direction for planing of workpieces in longitudinal direction is always in the direction of the ascending wood grains.


Figure 17 Correct working direction for planing

1 direction of wood grains, 2 working direction

When planing against the direction of the grains, no smooth surface can be achieved!

It is possible to plane across the direction of the grains up to an angle of 45°.

When planing narrow faces of cross-cut wood (sectional area) the plane must be moved only up to the centre of the face. The thickness of the shavings to be cut is dependent on the plane iron's excess length over the face.

The excess length is varying according to quality requirements and its adjustment must be tested:

- great excess length of the plane iron requires strenuous effort for planing and leaves uneven surfaces;

- little excess length requires little efforts and leaves flat and smooth surfaces.

The following rules are valid for working with planes:

- The workpiece has to be fixed or has to be secured immovably in working direction.
- The plane iron has to be sharp and the plane must be in working order.
- Both hands press and push against the plane:

. When starting pressure is applied at the front on the plane.
. The face must always be placed on the wood with its entire surface.


Figure 18 Applying the plane (starting of planing)


Figure 19 Moving the plane

. When finishing, pressure is applied at the rear on the plane;
. when returning, the plane is tilted laterally.


Figure 20 Taking off the plane (finishing of planing)


Figure 21 Returning the plane

What basic rules have to be observed when planing?

__________________________________________________

The flatness of planed surfaces is checked by:

- Comparison of the planed surface with a straight strip (straightedge) according to the light-gap method.

- Sighting over two parallel strips arranged crosswise

. the surface is flat when the edges of the strips are congruent;
. the surface is not flat (inclined) when the edges are not congruent.


Figure 22 Checking of straightness of the workpiece

1 workpiece, 2 strip (or straightedge), 3 light gap


Figure 23 Checking of flatness of the surface by sighting over 2 strips


Figure 24 Checking of flatness of the surface by sighting over 2 strips

1 surface is flat, 2 surface is not flat

TO PREVIOUS SECTION OF BOOK TO NEXT SECTION OF BOOK