Back to Home Page of CD3WD Project or Back to list of CD3WD Publications

CLOSE THIS BOOKPlaning out - Course: Manual woodworking techniques. Trainees' handbook of lessons (Institut für Berufliche Entwicklung, 18 p.)
VIEW THE DOCUMENT(introduction...)
VIEW THE DOCUMENT1. Purpose and Application of Planing
VIEW THE DOCUMENT2. Construction and Mode of Action of the Planes, Types of Planes
VIEW THE DOCUMENT3. Preparations for Planing
VIEW THE DOCUMENT4. Planing of Wide Faces
VIEW THE DOCUMENT5. Planing of Narrow Faces
VIEW THE DOCUMENT6. Planing of End-grained Narrow Faces (Sectional Areas)
VIEW THE DOCUMENT7. Planing of Profiles

2. Construction and Mode of Action of the Planes, Types of Planes

Planes have nearly all the same basic shape. The parts of the plane are as follows:

- plane stock (body),
- handle,
- plane hole with opening in the plane face,
- plane iron with flap,
- wedge,
- impact button,
- face,
- hand guard.


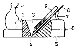
Figure 1 Parts of the plane

1 handle, 2 plane stock, 3 plane hole, 4 opening in the plane face, 5 face, 6 impact button, 7 hand guard, 8 plane iron with flap, 9 wedge

When planing, wood shavings are taken off. The plane iron is the cutting tool part. The plane iron cutting edges have a similar shape and mode of action like mortise chisel cutting edges:

- plane irons have a bevelled cutting edge at one side,
- the wedge angle at the plane iron is 25° to 30°.

The cutting effect of the plane iron cutting edge is influenced by the cutting angle. The most favourable cutting angle is between 45° and 48°. The cutting angle of a plane cannot be changed.


Figure 2 Wedge angle and cutting angle

1 wedge angle at the plane iron, 2 cutting angle at the plane

When planing, the cutting edge of the plane iron is pressed into the wood and splits off the shaving when the plane is advanced (pushed). The pre-splitting effect of the plane iron has to be reduced to produce a smooth surface.


Figure 3 Mode of action of the plane iron

1 pre-splitting, 2 wood shaving, 3 plane iron cutting edge, 4 workpiece (wood)

For this purpose the plane has

- a narrow opening in the plane face to break the shaving immediately when it is lifted at the front edge of the opening,

- a flap bolted on the plane iron to additionally break the shaving at the breaking edge.


Figure 4 Breaking of the wood shaving

1 breaking edge of face opening, 2 shaving, 3 flap, 4 plane iron, 5 breaking edge at flap

The flap must

- lie closely on the plane iron,
- only be arranged max. 1 mm behind the cutting edge,
- tightly be bolted to the plane iron.

The plane stock is mainly made of hardwood, sometimes metal is also used.

Different planes are used for different requirements and working tasks, but all planes have generally the same construction. Table 1 represents the most common planes with their characteristic features and their application.

Table 1: Types of Planes

Designation

Features

Application

Jack plane

- plane length: 240 mm
- plane iron width: 30 mm
- no flap
- cutting edge slightly rounded
- wide plane opening

- to remove thick shavings
- to coarsely plane uneven surfaces of wood

Finish plane

- plane length: 240 mm
- plane iron width: 48 mm
- no flap
- straight cutting edge
- wide plane opening

- to flatten surfaces of wood
- to coarsely smooth surfaces

Double plane

- plane length: 220 to 240 mm
- plane iron width: 48 mm
- bolted flap
- straight cutting edge
- narrow plane opening

- to flatten and smooth pre-worked surfaces of wood
- to provide bolts and slats with bevelled edges

Trying plane

- plane length: up to 600 mm
- plane iron width: 57 mm
- bolted flap
- straight cutting edge
- special handle

- to flatten large wood surfaces and narrow faces
- to provide long bevelled edges

Rabbet plane

- plane length: 200 to 300 mm
- plane iron width: 8 to 33 mm acc. to the width of plane stock
- without or with flap

- to provide profiles on board edges and narrow faces
- to finish rabbets


Figure 5-1 Various planes: jack plane


Figure 5-2 Various planes: finish plane


Figure 5-3 Various planes: double plane


Figure 5-4 Various planes: trying plane


Figure 5-5 Various planes: rabbet plane

For special work, planes with

- bent face,
- shaped face and appropriately shaped plane irons,
- special bodies and plane irons, e.g. to plane out recesses in surfaces, are used.

TO PREVIOUS SECTION OF BOOK TO NEXT SECTION OF BOOK