Back to Home Page of CD3WD Project or Back to list of CD3WD Publications

CLOSE THIS BOOKFace and Parallel Milling - Course: Techniques for machining of material. Trainees' handbook of lessons (Institut für Berufliche Entwicklung, 21 p.)
VIEW THE DOCUMENT(introduction...)
VIEW THE DOCUMENT1. Purpose and importance of face and parallel milling
VIEW THE DOCUMENT2. Kinds of milling tools to be employed
VIEW THE DOCUMENT3. Preparing face and parallel milling
VIEW THE DOCUMENT4. Face milling
VIEW THE DOCUMENT5. Parallel milling

3. Preparing face and parallel milling

To prepare face and parallel milling, the following activities have to be done:

- Mental planning of the course of activities
- Selecting the milling machine (horizontal or vertical miller)
- Selecting the required measuring and testing tools.
- Making available necessary tools, auxiliaries as well as measuring and testing tools, considering proper depositing and storage (note the labour safety regulations')

Use serviceable tools only, otherwise a fabrication as to good quality and labour safety is not ensured.

Attention!

- Hammer and file handles must be undamaged and solidly stick to their seats.
- Tightening keys must not be worn, and their key width has to correspond to the size of clamp bolts and nuts.


Figure 15 Fixed spanner

(1) proper condition,
(2) worn condition

- Cleanliness between clamping surfaces of the work-holding fixture (e.g. machine vice) and the machine table is an essential prerequisite to obtain a good accuracy of the workpiece.

Uncleanliness (chips) or damaged contact surfaces lead to deviations in positioning the clamping fixture and thus, to deviations in size, form and position of the workpiece. Reduction of quality, rework or unusefulness of the workpiece are the consequence.

Clamping of workpieces for milling

Number of workpieces and their geometrical form determine the kind of work-holding fixture - whether single or multi-piece clamping -, the employment of clamping fixtures and other clamping auxiliaries.

- For face milling on a horizontal milling machine, the workpieces (prismatic form) are clamped in the machine vice.


Figure 16 Machine vice

1 vice, 2 workpiece, 3 parallel piece as base

Larger workpieces are directly clamped on the machine table. The machine vice is to be aligned on the machine table for an exact positioning and accordingly tightened to secure the position .

Alignment is accomplished by:

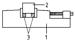
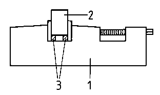
- Sliding blocks, and in case of higher accuracy requirements, by
- front lay gauges or parallel pieces and dial gauge.


Figure 17 Workpiece positioning when machine vice is used (alignment)

(1) with sliding blocks,
(2) with sliding blocks,
(3) with dial gauge and parallel pieces

Why are cleanliness and freedom of burrs absolutely to be taken into consideration when clamping workpieces?

__________________________________________________

The workpiece should be clamped in the machine vice as shortly as possible above the clamping jaws to prevent the workpiece from being torn out or from changing its position during the milling operation.


Figure 18 Clamping the workpiece in the machine vice

1 vice, 2 workpiece. 3 parallel pieces

The following work-holding fixtures are used essentially for milling parallel surfaces:

- Machine vice
- Magnetic chuck
- Direct clamping on table
- Clamping fixtures (single and multi-piece clamping)

When clamping the workpieces in the machine vice for milling parallel surfaces it is absolutely necessary to place the contact surfaces on ground parallel pieces. The following prerequisites have to be fulfilled:

- The grade of parallelism depends on the planeness of the surface worked first.
- The workpiece has to be clean (free from chips) and deburred.
- The exact workpiece rest can be checked by the tight seat of the parallel pieces.
- Same height of parallel pieces is necessary.

The following prerequisites are to be considered when work-pieces are clamped and milled on a magnetic chuck:

- The surface machined first must be clean, deburred and plane. It serves as contact and reference surface.

- To secure the workpiece position, fences having at least 2/3 of the workpiece height must be available.

- The depth of cut must not exceed a maximum of 2.5 mm.

- Contact surface width must at least correspond to the height of the workpiece.

- Only ferriferous workplaces (steel and cast materials) are permitted to be machined on the magnetic chuck.


Figure 19 Clamping on magnetic chuck

1 magnetic chuck
2 workpieces
3 parallel pieces, 4 fence
5 operating elements

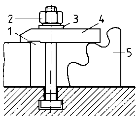
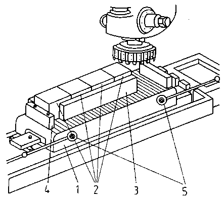
Due to the geometrical form or the workpiece size, direct clamping on the milling machine table is used as well.

In this case, clamping fixtures are employed in the form of clamping bolt, clamping iron and clamping base as well as special auxiliaries (stop rails, work-holding plates, etc.).


Figure 20 Clamping elements

1 clamp bolt
2 nut
3 washer
4 clamping iron
5 step block (work-holding base)

Fixtures for milling parallel surfaces are used in those cases where a definite positioning and securing of the position of the workpiece is not possible with common clamping means. When a great number of pieces is produced, the employment of multi-piece clamping fixtures is economically substantiated.

Which work-holding fixtures are used for face and parallel milling?

__________________________________________________

What is especially to be taken care of when thin-walled and unstable workpieces are clamped?

__________________________________________________

Clamping of workpieces for milling

Depending on the size of the surface to be machined and the kind of the workpiece material, the plain or face milling procedure with super-speed steel or carbide-tipped milling cutters is applied.

Milling tools for face and parallel milling are to be clamped safely and as vibration-free as possible. For milling on the vertical milling machine, milling arbors being as short as possible should be used. The milling cutter (face milling cutter) may also be clamped on the milling spindle directly. When milling on the horizontal miller, milling tools should be set close to the milling spindle for the employment of long milling arbors and a second counterstay is to be used.

Carbide-tipped milling tools are applied for machining work-pieces made of steel or cast iron. Due to the higher cutting values being obtained with these tools, a more rapid (time-saving) execution of the milling process is effected.

The application of super-speed steel milling tools requires a coolant unit to be available and used.

Wear protective gloves or use a rag when clamping milling tools to avoid cuts to your hands.

Selection of cutting values

The selection of cutting values (speed and rate of feed) is determined by the requirement made on the surface finish (roughness) of the workpiece to be machined.

Cutting values are listed in nomographs or tables or can be calculated.

vf = sz · z · n (mm/min.)

sz = feed per each milling cutter edge (mm)

z = number of milling cutter edges

p = 3.14

For workshop exercises, above formula can be simplified to the approximate formula

.

Selection and employment of measuring and testing tools

Selection and employment of measuring and testing tools to check the plane and parallel surfaces milled depend on the following:

- Size of the permissible tolerances of workpiece surfaces, planeness, parallelism and dimensions as well as surface finish (roughness);

- Size of the surfaces to be checked (small-size or large-size parts);

- Number of workpieces to be checked (single parts, small-scale, medium or large-scale series).

The following measuring and testing tools are mainly used:

- Bevelled-steel edge/straight-angle
- Dial gauge
- Caliper gauge
- External micrometers
- Surface plates

When using measuring and testing tools, attention is to be paid to the fact that workpieces heated by the machining process are not checked. Due to the physical properties of metals, they expand when heated and that results in off-size conditions when the workpiece cools down. The standardization of reference temperature for testing is 20 C (20 degrees centigrade).

Measuring and testing tools are to be protected against damages. Workpieces should be cleaned and deburred before being measured and tested. After measuring and testing tools have been used, their unprotected metallic surfaces have to be greased to provide an anti-corrosive effect.

What is necessary to do before any measuring and testing procedure?

__________________________________________________

How is parallelism of surfaces checked?

__________________________________________________

TO PREVIOUS SECTION OF BOOK TO NEXT SECTION OF BOOK