Back to Home Page of CD3WD Project or Back to list of CD3WD Publications

CLOSE THIS BOOKFace and Parallel Milling - Course: Techniques for machining of material. Trainees' handbook of lessons (Institut für Berufliche Entwicklung, 21 p.)
VIEW THE DOCUMENT(introduction...)
VIEW THE DOCUMENT1. Purpose and importance of face and parallel milling
VIEW THE DOCUMENT2. Kinds of milling tools to be employed
VIEW THE DOCUMENT3. Preparing face and parallel milling
VIEW THE DOCUMENT4. Face milling
VIEW THE DOCUMENT5. Parallel milling

2. Kinds of milling tools to be employed

Milling tools are multi-edged tools having edges that have been determined geometrically. They consist of super-speed steel or carbide, or have edges that are carbide-tipped.

In exceptional cases, single-point cutting tools are employed, e.g. in fly-cutting.

During the milling operation the milling tool makes a rotating main motion (revolving motion), while the workpiece moves straight (feed motion).


Figure 7 Main and auxiliary motions during milling

1 revolving motion of the milling cutter (main motion),
2 feed motion of the workpiece (auxiliary motion)

Milling tools are basically differentiated according to the configuration of edges.

Milling cutters that have edges exclusively at the circumference (peripheral) surface of their cylindrical body are called "plain milling cutters".

Milling cutters that have edges at the circumference and at one face side are called end face milling cutters.


Figure 8 Plain milling cutter

1 circumferential cutting edges


Figure 9 Plain and face milling cutter

1 circumferential cutting edges, 2 face cutting edges

With regard to the planned kind of application - rough cutting or finish-cutting - the plain and face milling cutters are furthermore distinguished. There are rough-geared and fine-geared milling cutters as well as milling cutters for light-metal and steel machining.


Figure 10 Plain rough-geared

(1) rough-geared,
(2) fine-geared


Figure 11 Plain and face milling cutter

(1) for machining light metal,
(2) for machining steel

Another kind of milling cutters equipped with circumferential and face cutting edges are those milling cutters having soldered, inserted or changeable carbide tips.

They make higher cutting values possible, inclusive of a saving of high-grade cutting materials and the changeability of spent or damaged carbide tips.


Figure 12 Carbide-tipped milling cutters

(1) with soldered carbide tips
(2) with changeable reverse carbide tips

To machine plane and parallel surface with bigger sizes (surface width from 150 mm onwards), face milling heads (face milling cutters) fitted with various reverse cutting tips are employed. According to the kind of material of the workpieces to be machined, reverse cutting tips for machining steel, cast steel and cast iron are used.


Figure 13 Face milling head (face milling cutter) with reverse tips

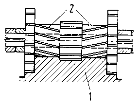
With regard to the simultaneous machining of parallel surfaces, milling tools are mainly combined (coupling and gang mill cutters) that consist of two or several side milling cutters, plain or face milling cutters or a suitable combination of these milling cutters.


Figure 14 Gang mill cutter

1 workpiece section, 2 gang mill cutter (consisting of 2 side milling cutters, 3 plain milling cutters - 2 of them with same diameter)

Thus, there is the possibility to combine several individual working steps in one work-holding fixture at the same time. So, an economic machining of parallel surfaces is possible, since the combination of individual working steps reduces the time required. Moreover, a high quality (accuracy) of parallelism of the surface milled is achieved.

Which kinds of milling tools are suited for machining plane surfaces?

__________________________________________________

What are the possibilities of milling parallel surfaces?

__________________________________________________

As to which points of view are milling tools selected?

__________________________________________________

By which possibilities can two and several parallel surfaces be machined at the same time?

__________________________________________________

TO PREVIOUS SECTION OF BOOK TO NEXT SECTION OF BOOK