Back to Home Page of CD3WD Project or Back to list of CD3WD Publications

CLOSE THIS BOOKFace and Parallel Milling - Course: Techniques for machining of material. Trainees' handbook of lessons (Institut für Berufliche Entwicklung, 21 p.)
VIEW THE DOCUMENT(introduction...)
VIEW THE DOCUMENT1. Purpose and importance of face and parallel milling
VIEW THE DOCUMENT2. Kinds of milling tools to be employed
VIEW THE DOCUMENT3. Preparing face and parallel milling
VIEW THE DOCUMENT4. Face milling
VIEW THE DOCUMENT5. Parallel milling

1. Purpose and importance of face and parallel milling

Face and parallel milling is predominantly applied in the machine and plant building industry.

Plane and parallel surfaces can be milled within the manufacturing process of milling on horizontal or vertical milling machines .

To produce plane and parallel surfaces, the milling processes of plain and face cutting are applied by using up-cut milling and climb-cut milling.


Figure 1 Plain and face milling

(1) plain milling, (2) face milling

Plane surfaces are those being even after the surface has been machined (e.g. by milling). A surface is plane (even) when in a light gap test method with a bevelled steel edge the latter lies uniformly on all places of the surface.

Parallel surfaces are those lying opposite to one another and running in the same direction. Parallel surfaces have an equal distance to one another at all points. Surfaces can only be parallel to one another, when they are plane as well.

What are plane surfaces?

__________________________________________________


Figure 2 Test illustrations

(1) surface is plane, (2) surface is concave, (3) surface is convex, (4) surface is "twisted"


Figure 3 Parallel surface

1 surface parallel to base surface,
2 parallel surface (longitudinal sides)

What are parallel surfaces?

__________________________________________________

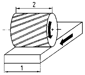
As for milling of plane surfaces on horizontal or vertical milling machines the face milling process has proved more economical compared to plain milling. As far as face milling is concerned, carbide-tipped milling tools (milling heads/face milling cutters) are mainly used, which allow higher cutting values (speed/cutting speed and rate of feed). In case of plain milling with plain milling cutters, the cutting width cannot be wider than the cutter. Cutting width in plain milling is limited by the cutter width.


Figure 4 Milling width

1 workpiece width,
2 milling cutter width

Parallel surfaces may be milled:

- by individual machining (requires the workpiece to be clamped twice)
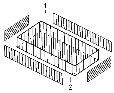
- by gang mill cutters (simultaneous machining by gang mill cutters of the surfaces running in parallel)


Figure 5 Gang mill cutter

1 workpiece,
2 gang mill cutter (2 side milling cutters)

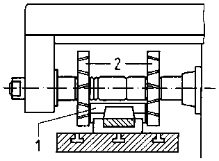
- on two-spindle bed-type milling machines or double- column planer-type milling machines (simultaneous machining of parallel surfaces by employing two or more milling spindles)


Figure 6 Two-spindle milling cutter

1 workpiece, 2 milling cutter (2 cutter spindles)

TO PREVIOUS SECTION OF BOOK TO NEXT SECTION OF BOOK