Back to Home Page of CD3WD Project or Back to list of CD3WD Publications

CLOSE THIS BOOKAmplifier Teaching Aid (DED Philippinen, 86 p.)
Lesson 5 - Transistor Biasing
Lesson Plan
VIEW THE DOCUMENT(introduction...)
VIEW THE DOCUMENTTransistor biasing
VIEW THE DOCUMENTWorksheet No. 5

Amplifier Teaching Aid (DED Philippinen, 86 p.)

Lesson 5 - Transistor Biasing

Lesson Plan

Title: Transistor Biasing

Objectives:

- Understand the purpose of biasing
- Able to analyze an emitter biased circuit


Figure

Transistor biasing

Emitter Bias

The analysis of base biased circuits depends on the current gain which can vary in a wide range. In an amplifier we need circuits whose Q-points are immune to changes in current gain. The solution for this problem is the emitter biased circuit:


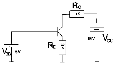
Fig. 5-1: Emitter biased circuit, b = 100

Find the Q-point:

Given : VBB = 5V, VBE = 0.7V, VCE = 15V

RE = 2.2KW, RC = 1KW

Calculation:

VE = VBB - VBE = 5V - 0.7V = 4.3V

IE = IC (close approximation)

VC = VCC - (RC * IC)


= 15V - (1KW - 1.95 mA)

= 13.1V



VCE = VC - VE = 13.1V - 4.3V = 8.8V

Q-point coordinates:

IC = 1.95 mA

VCE = 8.8V

An emitter biased circuit is immune to changes in current gain. Analysing summary:

1. get VE
2. calculate IE
3. find VC
4. VCE = VC - VE

At no time we need the current gain!

Tip for troubleshooter:

Don't measure direct VCE, because the common lead of the voltmeter is grounded, so you will short the emitter to ground.

1. Measure VC
2. Measure VE
3. Subtract VCE = VC - VE

HO: What is the collector voltage?


Fig. 5-2: Emitter biased CE connection

Solution:

VE = VBB - VBE = 2V - 0.7V = 1.3V

IE = IC (approx.)

VC = VCC - (RC * IC) = 10V - (910 W * 7.2 mA) = 3.4V

HO: What is the collector-emitter voltage?


Fig. 5-3: Emitter biased CE connection

Solution:

VE = VBB - VBE = 1.1V

IE = IC (approx.)

VC = VCC - (RC * IC) = 9.4V

VCE = VC - VE = 8.35V

Effect of Small Changes

For example, tolerances of resistors (+/- 10%) are small changes.

See Fig. 5-4 on the next page.


Fig. 5-4: Emitter biased CE connection

Before we can analyse the effects of small changes we have to find out which values are dependent or independent.

independent values: VBB, VCC, bdc, RE, RC
dependent values : VE , VC, IB, IC, IE

Suppose the independent values will increase one after another. What will be the effect on the dependent values:

increase
¯

dependent



VE

IE

IB

IC

VC

VCE


VBB

U

U

U

U

D

D


VCC

N

N

N

N

U

U

independent

RE

N

D

D

D

U

U


RC

N

N

N

N

D

D


hfe

N

N

D

N

N

N

U = up
D = down
N = no change

Worksheet No. 5


Figure

No. 1 What is -the collector voltage if VBB = 2V?

No. 2 If the collector resistor is doubled, what is the collector emitter voltage for a base supply voltage of 2.3V?

No. 3 If the collector supply voltage is increased to 15V, what is the collector emitter voltage for VBB = 1.8V?

No. 4 The base supply voltage (2V) increases by 10%. What happens to the base current, collector current, and collector voltage?

TO PREVIOUS SECTION OF BOOK TO NEXT SECTION OF BOOK