Back to Home Page of CD3WD Project or Back to list of CD3WD Publications

CLOSE THIS BOOKAmplifier Teaching Aid (DED Philippinen, 86 p.)
Lesson 4 - Transistor Fundamentals
Lesson Plan
VIEW THE DOCUMENT(introduction...)
VIEW THE DOCUMENTThe load line
VIEW THE DOCUMENTThe operating point
VIEW THE DOCUMENTRecognizing saturation
VIEW THE DOCUMENTThe transistor switch
VIEW THE DOCUMENTWorksheet No. 4

Amplifier Teaching Aid (DED Philippinen, 86 p.)

Lesson 4 - Transistor Fundamentals

Lesson Plan

Title: Transistor Fundamentals

Objectives:

- Understand the meaning of load line and Q-point
- Able to do the calculation for load line and Q-point
- Know the principle of a transistor switch


Figure

The load line

The load line contains every possible operating point for the circuit. A line is defined by two points. To draw the load line you have to get. the saturation point and the cutoff point:

Saturation point: Tells you the maximum possible collector current for the circuit.

Calculate: Visualize a short between the collector and emitter.

VCE --- > 0

Cutoff point : Tells you the maximum possible collector emitter voltage for the circuit. Calculate: Visualize the transistor internally open between collector and emitter.

VCE -- > VCC

VCE (cut) = VCC

Ex: Draw the load line for the given circuit.


Fig. 4-1: CE amplifier base biased


Fig. 4-2: Output curve

Saturation point:

Cutoff point:

VCE (cut) = VCC = 15V


Fig. 4-3: Output curve with loadline

HO: Suppose the collector resistance (in Fig. 4-1) is increased to 6KW. What happens to the dc load line?

Solution:

VCE (cut) = 15V


Figure

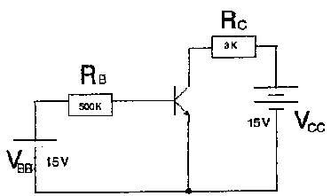
The operating point

Every transistor circuit has a load line. If the base resistance is given you can also calculate the current and voltage for the operating point.

Ex: Calculate the operating point (Q-point)


Fig. 4-4: Base biased CE connection

IC = bdc * IB = 100 * 29mA = 2.9 mA

VCE = VCC - (IC * RC) = 15V - (2.9 mA * 3KW) = 6.3V

By plotting IC (2.9 mA) and VCE (6.3V), we get the operation point ----> Q-point (quiescent point).


Fig. 4 - 5: Collector curve with load line and Q - point

HO: Draw the load line and Q-point.


Fig. 4-6: base biased CE connection, b=50

Solution:

IC = IB * b = 2.15 mA

VCE = VCC - (RC * IC)= 5.7V


VCE (cut) = VCC = 3.0V


Figure

Recognizing saturation

When you first look at a transistor circuit, you usually cannot tell if it is saturated or operating in the active region.

1. calculate IC (sat)

2. calculate IC

If IC is greater than IC (sat) the transistor is saturated.

Note: Current gain is less in saturation region.

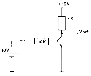
The transistor switch

Ex: Circuit example for a transistor switch:


Fig. 4-7: Transistor switch

The transistor operate only at saturation and cutoff

Switch closed: Transistor in hard saturation Vout » 0V

Switch open : Transistor in cutoff


IC drops to zero

Vout » 10V

Worksheet No. 4


Figure

No. 1 Draw the load line!

No. 2 If the collector resistance is increased to 1K, what happens to the load line?

No. 3 What is the voltage between the collector and ground if the current gain is 100?

TO PREVIOUS SECTION OF BOOK TO NEXT SECTION OF BOOK