Back to Home Page of CD3WD Project or Back to list of CD3WD Publications

CLOSE THIS BOOKElectrical Installation - Basic vocational knowledge (Institut für Berufliche Entwicklung, 201 p.)
2. Power overhead-line systems
VIEW THE DOCUMENT(introduction...)
VIEW THE DOCUMENT2.1. Conductor materials and minimum cross sections
VIEW THE DOCUMENT2.2. Supports points for overhead lines
VIEW THE DOCUMENT2.3. Protection against contact in overhead lines
VIEW THE DOCUMENT2.4. Erection of poles
VIEW THE DOCUMENT2.5. Stringing the conductors
VIEW THE DOCUMENT2.6. Mounting conductor joints
VIEW THE DOCUMENT2.7. Mounting the stranded conductors to the insulators
VIEW THE DOCUMENT2.8. Making service taps
VIEW THE DOCUMENT2.9. Work at existing overhead lines
VIEW THE DOCUMENT2.10. Summary

Electrical Installation - Basic vocational knowledge (Institut für Berufliche Entwicklung, 201 p.)

2. Power overhead-line systems

Conductors mounted to insulators are being called overhead lines. Conductors and insulator are supported by towers or poles.

By means of overhead lines electrical power is led to consumer’s installations over large distances. Overhead lines are employed where, for economic reasons, cables are not laid. Overhead lines are offering considerable advantages as compared to underground cables as they do not require insulating sheaths. Their greatest advantage is, however, avoidance of earthworks.

Before erection of the overhead-line system can be commenced building permission for crossing traffic structures and properties will have to be obtained from the proprietors resp. from the trustees.

The route of the overhead line will be set out by means of wooden pegs. The run of the poles’ location should be along the boundaries of properties if possible as to easier obtain the proprietors’ or trustees’ permission.

2.1. Conductor materials and minimum cross sections

For conductor materials in overhead-line construction single-wire conductors of copper or bronze resp. stranded conductors of copper, aluminium as well as aluminium alloys, steel-core aluminium and bronze are being used. Single-wire copper or bronze conductors are permissible up to a cross section of 16 mm2 and a span of 80 m. For multiple-wire conductors the minimum cross sections as per table 2.1. will be valid.

The min. cross section for copper may be reduced to 6 mm2 and for aluminium to 16 mm2 if the span from pole to pole will be less than 35 m!

The span for overhead lines within the low voltage range is between 35 and 80 m!

Table 2.1. Permissible minimum cross sections of stranded conductors

conductor

minimum cross sections

copper and bronze

10 mm2

steel, hot-dip galvanized

16 mm2

aluminium and its alloys

25 mm2

steel-core aluminium

16/2.5 mm2

2.2. Supports points for overhead lines

Poles resp. towers of timber, steel or reinforced concrete are serving to support overhead lines.

Overhead lines are installed on buildings by roof poles on the roof and side arms at the gable resp.


Fig. 2.1. Roof pole for an overhead line

1 steel pipe, 2 cross bar, 3 guying, 4 protective cap.

Poles for overhead lines are discerned according to their application and purpose:

- supporting poles are used on straight lines only and serve but to support the conductors,
- angle poles support the conductors at angular points,
- terminal poles constitute the fixed points of the overhead lines at their ends,
- branching and distribution poles serve for branching and distributing lines into various directions.

The choice of the materials for overhead-line poles is determined by economic and engineering points of view:

- cost of installation and maintenance,
- life of overhead-line systems.
- possibility of disconnecting the line for repair or replacement,
- application of pole (supporting pole, terminal pole etc.).


Fig. 2.2. Types of poles

1 wooden pole with anchor, 2 pole with tie, 3 supporting pole with footing of reinforced concrete, 4 A-pole for large loads, 5 double A-pole, 6 concrete pole

2.3. Protection against contact in overhead lines

Insulators and overhead lines are being installed in such a way as to make contact by persons without special auxiliaries impossible, either from the ground or from windows, roofs or other structures.

The distance between conductor and ground must be 5 m at least at the maximum sag. If case of service lines this distance may be reduced to 4 m if the overhead line is to be connected to the building on the plot and no vehicles can pass beneath the overhead line.

The distance between overhead line and trees which are positioned below or laterally of the overhead line and which are to be climbed for harvesting or maintenance purposes is to be min. 1 m. Further min. distances are to be seen from table 2.2.

Table 2.2. Minimum distance when routing lines across country, over streets, buildings and plants

Line route via

vertical minimum distance (in m)

Open country with little uneveness as well as over open land in settlements

5

Expressways, highways, roads, roadways

6

Trees in open country or in settlements

1

Dwelling houses and business premises

2.5

Tramways, trolley bus lines

1.5

Power lines up to 1 kV

0.35

Railways for public traffic without contact lines

7

with contact lines

12.5

Waterways of coastal and inland navigation at highest navigable water level

12.5

Coastal rivers

17.5

Cableways for transport of goods

2

Drag-lift systems

3

Information installations of mail and railroads

1.5

2.4. Erection of poles

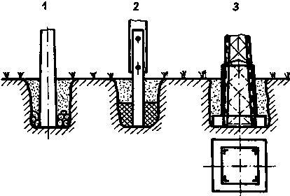
The pole’s resp. tower’s foundation is of utmost importance for the stability of overhead-line poles resp. towers.

For poles of wood or reinforced concrete no special foundations are required. However, for giving the concrete mast or steel tower increased stability, e.g. as anchor tower, the base of the tower may be concreted. This holds for wooden poles’ concrete pole butts too.

Concreting of wooden poles is not permitted!

According to the pegged out route of the overhead line pits for the poles are dug or holes are drilled. Wherever possible the work is to be done by machines.


Fig. 2.3. Foundations of poles

1 pole without special foundation, 2 concreted pole footing of a wooden pole, 3 concreted foundation for a steel tower.


Fig. 2.4. Pits for poles without special foundation.

The base of the pole’s pit must at least have the diameter of the pole!

Prior to excavating the pole’s pit the corner points are to be pegged out. The excavated soil stays beside the pit of the pole serving for back-filling of the remaining hole after erection of the pole.

Prior to erecting the poles the insulators are screwed to the pole resp. bolted to the cross arms.

The insulators employed are:

- shackle insulators for angular branchings of more than 25° and on terminal bindings,

- insulators with straight insulator spindle: such insulators are mounted to cross bars and are provided with threaded shank, nut and washer,

- insulators with swan-neck insulator spindles: for wooden poles standing in line with wood screw threading or with provision for being concreted into brickwork. For further types of poles there are supports with through bolts, threaded shank and nut.


Fig. 2.5. Shackle insulator with straight spindle


Fig. 2.6. Straight insulator spindle

1 standard spindle, 2 reinforced spindle, 3 threaded shaft, 4 nut


Fig. 2.7. Insulator with swan-neck spindle


Fig. 2.8. Putting a pole on a forked trestle

For mounting insulators to the pole, application of a forked trestle is being recommended.

When mounting insulators to a wooden pole the distances according to fig. 2.9. are to be adhered to.

In steel resp. concrete towers the mounting holes for the insulators will have already be provided by the maker.


Fig. 2.9. Minimum distances for mounting insulators to the pole

1 pole, 2 insulator, 3 axis of pole, 4 end of pole

A particular problem when erecting towers resp. poles is observation of bird protection. Cross arms, insulator supports and other structures are to be designed and mounted as to prevent creation of resting places for birds adjacent to live conductors.

If in difficult territory it will be impossible to put up the poles by means of truck-mounted crane the poles may be erected aided by wooden rods being bound together in the shape of shears. For easing sliding of the poles into their pit, a sliding board or plank is placed vertically to the front wall of the pole’s pit. The vertical position of the pole is to be checked by means of a plummet or other measuring device.


Fig. 2.10. Pole’s pit with sliding plank

1 pole’s pit, 2 pole, 3 sliding plank


Fig. 2.11. Erecting of a wooden pole

The hollow spaces in the pole’s pit surrounding the pole are to be back-filled with soil and stones. The soil is to be stamped for giving good stability to the pole.

2.5. Stringing the conductors

Installation of conductors can be commenced only after the poles have been placed and completely mounted. The foundations must be hardened and ropes resp. ties be ready.

As a rule, the stranded conductors are supplied on drums to the erection site, or in case of small cross sections and quantities in coils and pulled off the reel.


Fig. 2.12. Reel


Fig. 2.13. Jacked up rope drum with leverage brake

1 rope drum, 2 adjustable jack, 3 leverage brake

The rope drums are being jacked up, and the stranded conductors are pulled off the drum.

For jacking up the rope drums jacks being adjustable in height and a solid steel axle are being employed. For better rotation of the drum on the axle the axle is well greased at both bearing points of the drum. The jacks are put up as high as to have the drum placed in exactly horizontal position (some centimeters above the ground).

For pulling the stranded conductors off, two methods are applicable:

- laying the stranded conductors on the ground,
- pulling the stranded conductors off, clear of the ground.

Stranded conductors of steel or copper may be dragged over the ground, while for stranded conductors the outer layers of which consist of aluminium this is not permitted. The stranded conductors could be damaged thereby.

Small cross sections are pulled off manually. In long-distance stringing systems fish ropes and rope winches are employed. When paying out the stranded conductors on the ground, care will have to be taken to avoid damage to the stranded conductors by pointed objects like stones, barbed wire etc.

When pulling off clear of the ground the stranded conductors will be guided via pulleys.


Fig. 2.14. Suspended rope pulley at pole

1 rope pulley, 2 rope, 3 insulator

At crossings of streets, roads or other traffic lanes the stranded conductors are under all circumstances to be protected against damage. Simple horses are used in this case over which the stranded conductors are being laid.


Fig. 2.15. Sliding horse at a roadside

After the stranded conductor has been run out, one end is fixed to the insulator or pole.

For adjusting the sag, the stranded conductor is pulled back in direction of the rope drum.

Prior to adjusting the sag all temporary conductor joints are to be disassembled and to be replaced by proper conductor joints!

For pulling back the stranded conductors special draw-vices are employed which do not damage the stranded conductors’ surface. In particular this is important for aluminium conductors.


Fig. 2.16. Draw vices

1 draw vice for stranded aluminium conductors, 2 draw vice for stranded copper conductors


Fig. 2.17. Tensioning the stranded conductor

1 pole, 2 stranded conductor, 3 rope pulley, 4 draw vice, 5 pulley, 6 anchorage

The permissible sag is to be taken from corresponding tables. By slow slackening the stranded conductor the sag is created. In case of long spans the stranded conductor will be sagging more than in case of short ones.

The sag to be adjusted will depend on the distance between support points (span), on the cross section and material of the stranded conductor and on the temperature!

Adherence to the sag may be checked optically by simple auxiliaries.


Fig. 2.18. Checking the sag of the stranded conductor

1 sag, 2 adjusting batten, 3 line of sight, 4 eye.

Table 2.3. Technical data of simple wooden poles with stranded copper conductors

conductor cross section

span

length of pole

dig-in depth

sag at + 40°C

mm

m

m

m

m

25

35

9

1,6

0,43


40



0,51


45



0,64


50



0,78


55



0,94


60



1,12


65



1,28


70



1,48

35

35

9

1,6

0,50


40



0,62


45



0,76


50



0,91


55



1,07


60



1,25


65



1,44

50

35

10

1,8

0,55


40



0,67


45



0,82


50



0,96


55



1,14


60



1,33


65



1,52

70

30

10

1,8

0,45


40



0,65


50



0,91

2.6. Mounting conductor joints

Already prior to adjusting the sag all provisional conductor joints are to be replaced by the permanent connectors.

The points of conductor joints are the weakest spots in the overhead-lines system. Special attention has to be paid to their mechanical strength and to warrant lowest possible transition resistance!

In overhead-line systems rivet connectors, crimp connectors and bolted connectors are being employed for joining stranded conductors. Moreover cone-type connectors can be found.


Fig. 2.19. Types of conductor joints

1 rivet connector, 2 crimp connector, 3 bolt connector

Where tension joints occur in the span line, connections are normally made by means of crimp connectors.

The crimp connectors are being mounted by means of crimpers together with crimping inserts to which also a crimping gauge pertains.

Prior to their utilization stranded conductors are being tied off sawed off and straightened.

Stranded, conductors are on principle not to be sheared off or cut off by chisel!


Fig. 2.20. Simple crimper

1 space for crimping inserts and crimp connectors, 2 lever arm, 3 movable part of crimper, 4 fixed part of crimper, 5 set screw

At first the stranded conductors are to be cleaned of adhering dirt and oxide films by a steel brush. Then a very thin film of non-acid technical grease is to be applied to the conductors’ ends, and these are slid into the jointing sleeve so much as to have them project 3 - 5 mm out of the sleeve.


Fig. 2.21. Preparing a stranded conductor for cutting

1 stranded conductor, 2 insulation tape, 3 cutting point

In the case of steel-cored aluminium conductors a sectional or plate inset is slid between sleeve and stranded conductors in such a way as to have their ends evenly protrude from the sleeve on both sides.

Crimping is started from the centre of the sleeve first to one side of the connector and thereafter to the other side.

Proper crimping inserts are to be used in the crimper. On the crimping inserts the designation of the conductor material and the cross section will be found!


Fig. 2.22. Crimped connection at a steel core aluminium stranded conductor

1 crimping dimension, 1 to 12 sequence of crimping

During crimping the crimper should be kept closed for approx. half a minute after reaching the stop. After each crimping process the correct crimping depth is to be checked by the crimping gauge.

Notches not being sufficiently deep must be recrimped under all circumstances.

When using bolt connectors on stranded aluminium conductors under all conditions care will have to be taken to retighten the clamping points due to the aluminium yielding under the effect of pressure!

Table 2.4. Depth and number of notches for crimped connectors

notching depth

cross sections of stranded conductors mm

t for (mm)

25

35

50

70

95

120

150

185

210

240

Cu-strands

11,6

14,5

16,5

20

24

26

31

35

-

39

steel-II-strands

13,5

16

19

21,5

-

-

-

-

-

-

Al-strands steel core

11

13

17,5

19

24

27

30

33

-

37

Al-strands

15

17,5

20

25

29

33

36

39

41

-

number of notches for

Cu, steel-II-and Al-strands

2x3

2x3

2x4

2x4

2x5

2x5

2x5

2x5


2x6

steel core Al-strands and short connectors

2x3

2x3

2x4

2x4

2x5

2x6

2x6

2x7

2x7

2x7

ditto for long connectors

2x7

2x7

2x8

2x8

2x10

2x12

2x12

2x13

2x14

-

2.7. Mounting the stranded conductors to the insulators

After adjusting the sag of the stranded conductors these are fixed to the insulators. This takes place by means of binding joints.

The mainly applied binding joints are:

- reinforced cross binding joints
- clamped binding joints
- tie binding joints.


Fig. 2.23. The binding joint at a stranded aluminium conductor

1 insulator, 2 tie, 3 s-shaped clamps, 4 wrapped stranded conductor

In case of continuous lines the stranded conductors are preferably fixed by reinforced cross binding joints.

When using stranded conductors of aluminium they must be mechanically protected from the insulators. This will be achieved by wrapping aluminium strip around the stranded conductors. At the contact point with the insulator the aluminium strip is wrapped firmly around the stranded conductor for approx. 13 cm to both sides in each case. Fixing the stranded conductor to the insulator is done by means of binding wire which has to be of the same material as the stranded conductor.

Every reinforced cross binding joint will have to be greased with non-acid technical grease.

How to make a reinforced cross binding joint may be seen from fig. 2.24. For better illustration the turns of the binding wire on the insulator are shown one upon the other. Pay attention, that the stranded conductor should be fixed by 12 turns binding wire at least.


Fig. 2.24. Lashing a reinforced cross binding joint

1 binding wire, 2 aluminium strip, 3 length of wrapping 13 cm, 4 stranded conductor, 5 insulator, a/b ends of binding wire

When making terminal binding joints at stranded conductors of aluminium similarly as in case of the reinforced binding joint an aluminium strip will have to be wrapped around the stranded conductor for protection of the conductor.

Except by terminal clamps, terminal binding joints are also made by using connectors.


Fig. 2.25. Terminal binding joint with terminal clamp

1 terminal clamp, 2 aluminium strip


Fig. 2.26. Terminal binding joint by bolt connector

1 bolt connector

2.8. Making service taps

For making service taps there is the possibility of directly leading the overhead-line system to the building or to branch off a cable from the overhead line to the building.


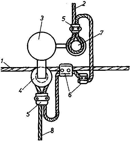
Fig. 2.27. Branching an overhead line from pole

1 main line (lower groove at insulator), 2 branch of service tap, 3 pole, 4 shackle insulator, 5 clamps for terminal binding joint, 6 tapping clamps, 7 pin insulator, 8 further branch

For branching off conductors of small cross section from the overhead line claw-type clamps are being used.


Fig. 2.28. Claw-type clamps

To connect a copper conductor to an aluminium stranded conductor has got its problems. Due to the different metals, copper and aluminium, at the clamping point an electrochemical cell will be created resulting in unfavourable oxidation particularly of the aluminium conductor and thus in a reduction of the cross section. Moreover, by this the clamped connection will become loose.

In this case special aluminium-copper clamps are being employed. Often the overhead lines are directly led to buildings.


Fig. 2.29. Aluminium-copper clamp

1 aluminium, 2 stranded aluminium, conductor, 3 insulation, 4 electrolytic copper

In this case the insulators are to be mounted as demonstrated in fig. 2.30.


Fig. 2.30. Arrangement of insulators at buildings

1 mounting of two insulators, 2 mounting of three insulators, 4 mounting of four insulators

At building the insulators must be placed into the brickwork as deeply and firmly as to withstand the tensile forces to be expected. When mounting insulators or cross bars to walls of a thickness up to 250 mm they will have to be fixed on the inside to wall reinforcements like e.g. angle iron. This will prevent the insulators from being torn out of the wall.

Water is prevented from ingressing into the building by forming a bend on the cable for dripping off the water before passing the cable through. In passages through walls the cable is laid into protective tubes of 1.5 the diameter of the cable. The protective tube is to be installed slightly inclined towards the outer side in order to prevent ingress of water also in this case.


Fig. 2.31. Wall passage

1 clamp, 2 cable, 3 dripping-off bend, 4 passage with tube, 5 junction box, 6 wall

Maintaining the minimum distances between insulators is very important. This is to avoid mutual contact of the stranded conductors with each other in case of wind.


Fig. 2.32. Minimum distances between insulators

1 and 2 distance between insulators 350 mm in each case

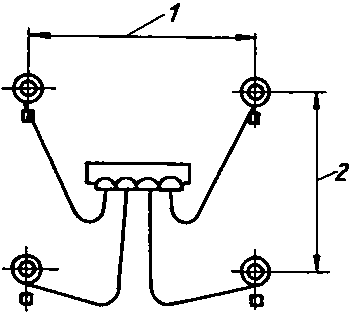
Frequently pole cross bars are also mounted to buildings. By transition heads on the pole cross bars the change-over from stranded conductor to cable is accomplished.


Fig. 2.33. Cross bar

1 support arrangement, 2 steel pipe, 3 transition head, 4 cable

2.9. Work at existing overhead lines

In principle work at existing overhead-line systems is to be performed in dead condition only. Before climbing on poles, in particular wooden poles, their stability is to be checked. The stability of a wooden pole can be verified by simple means:

- sound test: by knocking with a hammer on to the wooden pole just above ground. In case of a high tone the pole may be climbed;

- test drilling: the pole is uncovered for about 50 cm. The pole is to be drilled into by means of a test drill to its centre. The chips sticking to the test drill will give information about the pole’s condition. The chips must be dry.

If a safe stability of the pole is not existing any more and its replacement is not possible at once, then the pole will be marked by a red circle.

When this pole must be climed for urgent reasons, prior to doing so the pole will have to be supported from three sides.

Towers resp. poles of existing overhead-line systems are to be effectively protected against corrosion, rot and pests. Painting coats without penetrative effect, in particular on wooden poles are not deemed to be protective coats. All cut faces and screw holes are to be protected by a timber preservative (coal-tar oil).

On wooden poles which are to be reattended, bandings are frequently being applied against rot and pests as shown in fig. 2.34. For this purpose the pole is to be uncovered and guyed. The banding is formly wound in clockwise direction around the pole with overlap and nailed on both ends. Steel towers are to be protected against corrosion over the total length by a penetrative primer. Also to the steel ends of concrete mast’s reinforcement a protective coat is to be applied, e.g. a bituminous coat.


Fig. 2.34. Applying a banding to a wooden pole

1 pole, 2 bared pole, 3 banding applied, 4 banding

Observing labour safety during work at overhead-line systems is of utmost importance. Besides checking the stability of a pole, generally a safety belt is to be fastened and a crash helmet has to be worn when climbing poles. For climbing wooden poles the fitter fixes climbing irons to his shoes. The climbing irons must be fastened firmly to the shoes. For avoiding accidents walking with climbing irons fastened to the shoes is not permitted.


Fig. 2.35. Climbing irons, crash helmet, safety belt and tool-bag

a) climbing iron: 1 foot support, 2 fixing straps, 3 holding tip

b) protective helmet: 1 helmet, 2 chinstrap, 3 neck support

c) safety belt: 1 belt with high breaking strength, 2 double buckle, 3 safety line, 4 securing the snap hooks

d) tool bag: 1 tool-bag, 2 straps, 3 belt

Rubber boots must not be provided with climbing irons, since rubber boots do not fit firmly to the feet!

Work at overhead-line systems is made easier by using collapsible ladders and elevating platforms. They must be entered only if being in an unobjectionable condition and if the devices are firmly and safely based. When moving on elevating platforms or collapsible ladders no person must be on them. Moreover the cantilever or ladder must be retracted.

Work at live overhead-line systems is to be performed by fitters with a special professional qualification only. Furthermore, an insulated location, special tools and special working apparel will also be required.

Such operations are to be carried out in exceptional cases only, e.g. in case of breakdown repairs.

Great care must be taken if an overhead line is broken. Then the area of danger around the overhead line dropped down is to be blocked at once as not to endanger passer-bys or laymen.

The pendant overhead line must be assumed to be voltage-carrying.

Pendant overhead lines must never be touched. This will mean direct mortal danger!

2.10. Summary

The great advantage of overhead lines as compared to cables is the omission of insulating sheaths and earthworks.

As conductor material for stranded conductors copper, aluminium as well as aluminium alloys and bronze are being taken. The span of overhead lines varies between 35 and 80 m.

Poles for overhead lines in the low voltage range need no particular foundations as a rule.

The sag to be adjusted is to be seen from corresponding tables. It depends on the distance between poles, on the conductor’s cross section and on the prevailing ambient temperature.

Conductor joints are the weak spots in the overhead-line system. They are to be mounted firmly. Rivet connectors, bolt connectors and crimp connectors are applied in overhead-line systems.

The most frequently used connector is the crimp connector.

Fitting the crimp connectors is done by means of crimpers.

By means of the crimp gauge pertaining to the equipment the depth of the notches is checked. The proper crimping inserts will have to be employed.

Stranded conductors are fixed to the insulators mainly by reinforced cross binding joints.

The minimum distance between insulators on poles and walls of buildings is to be maintained under all circumstances. Insulator supports and cross bars of poles are to be anchored in the brickwork in such a way as to resist the tensile forces to be expected. At cable branches from overhead lines each core of the cable is bent downwards in order to have the water drip off.

For passing through walls the cable is to be placed into a protective tube of 1.5 times its diameter.

Prior to climbing poles, in particular wooden poles, their stability has to be tested.

TO PREVIOUS SECTION OF BOOK TO NEXT SECTION OF BOOK