Back to Home Page of CD3WD Project or Back to list of CD3WD Publications

CLOSE THIS BOOKElectrical Installation - Basic vocational knowledge (Institut für Berufliche Entwicklung, 201 p.)
1. Protective measures against too high a contact voltage and conduct following electrical accidents
VIEW THE DOCUMENT1.1. Earthing of electrical systems
VIEW THE DOCUMENT1.2. Marking of conductors and designation of networks
1.3. Protective conductors
VIEW THE DOCUMENT(introduction...)
VIEW THE DOCUMENT1.3.1. Designation of protective conductors
VIEW THE DOCUMENT1.3.2. Minimum cross sections of protective conductors
VIEW THE DOCUMENT1.3.3. Connection of protective conductors
VIEW THE DOCUMENT1.3.4. Lines for potential equalization
1.4. Mode of action, conditions and application of protective measures against too high a contact voltage
VIEW THE DOCUMENT(introduction...)
VIEW THE DOCUMENT1.4.1. Protective insulation
VIEW THE DOCUMENT1.4.2. Protective low voltage
VIEW THE DOCUMENT1.4.3. Protective isolation
VIEW THE DOCUMENT1.4.4. The protective conductor system
VIEW THE DOCUMENT1.4.5. Protective earthing
VIEW THE DOCUMENT1.4.6. Neutralization
VIEW THE DOCUMENT1.4.7. Current-operated earth-leakage protection
VIEW THE DOCUMENT1.4.8. Voltage-operated earth-leakage protection
VIEW THE DOCUMENT1.4.9. The isolating current-operated earth-leakage protection
VIEW THE DOCUMENT1.5. Conduct after electrical accidents
VIEW THE DOCUMENT1.6. Summary

Electrical Installation - Basic vocational knowledge (Institut für Berufliche Entwicklung, 201 p.)

1. Protective measures against too high a contact voltage and conduct following electrical accidents

1.1. Earthing of electrical systems

An electrical installation is defined as the totality of equipment assembled into a technical unit for the purpose of generating, transferring, distributing, storing or converting electrical power.

In an electrical installation earthing plays an important part for safety and functionability.

Earthing is the totality of all means and measures for connection to earth.

Earthing systems are applied to safely leak lightning, creeping and fault currents via the soil. Moreover, earthing systems are serving to warrant certain operation processes like

- return of fault currents (closing the fault current circuit)
- mastering of line-to-earth faults
- safety in case of defects in transformers.

The following definitions are given:

- lightning currents: currents originating from stroke of lightning into an electrical installation

- creeping currents: currents making current transition possible along the surface of a fixed insulation between parts being under voltage relative to each other

- fault currents: currents flowing due to an insulation fault.

The current flowing via the earthing electrode does not spread itself in the ground, but closes the fault current circuit via the earthed point of the network and the ground.

Earthing electrodes are non-insulated conductors being directly embedded in the ground. Depending on their purpose a difference is made between system earthing electrodes, protective earthing electrodes, control earthing electrodes and auxiliary earthing electrodes.


Fig. 1.1. Construction of an earthing system

1 soil, 2 secondary side of feeding transformer, 3 consumer’s installation, 4 system earth electrode, 5 protective earth electrode, 6 path of returning fault current in case of fault, 7 main fuses, 8 fuses of consumer’s installation.

Earthing systems therefore consist of:

- conductive earthing electrodes connected to each other and
- earthing lines resp. earthing concentration lines being positioned between the electrical equipment and the earthing electrodes.

Earthing is creation of a conductive connection between conductive parts of the equipment and the ground via an earthing system.

System earth electrodes serve to earth one point of the operating circuit (neutral point resp. earthed phase conductor).

Protective earthing electrodes serve to earth conductive parts of the system not belonging to the operating circuit, to which in case of fault voltage may be applied, like e.g. casings of electrical equipment.

Auxiliary earth electrodes serve for monitoring neutral conductors, for taking up measuring currents in case of earth measurements and for connection of the fault voltage circuit breaker at voltage-operated earth-leakage circuit breakers.

Control earth electrodes serve to influence the potential curve in the ground.

For transferring electrical currents into the ground all conductors are suited which have well conductive connections to the ground. Metal constructions, waterpipes or rails are fulfilling - save their actual purpose - their task as earthing electrodes as well as earth electrodes placed in the ground being determined for earthing only.

Contrary to the artificial earth electrodes placed in the ground exclusively for the purpose of earthing, conductors being well suited as earth electrodes, but primarily put into the ground for other tasks, are called natural earth electrodes.

Earthing electrodes are either dug into, driven into or placed in boreholes in the ground. Depending on their depth in the ground they are classified in surface and depth earthing electrodes. In case of a combination of these two types of earth electrodes they are called combination earthing electrodes.

Classification of earth electrodes

Depth in ground

Surface electrodes

up to 3 m

Depth earth electrodes

more than 3 m


Fig. 1.2. Types of earth electrodes

1 soil, 2 min. depth 0.8 m, 3 surface earth electrode, 4 depth earth electrode, 5 combination earth electrode, 6 strip earth electrode, 7 earthing rod. 8 earthing plate, 9+10 natural earth electrodes: pipeline and metal structure.

The advantage of natural earth electrodes as compared to artificial earth electrodes is avoiding earthwork. Earthing electrodes are named after the material used. Earthing electrodes are discerned according to their depth-position. Earthing electrodes are selected according to the condition of the ground. Hot-dip galvanized round steel being used in lightning arresting engineering since long ago is best suited as surface earthing electrode.

- At the same cross section it exposes a smaller surface for attacks by corrosion.

- Due to its round shape, its bond with the surrounding soil will be better.

When building earthing systems it is not the quality and cross section of the applied earthing material which is decisive, but a good quality of electrical connection with the surrounding soil!

Table 1.1. Materials of earth electrodes

Earth electrode

Material

Min. dimensions

Strip earth electrode (flat earth electrode)

hot-dip galvanized strip or round steel

Cross section 100 mm2
Thickness 3 mm diameter 10 mm

earthing rod

hot-dip galvanized angle

40 mm x 4 mm


hot-dip galvanized steel pipe

ext. diameter 24 mm wall thickness 3 mm


hot-dip galvanized round steel

diameter 10 mm to 24 mm

earthing plate

solid or perforated steel plate


When installing earthing electrodes the following principles are to be observed.

- For protecting earthing strips from dehumidifying or freezing out of the soil they are to be placed in the ground at least 70 cm under the surface.

- Earthing strips may be placed together with underground cables in cable ditches, but the heat from the cable must not be able to dry out the soil. Considering the resistance of earth they must also not be placed on gravel like underground cable.

- Since earthing electrodes will be damaged by corrosion they are not to be placed in aggressive soil, in the vicinity of rubbish or in running waters. Placing earthing electrodes beneath streets (roads) is also prohibited.

- Earthing electrodes placed in the ground are to be arranged in such a way as to prevent them from affecting each other. The distance to foundations of buildings must be 1 m at least.

- After installation the soil surrounding the earthing electrode is to be carefully stamped or to be jetted in layers in case of dry, not bonding soil.

- Earthing electrodes must not be contaminated. Besides appearance of corrosion also tar, paint etc. are to be considered as contaminations.

- In order to keep the user informed about the exact position of the earthing system a precise layout plan of the earthing equipment has to be drawn.

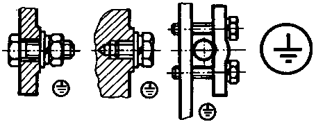
Connection of earthing electrodes among each other are being made by keyed joints, welded joints or bolted joints. Welded joints are to be preferred.


Fig. 1.3. Keyed joint of a strip earth conductor

1 passage, 2 junction.

In case of bolted joints a bolt M 10 has to be taken at least. For joining the earth lead to the auxiliary earthing electrode in case of applying the protective measure “voltage-operated earth-leakage protection” a bolt M 6 will suffice (Always hardened and tempered bolts with hexagonal head are to be used).


Fig. 1.4. Bolted joint of an earth lead

1 earth lead, 2 hex, head bolt, 3 washer, 4 spring washer, 5 nut.


Fig. 1.5. Pipe clip for earthing connection to strip steel

1 pipeline, 2 pipe clip, 3 bolt M 8, 4 bolt M 10 for strip steel joint.

Connections to natural earthing electrodes are preferably to be made outside the soil. At points where this is impossible and at joining faces being not metallic-bright, toothed lock-washers are to be used. At joining faces being metallic-bright, joints between earthing electrodes may be made by applying spring lockwashers resp. plain lockwashers. At the joints of earthing electrodes protection against corrosion is of utmost importance. It must be durable and fully effective.

By welding and drilling the zinc layer on the steel is damaged leading to stronger corrosion at the defective points.

Protection against corrosion is safely warranted by application of anti-corrosive tape being wound firmly and semi-overlapping, in case of aggressive soils twice semi-overlapping, around and approx. 100 mm beyond the joint. In case of aggressive soils it is recommended to seal the anti-corrosive tape by sealing compound.

Welded joints are to be thoroughly cleaned from scale by means of a welder’s hammer prior to applying the anti-corrosive tape. Earthing connections to pipes are sealed by a plastic sealing compound against humidity prior to applying the anti-corrosive tape.

Before connecting natural earthing electrodes they are to be checked for their usability.

Using gas pipes as earthing electrodes is generally forbidden due to the very high transition resistances of the sealing materials and the hazards of explosion. On the other hand, lead sheaths of underground cables, reinforcing steels in concrete, rail track systems and waterpipe networks may be used for earthing. However, tracks used in earthing must not serve for operation of vehicles driven by direct current.

Prior to using the waterpipe network for earthing purposes the approval of the water supply utility will have to be obtained. This is important, because water meters and locking valves must reliably be bridged. These bridges must under no circumstances be removed when repairing waterpipe networks.

The material for bridges at water meters and locking valves is to be rain. 10 mm2 Cu, 25 mm2 Al or 50 mm2 hot-dip galvanized strip steel!


Fig. 1.6. Bridging of a water meter

1 water meter, 2 water pipeline, 3 stop valves, 4 pipe clips according to fig. 1.5, 5 bridging.

Lines connecting parts of the plant to the earthing electrode are called earth leads. When preparing earth leads care has to be taken to cut hot-dip galvanized materials by shears or saw only.

Hot-dip galvanized strip steel is aligned on simple straightening machines or on a parallel by hammer. Processed ends of hot-dip galvanized strip steel are to be deburred by filing. Bores are to be deburred properly by a countersink or bigsize drill.


Fig. 1.7. Aligning hot-dip galvanized strip steel by hammer

1 straightening rail, 2 hot-dip galvanized strip steel, 3 hammer, 4 blow points for alignment in case of horizontal (lateral) bends.

For installing earth leads on walls, special clamps are employed. They firmly accommodate the earth leads and are easily mounted. They are directly inserted in the wall or screwed to the wall. Joints and junctions of earth leads and earthing concentration leads are to warrant a durable, safe and electrically well conductive connection.

Permitted are: bolted, welded and pressed joints, but also soldered and notched joints to stranded conductors. Also in this case welded joints are being preferred* Joints must be protected from corrosion!


Fig. 1.8. Holders for earth leads of flat steel

1 directly to be inserted into wall, 2 screwable to wall.

The earth resistance of an earthing system may be ascertained by different methods with varying precision. The expert will select from a multiple of available measuring methods that one, supplying him with the most exact result possible, while saving time and expense and applying as little equipment as possible. Fig. 1.9. shows such a measuring arrangement at which the earth resistance may be directly read on the earthing measuring instrument fed by alternating current. It has, however, to be observed that the auxiliary earthing electrodes, earthing electrodes and sensing probe must at least be in a distance of 20 m from each other.


Fig. 1.9. Measuring arrangement for ascertaining earth resistance

1 earthing measuring instrument, 2 earth electrode, 3 probe, 4 auxiliary earth electrode.

The system and protective earth leads are marked by black transverse stripes at all ends and junctions. Blank earth leads in installations like e.g. copper conductors et socket outlets with earthing contact need not be marked. Insulated earth leads are to be marked green-yellow like protective conductors.

1.2. Marking of conductors and designation of networks

Practically there are three different basic types of networks:

- TN-networks with directly earthed netpoint (system earthing electrode) and protective conductor (fig. 1.10., 1.11., 1.12.)

- TT-networks with directly earthed netpoint and protective earthing electrodes at the connected parts of the system (fig. 1.13.)

- IT-networks without earthed netpoint, however, with earthed electrical appliances and parts of the system (fig. 1.14.) In TN-networks three types may occur:

- networks with combined neutral and protective conductors are called TN-C-networks (fig. 1.10.)

- networks with separate neutral and protective conductors are called TN-S-networks (fig. 1.11.)

- networks with combined neutral and protective conductors in the first part of the network and with separate neutral and protective conductors in the second part of the network are called TN-C-S-networks (fig. 1.12.).


Fig. 1.10. TN-C-network


Fig. 1.11. TN-S-network


Fig. 1.12. TN-C-S-network


Fig. 1.13. TT-network


Fig. 1.14. IT-network

The letters for designation of the networks and conductors mean the following:

T direct connection to an earthing electrode (French: terre)
I insulation
N neutral conductor (French: neutre)
C combination (French: combiné)
S separate (French: separé)
P protection
E earth
TE trouble-free earth lead (French: terre electronique).

Table 1.2. Special connection and conductor designations

System

Conductor

designation of connection

designation of conductor



designation

circuit symbol


ac current

any phase conductor 1)



L


1. phase conductor

U


L1


2. phase conductor

V


L2


3. phase conductor

W


L3


neutral conductor without protective function

N


N

dc current

any phase conductor 1)

preferably first half of alphabet


L


positive phase conductor


+

L+


negative phase conductor


-

L-


centre conductor without protective function

M


M

protective conductor, earthed

PE

protective conductor, earthed with



neutral or centre conductor function


PEN

protective conductor, not earthed


PU

potential equalization line


PA

earth lead

E

troublefree earth lead

TE

1) for designation of conductor only

1.3. Protective conductors

Protective conductors are an important basic element of protective measures against electrical shocks. Protective conductors connect conductive parts of casings in electrical appliances, conductive parts of buildings and constructions etc. to earthing electrodes.

Protective conductors are meant for protection against too high contact voltages by leaking fault currents!

In almost any case interruptions of protective conductors will result in the concerned protective measure remaining without effect. If the protective measure is not applied properly great sources of danger will be created. Therefore the expert has to take utmost care to correct dimensioning, careful installation, appropriate marking and proper connection of the protective conductors.

1.3.1. Designation of protective conductors

For preventing a mix-up with the phase conductors, protective conductors are marked by colours.

By the work of CEE and IEC the obligatory characteristic colour green-yellow was adopted for protective conductors worldwide, The colour-marking of protective conductors in cables is to be guaranteed by the maker along the overall length of the conductor. Marking of a conductor afterwards by sliding on insulating tubing on or wrapping around the ends of the protective conductor is not permissible. If no protective conductor is required this conductor will remain unused resp. cable without a protective conductor will be taken.

Conductors marked as protective conductors must be used as protective conductors, auxiliary earth leads or potential equalization lines only, i.e. for protection purposes!

1.3.2. Minimum cross sections of protective conductors

The cross section of a protective conductor is determined by its current load and type of installation. Therefore the cross section of a protective conductor being installed in a protected way may be less than the one of a protective conductor being installed unprotected.

Table 1.5. Minimum cross sections of protective conductors

rated cross section of phase conductor mm2

min. cross section of protective conductor in mm2


protective conductor insulated and against mechanical damage

protective conductor, not insulated and against mechanical damage


protected

not protected

protected

not protected

0,5

0,5 1)

4

1,0 1)


0,75

0,75 1)




1,0

1,0 1)




1,5

1,5




2,5

2,5


1,5


4

4


2,5


6

6



4

10

10



6

16

16



10

25

16



16

35

16



16

50

25



25

70

35



35

95

50



50

120

70




150

70




185

95




240

120




300

150




400

185




500

240




1) Not permitted for fixed installation

Protective conductors of aluminium are to have a minimum cross section of 2.5 mm2 if installed in a mechanically protected way, e.g. if placing cables or wires in a tube. In case of mechanically unprotected installation, e.g. insulated wires laid on the surface, however, the cross section concerned will have already to be 10 mm2 at least. If insulated protective conductors with a conductor cross section below 10 mm2 are laid underground they will have to be placed in a cable or sheathed line. For insulated protective conductors to be connected to earthing electrodes and therefore to be placed in the ground, only copper conductors from 10 mm2 upwards are to be taken. Non-insulated conductors put into the ground will act as earthing electrodes. Due to this reason their minimum cross sections will have to be adapted to those of the earthing electrodes.

From table 1.3. the minimum cross sections of protective conductors in relation to the cross sections of phase conductors are to be seen. They are valid for conductors of copper.

1.3.3. Connection of protective conductors

The functionability of the protective measure depends on the expert connection of the protective conductor. It has to be made with the same care as for phase conductors. All electrical appliances with connection for protective conductors have protective conductor’s connection points to which the protective conductor is to be connected.


Fig. 1.15. Construction and marking of connection points for protective conductors.

If the protective conductor is passed through an electrical device to be included into the protective measure, e.g. a motor protection switch, then it will not be permissible to connect the lead-in and lead-out of the protective conductor to different points on the device’s casing. The protective conductor for lead-in and lead-out (to the motor) is to be connected to a common protective conductor’s connection point.


Fig. 1.16. Joining two protective conductors by one bolt

1 washers, 2 spring washer.

Flexible conductors are prior to connection, to be protected against fanning out of individual conductor wires by soldering, by means of terminal sleeves or by cable terminals. Protective conductors of a cross section below 1 mm2 may only be connected to each other by soldering.

For connection of two-pole socket outlets with earthing contact the following will hold:

- When applying the protective measure neutralization and using two-core cable the neutral conductor with the protective function will first be connected to the terminal of the protective conductor and thereafter guided to the terminal of the neutral conductor in uncut condition.

- When using three-core cable the phase and neutral conductors are being connected to one each of the voltage carrying terminals and the protective conductor to the protective conductor’s terminal.

For increasing the safety of the protective measure neutralization the second method of connection is being applied. In that instance the neutral conductor and the protective conductor are connected to each other in the distribution or at the socket outlet with earthing contact. Both variants of connection serve to warrant the function of the protective measure even if there is an interruption at the terminal of the neutral conductor.


Fig. 1.17. Connection of fixed two-pole socket outlets with earthing contact on application of neutralization

1 connection of two-core cable, 2 connection of three-core cable

For connection of electrical equipment the following principle is valid:

Protection first, then function!

This means that in the wiring space of electrical equipment the protective conductor should be somewhat longer than the phase conductors, so that in case of failure or overstressing of the pull relief, first the phase conductors and then only the protective conductor are torn off their connection points. Thus the protective measure will also be effective in case of failure. When connecting portable electrical equipment having a connection point for a protective conductor, in the lead-in a separate protective conductor should be provided and connected.

Two-core flexible cables for connection of protective conductors are prohibited for safety reasons!

In the same way operating portable electrical equipment with protective conductors via sockets without earthing contact will be dangerous. On the other hand, socket outlets with earthing contacts may be used for operation of portable electrical equipment without protective conductor’s connection. The commercially made plugs which are put together by vulcanizing have such a shape as to enable using a socket outlet with earthing contact.


Fig. 1.18. Example for two-pole appliance plugs of portable electrical devices without protective conductor

1.3.4. Lines for potential equalization

Within buildings, as a matter of principle, potential equalization is performed, in order to prevent accidents due to displacement of voltage.

Via potential equalization lines

- all pipelines of metal (gas, water, heating),
- cohesive building structures of metal (steel girders, window and door frames),
- reinforcements of steel in concrete,
- earthing systems for lightning arrest and information installations as well as
- protective conductors when applying the protective measures protective earthing and neutralization are connected together on a potential equalization bar.

This potential equalization bar is to be accommodated at a well accessible location of the building, e.g. in the building’s service room. The great benefit of potential equalization is the displacement of the fault potential to all available metallic parts of the building in case of failure until the nearest fuse connected in series responds, avoiding as such to a great extent the risk of accident by bridging a fault potential.

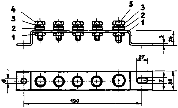
The potential equalization bar may be made of hot-dip galvanized strip steel of min. dimensions 30 x 3 mm. The minimum cross sections of potential equalization lines may be taken from table 1.4.


Fig. 1.19. Potential equalization bar

1 hex, nut, 2 washer, 3 spring washer, 4 hex, bolt M8, 5 hex, bolt M10.


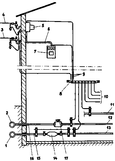
Fig. 1.20. Potential equalization for service tap via cable

1 main water pipeline, 2 main gas pipe, 3 service sleeve, 4 service box, 5 main distribution line. 6 potential equalization bar, 7 potential equalization lines, 8 to further components to be included in potential equalization, 9 heating pipe, 10 gas pipe, 11 water pipe, 12 water meter, 13 water connection pipe, 14 gas connection pipe, 15 main stop valve.


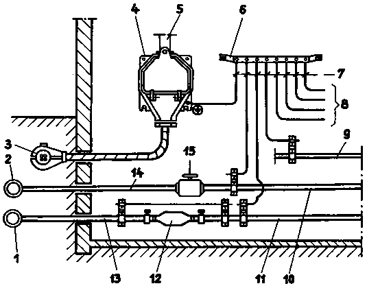
Fig. 1.21. Potential equalization in case of service tap via overhead line

1 main water pipe, 2 main gas pipe, 3 neutral conductor, 4 phase conductor, 5 service box, 6 lead-in to current meter, 7 meter panel, 8 potential equalization bar, 9 connections at choice, 10 towards further components to be included in potential equalization, 11 heating pipe, 12 gas pipe, 13 water pipe, 14 water meter. 15 water connection pipe, 16 gas connection pipe, 17 main stop valve.

Table 1.4. Minimum cross sections for potential equalization lines


copper

aluminium

hot-dip galvanized steel

in mm2

10

25

50

1.4. Mode of action, conditions and application of protective measures against too high a contact voltage

When applying a protective measure all electrically conductive parts of the system not pertaining to the operating circuit are to be included, which

- may be touched during operation of the plant or appliance.
- may adopt voltage in case of fault.

Applying several protective measures within a system must not result in their cancelling each other. Protective measures are to be introduced at rated voltages of more than

- 50 V ac voltage
- 120 V dc voltage

These limits for max. permitted contact voltages were ascertained by scientific research. Contact voltages beyond these values may be mortal to the human organism, Protective measures including and excluding protective conductors are being discerned:

Protective measures without protective conductors are:

- protective insulation,
- protective low voltage,
- protective isolation.

Protective measures with protective conductors are:

- a system of protective conductors.
- neutralization,
- protective earthing
- current-operated earth-leakage protection,
- voltage-operated earth-leakage protection,
- isolating current-operated earth-leakage protection.

Table 1.5. Distinguishing features of protective measures

protective measure

accessory units

result of protective measure

1. with protective conductor

voltage operated earth-leakage protection

protective switch

Preventing continuation of too high contact voltages

current-operated earth-leakage protection



isolating current - operated earth - leakage protection

protective switch and internal voltage generation (transformer)


protective earthing neutralization

without accessory units


protective conductor system

without accessory units (in case of an overvoltage protector of a live conductor a monitoring or breaking device will be required)

Preventing occurrence of too high contact voltages

2. without protective conductor

protective isolation

internal voltage generator (transformer) without protective switch


protective low voltage



protective insulation

without accessory units


Every electrical plant and all electrical equipment within the low voltage range up to 1000 V ac voltage or 1500 V dc voltage is to be provided with one of the above mentioned protective measures. In the following the types, conditions and application of the protective measures will be referred to more in detail.

1.4.1. Protective insulation

The protective insulation of electrical equipment consists of protective insulation in addition to the service insulation or of reinforcement of the service insulation.

Even the site-insulation, meaning the insulation of a human being against earth, is a kind of protective insulation. The protective measure protective insulation is distinguished by high efficiency at low maintenance cost. The makers of electrical equipment are obliged to apply it to their products.

There are three versions of protective insulation:

- protective insulation sheathing,
- protective intermediate insulation,
- reinforced insulation.


Fig. 1.22. Basic representation of protective insulation

1 envelope of protective insulation, 2 protective intermediate insulation, 3 reinforced insulation, 4 service insulation, 5 metallic sheating, 6 protective insulation

In case of the protective insulation sheathing all parts exposed to voltage in the instance of fault are firmly enveloped by insulation material, the insulating material being at no place interrupted. Protective insulation sheathing is primarily used for home appliances of low power like hair dryers or vacuum cleaners.


Fig. 1.23. Hair dryer

1 impressed marking for appliances with protective insulation

In case of protective intermediate insulation the external, touchable, conductive parts of electrical appliances are separated by fixed insulating pieces in the interior of the devices from the parts exposed to voltage in case of fault.


Fig. 1.24. Electric iron (1) and electric hand drilling machine (2)

3 impressed marking for appliances with protective insulation.

In case of reinforced insulation an additional protective insulation is applied directly onto the service insulation or the service insulation is being reinforced by the share of the protective insulation.


Fig. 1.25. Reinforced insulation at two-pole voltage tester

The insulation material used for protective insulation must have a sufficient breaking strength, high insulating capacity and ageing resistance. There are further high requirements on dimensional stability and corrosion as well as flame resistance. If due to overloading the protective insulation should be damaged, repairs will have to be done with original material only. Patching up the protective insulation provisionally is not permitted.

To protectively insulated electrical equipment no protective conductors are being connected, and there must be no connection points for protective conductors. The connecting flexible lines must not be provided with a protective conductor. Electrical appliances with protective insulation are recognized by two squares placed one inside the other on the rating plate or being well visibly impressed on casing parts of these appliances.


Fig. 1.26. Marking of electrical appliances with protective insulation

1.4.2. Protective low voltage

The protective low voltage is the most effective and safest protective measure against too high a contact voltage. It offers protection even on touching live parts. Its effectivity is based on reducing the service voltage to values being not dangerous to the human body:

-

for contact with active parts,

25 V ac volt.


i.e. non-insulated live parts

50 V dc volt.

-

for contact voltages on conductive

50 V ac volt.


parts in case of fault

120 V dc volt.

These voltages are too low to harm a human’s health. For maintaining the full efficiency of the protective measure the requirements put up for its application roust be met. The most important demand on devices used for generating protective low voltages is:

These devices are to have windings being separated from each other on the primary and secondary side (transformers with galvanically separated windings).

For generating protective low voltages

- short circuit-proof transformers with windings electrically separated from each other,
- motor-generators,
- converters with electrically separated windings,
- accumulator plants and galvanic cells

are being used.

On the other hand, autotransformers have tapped windings and must therefore never be used for generating a protective low voltage. The danger caused for equipment and persons in case of a defect at the autotransformer is illustrated by fig. 1.27. In partial fig. 1 the incandescent lamps will blow due to inter-turn-short-circuit in the autotransformer.


Fig. 1.27. Consequences of wrongly employing an autotransformer in generation of low protective voltage

1 on inter-turn short-circuit blowing of lamps, 2 on rupture of conductor there will be mortal danger

In partial fig. 2 there is mortal danger to the person shown, if the total mains voltage will be bridged by conductor rupture and contact to live parts.

Electrical equipment operated by protective low voltage has neither got connection points for protective conductors, nor must protective conductors be connected. Likewise earthing of conductors within circuits of protective low voltage will not be permitted. Under no conditions must conductors of the protective low voltage circuit be connected to conductors of other circuits or be placed together with them into a common sheath (e.g. a cable). Possible consequences would be dangerous voltage transfers into the circuits of protective low voltage.

For avoiding a mix-up with systems of higher rated voltages, electrical hand devices with protective low voltage (e.g. drilling machines or hand-lamps) have got special plugs. These do not fit into sockets for systems of higher rated voltage.


Fig. 1.28. Two-pole socket for protective low voltage.

This protective measure is applied where the existence of too high a contact voltage would result in a mortal current, e.g. for lighting or operation of electrical hand devices in erection pits and in locations consisting of conductive materials like boilers, big containers or pipelines.

Although protective low voltage is considered to be the safest protective measure, its application is limited. Caused by the reduced rated voltage the operating currents are about 5 to 10 times higher than e.g. for 220 ac voltage. This results in considerably higher conductor cross sections for protective low voltage systems and their electrical devices. That is why protective low voltage systems are only operated for outputs of about 4 kVA. As in case of protective insulation, electrical appliances for protective low voltage are marked by symbols. A general marking of all electrical equipment on the rating plate is not required.


Fig. 1.29. Marking of electrical appliances for protective low voltage

1 protective transformer, 2 short-circuit-proof protective transformer, 3 limited short-circuit-proof protective transformer, 4 appliances for protective low voltage, 5 autotransformer

1.4.3. Protective isolation

Protective isolation holds an eminent position among the protective measures. It has much in common with protective low voltage. As in case of protective low voltage the transformer must have windings which are electrically separated from each other, and the service circuit must not be earthed either.

The important difference is that the protectively isolated circuit may be operated at any rated voltage up to 380 V three-phase current, but only one electrical device must be connected. Exemptions from this rule are permitted only if the connected electrical devices are operated with potential equalization lines and are placed on a base.

The mode of action of protective isolation is that in the case of the electrical isolation of a non-earthed circuit from the feeding lines (mains) the fault current circuit cannot close.


Fig. 1.30. Effective protection by protective isolation with connection of a potential equalization line to the socket’s earthing contact and to the metallic location

1 Marking on the rating plate of an isolating transformer

A condition for voltage generation in case of the protective measure protective isolation is use of a

- protectively insulated isolating transformer with electrically separated windings on the primary and secondary side,

- motor-generator,

- converter with windings being also separated from each other.

When working with portable electrical devices in metallic environments a potential equalization line between equipment and location must be installed as shown in fig. 1.30. If this potential equalization line in being installed without mechanical protection, then copper wire of a minimum cross section of 4 mm2 will have to be taken.

For connecting electrical appliances to the isolating transformer, lines as short as possible will have to be used. These lines are especially to be protected against damage to their insulation. This holds e.g. for passing lines through doors with metallic frame, since the lines could be damaged when closing the door.

Lack of potential equalization lines and the occurrence of two faults at different conductors of the lead-in may result in a dangerous contact voltage. Protectively isolated circuits must never be connected to conductors of other circuits.


Fig. 1.31. Uneffective protective isolation in case of missing potential equalization

1 path of fault current via the fault current circuit: faulty appliance-person-ground, to faulty second conductor.

The main field of applying the protective isolation is working with electrical tools in zones of conductive construction materials. Further this protective measure is successfully employed for operation of physiotherapeutical appliances in medical care as well as razor socket outlets in lavatories of passenger trains.

1.4.4. The protective conductor system

There are instances when the occurrence of a fault in the plant must not have consequences or lead to disconnection of the faulty phase conductor. This can be the case in electrical systems of mines, chemical industries with continuous processes or of electromedical machinery in operation theatres of hospitals.

Also in case of a line-to-earth fault or fault of frame there is an interest to continue the operation without compromising as to labour safety.

This is possible only by applying the protective measure protective conductor system.

The interconnection of all conductive parts of the plant causes potential equalization among the parts of the plant and the natural earthing electrodes.


Fig. 1.32. Mode of action of protective conductor system

1 overvoltage protector, 2 monitoring device, 3 construction parts, 4 pipeline systems

If an insulation fault appears the resulting fault potential will spread to the overall system. Since there is no direct system earthing the fault circuit cannot close. The direct earthing of a point of the network is prevented by installing a so called overvoltage protector. This is called an IT-network. No contact voltage can occur. In case of the line-to-earth fault of one conductor the electrical system continues to operate. However, if a second insulation fault arises in another phase conductor, both faulty conductors will be shortcircuited. Now the protective conductor system will work like the protective measure neutralization, i.e. the fuse in the fault circuit with the lowest rated amperage will respond. The system can continue to operate.

For keeping the operator of the electrical plant informed at all times a monitoring system is connected to the protective conductor system. By optical or acoustic signals it will indicate existing insulation faults. The defect arisen must be searched for and eliminated without delay.

A condition for this protective system to work is that any earthing in the system circuit is to be avoided. On the other hand all electrically conductive parts of the plant (casings) not pertaining to the operation circuit are connected to the touchable metal parts of the plant like pipeline systems, metal doors, plate ducts. This interconnection of all touchable conductive parts is called potential equalization as will be known from section 1.3.4.

It is also important that the protective conductor is not connected to the system’s neutral conductor. In this case the protective measure would not function.

For effecting faults on two phase conductors to cause short-circuits no individual earthing of the system must be performed. The max. value of the protective conductor’s earth resistance is 20W. This value warrants proper spreading of the fault potential to the overall plant.

The insulation condition will be monitored by the monitoring device. At a minimum value of 25W/V of the insulation the monitoring device will respond.

The point of the network earthed via an overvoltage protector is very important for the function of this protective measure. The electrode insert of the overvoltage protector interrupts the system earth at the earthed point of the network.


Fig. 1.33. Overvoltage protector

1 screw cap, 2 electrode insert, 3 base, 4 earth connection by means of bolt M6, 5 connection of neutral conductor

The electrode insert will break down only, when a high voltage is transferred to the low voltage side (lightning stroke or defect in transformer). Then the electrode insert of the over-voltage protector will become conductive. This is recognized by the change in colour of the colour-ring at the identification label of the overvoltage protector. After the electrode insert has responded, the protective conductor system will work like the protective measure neutralization.

1.4.5. Protective earthing

The protective measure protective earthing is really the oldest protective measure. Its effectiveness is based on all electrically conductive parts of the system which may come under voltage in case of fault and which do not pertain to the operating circuit being connected to the earthed protective conductor. In case of a fault, a fault current flows via the lead-in, point of fault, protective earth electrode, ground to the system earth of the voltage generator or transformer. The faulty phase conductor or circuit will be interrupted if the fault current exceeds the interrupting current of the next back-up fuse.

For protection of persons in stationary electrical systems the clearing time may be max. 5 seconds. At portable electrical equipment the fuse must respond within 0.2 seconds in case of fault!

A clearing time of 0.2 seconds in case of fault requires relatively high interrupting currents. They should be at

- instantaneous fuses at least the 4 - 6 fold
- time-delay fuses at least the 6-8 fold of the rated fuse current.

Basically two versions of the protective measure protective earthing are being discerned:

- protective earthing with return of the fault current via the ground,
- protective earthing with return of the fault current via metallic conductors like waterpipe networks or cable sheaths.


Fig. 1.34. Protective earthing with return of fault current via the ground in a three-phase three-wire system (TT-network)

1 transformer station, 2 main fuses. 3 current meter


Fig. 1.35. Protective earthing with return of fault current via metallic conductors (TT-network)

1 transformer station, 2 main fuses, 3 current meter

In case of applying protective earthing with return of the fault current via the ground, several electrical appliances may be connected to a common earthing electrode. For this type of protective earthing it is not permissible to use the protective measure neutralization in part of the electrical system for safety reasons. Protective earthing with return of the fault current via metallic conductors may be applied only if adhering to the legal regulations. Otherwise the same conditions are valid for using metallic conductors as for application of natural earthing electrodes according to section 1.1.

A particularity will be found when applying protective earthing to three-phase networks with three conductors. In this case one of the phase conductors will be earthed. Therefore the ground obtains the potential of the earthed phase conductor.

The earthed phase conductor will have no main fuse.

Applying protective earthing is quite simple. The protective conductor is connected to the protective conductor’s terminal at the electrical equipment. The cross section of the protective conductor depends on its method of installation. The minimum cross sections are as per table 1.3.

Protective earthing is widely used in systems being not suited for neutralization. However it is more and more replaced by the protective measure current-operated earth-leakage protection. Moreover, protective earthing has some considerable disadvantages:

- the earth transition resistance is subject to variations due to climatic effects,
- the required earth transition resistances can be achieved at great expense only,
- by one-pole switching off of three-phase current consumers’ installations electrical equipment may be damaged, e.g. windings of motors.

1.4.6. Neutralization

Neutralization is an “onward development” of protective earthing. Instead of via the ground the fault current is returned via the neutral conductor with protective function (PEN), in the following called neutral conductor.

The mode of action of neutralization is similar to protective earthing. A fault of frame occurring in case of fault is being converted into a one-pole short-circuit by the connection casing-neutral conductor. The next back-up fuse will respond interrupting the faulty phase conductor. The faulty electrical equipment will be one-pole interrupted.

For reducing the resistance of the neutral conductor, foremost in the instance of large conductor lengths, the neutral conductor will be earthed at the spur lines. By this, moreover, a limited protection in case of the neutral conductor’s rupture is achieved.


Fig. 1.36. Neutralization in a three-phase four-wire network (TN-S-network)

1 transformer station, 2 main fuses, 3 neutralization bar, 4 current meter

The protective measure neutralization will be rendered ineffective if too powerful fuses are inserted. Thereby the faulty phase conductor will not be interrupted quickly enough and the fault voltage will continue to be applied to the faulty equipment. The neutral conductor roust under no conditions be fused or be separately switchable. If the neutral conductor is switched together with the phase conductors the protective contact will have to close first and to open last. This must be warranted, e.g. in case of connectors with earthing contact.

There will be great danger in the instance of a rupture of the neutral conductor behind the last system earthing. Then the part of the electrical equipment to be protected will adopt the full mains voltage against earth.


Fig. 1.37. Rupture of neutral conductor in front of a socket with earthing contact

This risk is best avoided by applying a TN-C-S-network according to fig. 1.12.

The neutral conductor is placed in a common sheath together with the phase conductors, e.g. in a cable or tube. When connecting the neutral conductor to electrical equipment, first the protective function has to be accomplished, and only thereafter it will be connected to the operating contact.


Fig. 1.38. Loops of the neutral conductor at a lighting fitting

At the electrical equipment the neutral conductor must be bridged uncut from the protective contact to the operating contact!

Due to its simplicity and cheapness the protective measure neutralization is employed in all fields of electrical current. Its protective value is undoubted.

1.4.7. Current-operated earth-leakage protection

The current-operated earth-leakage circuit breaker is highly sensitive. It responds to release current intensities in the mA-range independent on the size of the fault voltage. The mode of action of the current-operated earth-leakage protection rests on H. Kirchhoff’s first current law.

If the operating current of a consumer’s installation is directed via the cumulative current transformer of the current-operated earth-leakage circuit breaker the sum of the currents flowing in both directions will be zero. No voltage is induced in the cumulative current transformer of the current-operated earth-leakage circuit breaker.

In case of a fault of frame the arising fault current will leak via the ground. The flow balance in the cumulative current transformer will be disturbed. In the transformer’s core a magnetic alternating field will appear. In the secondary winding of the transformer a voltage will be induced resulting in a current flow via the release coil of the current-operated earth-leakage circuit breaker. After having reached the rated fault current of the current-operated earth-leakage circuit breaker it will disconnect the faulty plant within fractions of a second (<< 0.2 seconds) at all poles.

Current-operated earth-leakage circuit breakers are manufactured for the rated fault current intensities 15 mA. 30 mA, 80 mA. 100 mA. 200 mA, 300 mA and 500 mA. In case of very small rated fault current intensities current-operated earth-leakage circuit breakers will offer a limited protection on contact to parts carrying voltage under operation. Application of the current-operated earth-leakage protection is even possible to insulated networks (IT-networks) of great extension. In this instance the fault current circuit will close via the conductor-to-earth capacitance. The current-operated earth-leakage circuit breaker may happen not to respond in such networks. However, this will not be dangerous since no fault current will flow.

To 4-pole current-operated earth-leakage circuit breakers alternating current as well as three-phase current consumer’s installations may be connected. The neutral conductor must also be led via the current-operated earth-leakage circuit breaker. All parts of the plant to be protected are being connected to and earthed by a separate protective conductor (PE) which is installed throughout the electrical system.

The protective conductor (PE) is to be insulated against the neutral conductor (N) behind the current-operated earth-leakage circuit breaker!


Fig. 1.39. Application of current-operated earth-leakage protection in a three-phase four-wire network (TN-C-network)

1 transformer station, 2 current-operated earth-leakage circuit breaker, 3 fault current release, 4 cumulative current converter, 5 test key, 6 test resistor.

In IT-networks the parts of the plant to be protected are also to be earthed together. Otherwise the occurrence of two faults of frame in different phase conductors may cause a precariously high contact voltage.

The resistance of the earthing system of the current-operated earth-leakage protection must not exceed the value

As a future protective measure “quick neutralization” is to be considered. Its protective value is supposed to be very high, By combining the two protective measures “neutralization” and “current-operated earth-leakage protection” extremely short breaking times will be achieved. Foremost this is important for electrical systems with long spur lines, for which maintaining the neutral conductor’s required max. resistance offers great problems. This is also valid for electrical systems in which a sufficiently high interrupting current cannot flow in the instance of a one-pole fault.


Fig. 1.40. Application of “quick neutralization”

Attention has to be paid that the current-operated earth-leakage circuit breaker will only respond in case of faults of frame, but not in case of short-circuit.

The current-operated earth-leakage protection is employed in all alternating current and three-phase networks independent of the network type.

The current-operated earth-leakage protection can also be applied to three-phase networks without earthed network point

1.4.8. Voltage-operated earth-leakage protection

This protective measure has become much less important since introduction of the current-operated earth-leakage protection. In favour of current-operated earth-leakage protection it is not any longer employed in electrical plants to be newly constructed. However, it is still working in some older systems.

This protective measure is similar to protective earthing, but its release in case of fault is not directly taking place via the connection between the parts of the plant to be protected and the ground, but at all poles via a release coil.

Its mode of action is based on a voltage-operated earth-leakage circuit breaker monitoring the circuit between the parts of the plant to be protected and an auxiliary earthing electrode.

In the instance of a fault of frame voltage will be applied to the voltage-operated earth-leakage circuit breaker. If the fault potential exceeds a certain minimum value the voltage-operated earth-leakage circuit breaker will respond, interrupting the circuit on all poles.

This protective measure will become ineffective when bridging the voltage-operated earth-leakage circuit breaker. Therefore, at the electrical equipment to be protected by voltage-operated earth-leakage circuit breaker compulsory isolations against the earth potential are to be provided. At electrical water heaters e.g. plastic connections are fitted to the waterpipes.

The protective conductor and the auxiliary earth lead must be installed in a protected way, the protective conductor being well insulated against earth!


Fig. 1.41. Application of voltage-operated earth-leakage protection at an electrical storage water heater

1 metal case, 2 fault voltage circuit breaker, 3 insulation spacer, 4 insulation pipe, 5 water pipeline, 6 protective conductor, 7 auxiliary earth lead

The waterpipe network may be used as an auxiliary earthing electrode. Connection of auxiliary earth leads to lightning arrester systems is not permitted.

When installing voltage-operated earth-leakage circuit breakers the monitoring instruction of the makers will have to be adhered to. Lead-in and lead-out must not be mixed up.

The resistance of the auxiliary earth lead may be max. 800W.

1.4.9. The isolating current-operated earth-leakage protection

This protective measure is mostly applied in ship-building. It works similarly to the current-operated earth-leakage protection, the difference being in principle that the system is operated via an isolation transformer, the neutral point of the transformer’s secondary side being earthed via a coil, This coil is connected as a voltage divider limiting the fault current to 7 mA.

In case of fault, the fault current will flow via the current coil of the isolating current-operated earth-leakage circuit breaker which will be excited thereby and disconnect the system. The circuit breaker will disconnect the system at a fault current of 6 mA alternating current and 10 mA direct current resp. on all poles.

Live service conductors must not be earthed when applying this protective circuitry.

On the other hand, all conductive parts of the plant not pertaining to the operating circuit via which a fault current can flow are to be connected to protective earthing.

The protective conductor is to be earthed in the vicinity of the supply unit. For systems on ships it is to be connected to the metallic hull of the ship.

In principle the protective conductor is to be isolated from the lines in front of the isolation transformer!

In case of this protective circuit attention has to be paid further to

- the resistance of the protective earthing is not to exceed 500 ohms

- the insulation resistance between a conductor and the protective conductor must not be less than 20 kOhms and

- the capacitance between conductor and earth is not to exceed 100 Nanofarad.


Fig. 1.42. Isolating current-operated earth-leakage protection

1 supply unit, 2 isolating transformer, 3 capacitance, 4 resistor, 5 voltage dividing coil, 6 current coil of the isolating current-operated earth-leakage circuit breaker, 7 test resistor, 8 test key, 9 protective conductor, 10 socket for testing purposes, 11 earth resistance, 12 motor.

1.5. Conduct after electrical accidents

In spite of instructions and extensive measures ever again electrical accidents are happening caused by absent-mindedness and thoughtlessness.

Though in accident-statistics the share of electrical accidents is one of the smallest, the number of mortal accidents caused by electrical current is very high due to the dangerousness of electricity. It should be understood by everyone that any contact to live parts of installations in switchgear and other electrical installations - even at home - can mean serious harm to the health of the person concerned.

After an electrical accident should have happened, immediately steps are to be taken to keep the consequences of the accident at a minimum. The first step is to free the person met with an accident from the circuit. For that purpose it will be necessary to break the accidental circuit:

- switch-off the light or machinery switch
- unscrew the concerned fuse or main fuse
- break the master switch
- in an emergency, cause a short-circuit between the place of accident and the supply point.

If disconnecting the switchgear is not possible within the shortest time, the person concerned will have to be dragged from the location of accident. The person met with an accident will not be able any more to save himself as already a current of 20 mA will suffice to cramp the muscles in such a way as to make it impossible for him to perform coordinated movements. The saver has to bear in mind to insulate himself against live parts.

The person met with an accident must never be touched with bare hands since thereby the saver himself will be exposed to the highest mortal danger at once!

After saving the person concerned and bedding him, the extent of the accident will have to be ascertained and immediately first aid will have to be given.

Serious accidents will frequently cause unconsciousness. Therefore the breathing activity and heart function are to be examined at once. Even if these important indications of life cannot be traced, death of the person met with an accident must not be assumed. Immediately steps for reanimation like artificial respiration and heart massage have to be started.

Additional helpers will have to organize medical aid and transport.

If need be, reanimation must be continued for hours. It may be abandoned only in case there are signs of returning life or if a physician orders abandonment of the reanimation endeavours!


Fig. 1.43. calling for medical aid and preparing transportation


Fig. 1.44. Heart massage and simultaneous mouth-to-nose respiration

Even if the person met with an accident has not become unconscious he must obtain medical care at once. The person shall rest in a sitting or lieing position until the ambulance car arrives. Never must the person met with an accident be left alone or walk himself to a physician. This is not permitted, because even after hours have passed the person concerned may become unconscious due to the shock effect of the electrical current, or the highly dangerous trembling of the heart ventricles may arise leading to the stop of the blood circulation.

Besides treatment of the primary effects of the electrical current on the body, of course, the secondary injuries like burns and bone fractures are to be looked after, too.

After the person met with an accident has been taken care of, the place of accident has to be made safe, i.e. will have to be blocked. This is essential, partly to prevent spectators from entering the area of accident and partly to ease the work of enquiry into the accident which is to ascertain the causes of the accident.

From the variety of relief steps to be taken after an electrical accident has occurred it is to be deduced that a fitter must be instructed about the emergency measures to be taken immediately after an electrical accident. The instructions on labour safety to be performed in regular intervals will offer an excellent occasion for that purposes. Further each fitter must know the telephone number of the physician on duty for emergencies resp. where this number can be obtained, where the next stretcher and first aid kit can be found and which workmate has got a training in first aid. The fitter should also be instructed about how to extinguish fires in electrical plants, because many serious accidents are accompanied by fire in electrical plants.

The know-how of the helper about emergency measures to be taken after an electrical accident is determining the success of relief measures in a decisive way!

1.6. Summary

By earthing systems the current is leaked via the ground. According to function there will be discerned:

- system earthing electrodes
- protective earthing electrodes
- auxiliary earthing electrodes
- control earthing electrodes.

For warranting good conductivity between earthing electrode and ground the following principles are to be observed:

- the earthing electrode must be placed 0.70 m into the ground at least
- the soil around the earthing electrode is to be stamped resp. to be jetted
- the earthing electrodes are to be cleaned from all contaminations.

Protective conductors will form the connection between conductive parts of the plant not pertaining to the operating circuit which may become voltage-carrying in case of fault and the earthed point of the system resp. the earthing electrode. Protective conductors are marked green-yellow.

Protective measures against too high a contact voltage are to be applied under all conditions if the rated voltage exceeds 50 V alternating voltage, or 100 V direct voltage.

The following protective measures against too high a contact voltage are discerned:

- protective measures without a protective conductor (protective insulation, protective low voltage, protective isolation),

- protective measures with protective conductor (protective conductor system, neutralization, protective earthing, current-operated, voltage-operated, isolating current-operated earth-leakage systems).

After an electrical accident has occurred steps are to be taken at once to keep the consequences of an accident at a minimum. Persons met with an electrical accident are to be considered as being seriously injured.

Also in case of persons being apparently lifeless they are not assumed to be dead. Reanimation measures (artificial respiration and heart massage) must be continued until there are clear signs of returning life, or until a physician orders the reanimation measures to be terminated.

The helper will have to conduct himself as not to be hit by the impacts of the electrical current.

The following emergency measures may be called for after an electrical accident and should be mastered:

- finding and saving the person met with the accident,
- giving first aid and calling medical help.
- artificial respiration of the person concerned,
- carrying out heart massage
- preparing a person met with the accident for transportation.

TO PREVIOUS SECTION OF BOOK TO NEXT SECTION OF BOOK