Back to Home Page of CD3WD Project or Back to list of CD3WD Publications

PAGE PRÉCÉDENTE TABLE DES MATIÈRES PAGE SUIVANTE


Section 4: Conditionnement et matériaux d'emballage


Méthodes de conditionnement
Conteneurs de conditionnement
Méthodes d'emballage
Étiquetage
Modularisation (normalisation) des conteneurs
Emballage à atmosphère modifiée (MAP)
Charges unitaires

Pour une manutention facile lors du conditionnement des fruits et légumes, des cartons généreusement paraffinés, des caisses de bois ou des cageots de plastique rigide sont préférables à des sacs ou à des paniers, puisque ceux-ci n'offrent de protection aux produits quand ils sont superposés. On peut parfois renforcer ou doubler des conteneurs de fabrication locale pour offrir aux produits une protection supplémentaire. Bien que les cartons paraffinés, les caisses de bois et les cageots de plastique soient plus chers, ils sont réutilisables et résistent des humidité élevée qui règne souvent dans l'environnement de stockage. Pour obtenir les meilleurs résultats, le remplissage des conteneurs doit être dosé ni trop ni peu rempli. Quand il ne l'est pas assez, les produits risquent de vibrer les uns contre les autres et d'occasionner des dégâts; par contre, trop rempli les conteneurs subîme a cause de la compression. Des journaux déchiquetés constituent un rembourrage léger et bon marché pour les conteneurs d'expédition (Harvey et autres, 1990).

Pour les manutentionnaires travaillant sur une petite échelle et qui songent à fabriquer leurs propres conteneurs à partir de carton dur ondulé, Broustead et New (1986) offrent des renseignements détaillés. Plusieurs types de fibres agricoles se prêtent à la fabrication du papier (Hunsigi, 1989) et les manutentionnaires trouveront peut-être qu'il est rentable d'inclure ces activités dans leur système post-récolte.

Tant au long du système de la manutention, l'emballage peut être à la fois un apport utile et un obstacle à l'obtention au maximum de qualité et de durée de vie pendant stockage. Les emballages doivent être ventilés, mais aussi assez solides pour empêcher l'affaissement. Un paquet affaissé n'offre que peu ou pas de protection, le contenu supporte tout le poids de la charge qui le surmonte. L'emballage est censé protéger le produit en l'immobilisant et en l'amortissant, mais si les matériaux d'emballage bloquent les ouvertures de ventilation, le contrôle de la température en souffrira. Les matériaux d'emballage jouent parfois le rôle de barrière à la vapeur, et, dans ce cas, ils contribuent au maintien d'une humidité relative plus élevée dans le paquet. En plus de la protection, remballage permet un maniement rapide au cours de la distribution et peut minimiser les effets d'un maniement peu soigneux.

On peut emballer les produits à la main pour créer un paquet attrayant, souvent à raide d'un nombre fixe d'unités de grandeur uniforme. On peut ajouter des matériaux d'emballage tels que plateaux, godets, enveloppements, doublures et rembourrages, pour aider à immobiliser les produits. De simples systèmes d'emballage mécanique utilisent souvent la méthode de remplissage à volume donné, dans laquelle on place les produits triés dans les boîtes, et puis ils sont tassés par vibration. La plupart des machines à remplissage à volume donné sont conçues pour estimer le volume à partir du poids. Les derniers réglages se font manuellement (Mitchell dans Kader, 1992)

L'emballage dans des feuilles de plastique peut modifier l'atmosphère autour des produits (emballage à atmosphère modifiée ou MAP en anglais). Le MAP limite généralement le mouvement de l'air ce qui permet aux processus normaux de respiration des produits fermiers de réduire le taux d'oxygène et d'élever le taux du gaz carbonique à l'interior de l'emballage. La réduction des pertes d'eau est un autre grand avantage de l'usage des feuilles de plastique.

On peut employer la méthode MAP à l'intérieur d'un conteneur d'expédition comme à intérieur d'unités de consommation. On peut provoquer la modification atmosphérique en créant un peu de vide dans un paquet étanche (tel qu'un sac de polyéthylène non-ventilé) et en remplaçant ensuite l'atmosphère du paquet par le mélange de gaz désiré. En général, la plupart des produits agricoles profitent d'une baisse d'oxygène et une augmentation de la concentration de gaz carbonique (voir le tableau de mélanges de gaz recommandés pour certaines produits horticoles, Section 7.) La choix de la combinaison type de polymère et dimension pour chaque produit dépend de la perméabilité du filme, de la duree du stockage, et du taux de respiration du produit dans les conditions de température pendant la manutention. On peut mettre des produits absorbant l'oxygène, le gaz carbonique et/ou l'éthylène à l'intérieur des paquets ou conteneurs pour maintenir la composition atmosphérique désirée.

Il faut toujours considérer l'emballage à atmosphère modifiée comme un supplément à une bonne gestion de la température et de l'humidité relative. Pour chaque espèce de fruit ou de légume, les différences entre des concentrations bénéfiques ou nuisibles d'oxygène et d'anhydride carbonique sont relativement faibles; il faut donc être extrêmement prudent dans l'usage de ces technologies.

Méthodes de conditionnement

La station de conditionnement illustrée par le schéma ci-dessous pourra être ratadiée à une autre station du même modèle si l'on a besoin de plus de place pour conditionner les fruits et légumes. Quand il est nécessaire de parer les produits, il faudrait ajouter une planche détachée, assez épaisse pour dépasser la hauteur du bord de devant. Ce bord devrait être lisse et arrondi.

Source: Grierson, W. 1987. Postharvest Handling Manual. Commercialization of Alternative Crops Project (Manuel de manutention post-récolte. Projet de commercialisation de cultures alternatives). Belize Agribusiness Company/Chemonics International Consulting Division/USAID.

On peut construire une simple station de conditionnement en plein champ à l'aide de pieux de bois et d'une feuille de polyéthylène. Du chaume sur le toit donnera de l'ombrage et gardera la station fraiche. Il faudra orienter cette station pour que la saillie du toit arrête la plupart des rayons du soleil.

Source: Grierson, W. 1987. Postharvest Handling Manual. Commercialization of Alternative Crops Project. (Manuel de manutention post-récolte. Projet de commercialisation de cultures alternatives). Belize Agribusiness Company/Chemonics International Consulting Division/USAID.

Une méthode typique: aprés lavage pour éliminer le latex, et parfois pulvérisation de fongicides, les régimes de bananes sont placés dans des boîtes en cartons doublé de polyéthylène. Noter qu'on replie la doublure de polyéthylène sur les bananes avant de fermer la boîte.

(a) Banane large, de petite à moyenne à plat milieu du compartiment

(b) Banane large, de longueur moyenne au dessus, la couronne ne touche pas le fruits en dessous

(c) Banane large, de petite à moyenne, la couronne ne touche pas les fruits en dessous

(d) Un seul groupe de banane, ou deux portions avec de fruits longs

Source: FAO. 1989. Prevention of Postharvest Food Losses: Fruits, Vegetables and Root Crops. A Training Manual. (Prévention des pertes d'aliments après la récolte: fruits, légumes et légumes-racines. Un manuel de formation) Rome: UNFAO, 157 pp.

On peut se servir d'une table ronde et tournante pour conditionner une variété de produits. L'emballage des produits se fait à l'aide d'un convoyeur si il est disponible (si non, on met les produits directement sur la table), où les conditionneurs font la sélection et remplissent les boîtes de carton à leurs stations respectives. Dans l'illustration ci-dessous, on a ajouté une bande de rejets au-dessous de la bande d'apport, pour faciliter l'élimination des produits de rejets.

Chaque conditionneur peut travailler indépendamment. Il/elle pare les fruits et légumes quand il le faut et vérifie le poids de temps à autre.

Source: National Institute of Agricultural Engineering. 1979. Preparing vegetables for supermarkets. (Préparation des légumes pour les supermarchés). Field Vegetable Department, Silsoe, Bedford: NIAE

Conteneurs de conditionnement

Il y a beaucoup de types de conteneurs de conditionnement. Les trois conteneurs illustrés ci-dessous sont faits de carton ondulé. Le conteneur ordinaire à fentes, entièrement pliant, est le plus économique.

Les conteneurs télescopiques (à moitié ou entièrement) ont le maximum de rididité et protègent contre le gonflement, mais ils sont plus coûteux.

Ce conteneur, appelé une boîte de Bliss, a des coins très solides mais n'est pas pliant.

Source: Peleg, K. 1985. Produce Handling, Packaging and Distribution. (Manutention, emballage et distribution des produits fermiers) Westport, Connecticut: A VI Publishing Co., Inc.

On utilise souvent des sacs pour emballer les fruits et légumes, puisqu'ils sont généralement peu coûteux et faciles à trouver. On trouvera dans le tableau ci-dessous des informations sur les caractéristiques des diverses matières dont sont faits les sacs.

Caractéristiques des sacs

Type de sac

Déchirement

Protection contre:

Impact

Humidité

Insectes

Notes

Jute

Bon

Bon

Aucune

Aucun

Biodégradation
Rétention d'odeur
Contient des insectes

Coton

Moyen

Moyen

Aucune

Aucun

Grande valeur de réemploi

Plastiques tissés

Moyen

Bon

Aucune

Qlqs-uns

Dégâts par lumière U.V.
Difficile à coudre

Papier

Pauvre

Pauvre

Moyenne

Qlqs-uns

Qualité constante

Source: Walker, D.J (Ed.) 1992 World Food Programme Food Storage Manual. (Manuel de stockage des aliments du Programme mondial d'alimentation) Chatham, Royaume-Uni: Natural Resources Institute

Il est facile de fermer les sacs en papier ou en tissu à l'aide de fil métallique solide et d'un retordoir.

Source: FAO. 1985. Prevention of Post-Harvest Food Losses: A Training Manual. (Prévention des pertes d'aliments post-récolte: Un manuel de formation). Rome UNFAO, 120 pp.

On trouvera dans le tableau ci-dessous des exemples de quelques types de dégâts mécaniques et de leur effet sur les conteneurs d'emballage.

Type de dégât

Récipient

Résultats

Facteurs importants

Chute

Sacs

Déchirure des coutures

Solidité des coutures

Boîtes en carton

Distorsion

Méthode de fermeture

Déchirure des coutures
Ouverture des rabats

Résistance à la crevaison

Caisses en bois

Distorsion

Attaches

Cassure des joints

Rigidité du bois

Compression

Boîtes en carton

Distorsion
Déchirure des bords

Résistance à la compression

Vibration

Boîtes en carton

Distorsion
Perte d'amortissement

Résistance à la compression

Déchirement/accrochage

Sacs

Renversement

Résistance au déchirement

Source: Walker, D.J. (Ed.) 1992 World Food Programme Food Storage Manual. (Manuel de stockage des aliments du Programme mondial d'alimentation) Chatham, Royaume-Uni: Natural Resources Institute.

Les schémas ci-dessous représentent divers conteneurs de carton dur d'usage courant. On peut modifier les dimensions finales selon les besoins du manutentionnaire.

Boîte d'une pièce:

Boîte deux-pièces avec couvercle:

Boîte de type Bliss:

Source: McGregor, B. 1987. Tropical Products Transport Handbook. (Manuel de transport de produits tropicaux). USDA, Office of Transportation, Agricultural Handbook Number 668.

Les schémas ci-dessous représentent divers conteneurs de carton dur d'usage courant. On peut modifier les dimensions finales selon les besoins du manutentionnaire.

Boîte complètement télescopique:

Boîte télescopique d'une pièce:

Boîte d'une avec couvercle repliable:

Source: McGregor, B. 1987. Tropical Products Transport Handbook. (Manuel de transport de produits tropicaux). USDA, Office of Transportation, Agricultural Handbook Number 668.

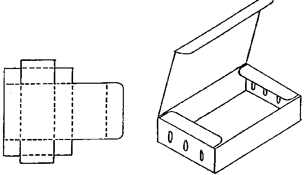
Les schémas ci-dessous représentent divers conteneurs de carton dur. On peut modifier les dimensions finales selon les besoins du manutentionnaire.

Caissette à fermeture automatique:

Boîte à enclenchement:

Source: McGregor, B. 1987. Tropical Products Transport Handbook (Manuel de transport de produits tropicaux). USDA, Office of Transportation, Agricultural Handbook Number 668.

L'utilisateur peut concevoir et fabriquer des conteneurs d'expédition en carton dur de toute taille et forme qu'il désire. On se sert couramment de trois sortes de joints pour la fabrication de boîtes solides.

Joints rubanés:

Joints collés:

Joints agrafés:

Source: Peleg, K. 1985. Produce Handling, Packaging and Distribution. (Manutention, emballage et distribution des produits fermiers) Westport, Connecticut: A VI Publishing Co., Inc.

On peut construire des conteneurs en bois et en fil métallique en suivant les schémas généraux ci-dessous. Un outil spécial de fermeture facilite le pliage des boucles de fil métallique sur le couvercle de la caisse. Les caisses assujetties par du fil métallique s'emploient pour de nombreux produits tels que les melons, les haricots, les aubergines, les légumes feuillus, les poivrons, les courgettes et les agrumes. Package Research Laboratory (41 Pine Street, Rockaway, New Jersey 07866, USA) peut vous fournir une liste de fournisseurs dans différentes régions des USA.

Bouts:

Cartridge pour le corps:

Source: Peleg, K. 1985. Produce Handling, Packaging and Distribution (Manutention, emballage et distribution des produits fermiers) Westport, Connecticut: A VI Publishing Co., Inc.

Une caisse peu profonde, en bois, est l'emballage typique pour le raisin de table. Cette caisse est très solide et garde longtemps sa rigidité à l'écrasement dans des conditions d'humidité relative élevée. On se sert aussi beaucoup de conteneurs en plastique rigide.

On replie souvent une doublure de papier sur le raisin avant de clouer le couvercle. Cette doublure protège les fruits de la poussière et de la condensation de l'eau. On peut, si on le désire, mettre auprès du raisin un emetteur du dioxyde de soufre et enveloppé de plastique, pour prévenir la décomposition. La plupart des produits autres que le raisin risquent d'être endommagés (décolorés) par les traitements au dioxyde de soufre.

On se sert aussi de caisses en plastique rigide ou en bois pour les asperges. Les tiges parées sont emballées en position verticale dans des caisses qui permettent une ventilation généreuse

Pour les fleurs coupées, les conteneurs sont souvent longs et étroits, de conception entièrement télescopique, avec des ouvertures aux deux bouts pour faciliter le refroidissement par ventilation forcée. L'aire totale des ouvertures de ventilation devrait représenter 5% de l'aire totale de la surface de la boîte. un volet de fermeture peut contribuer au maintien de températures fraîches au cas où il y aurait des retards temporaires dans le transport des boîtes ou un stockage dans un environnement ou la température n'est pas contrôlée.

Source: Rij, R. et autres. 1979. Handling, precooling and temperature management of cut flower crops for truck transportation. (Manutention, pré-refroidissement et gestion de la température pour le transport par camions des fleurs coupées). USDA Science and Education Administration, AAT-W-5, Leaflet 21058.

Une simple caissette de bois aux coins surélevés est superposable et permet une bonne ventilation pour les produits délicats telles que les tomates mûres.

Source: FAO. 1985. Prevention of Post-Harvest Food Losses: A Training Manual. (Prévention des pertes d'aliments post-récolte: Un manuel de formation). Rome: UNFAO. 120 pp.

Méthodes d'emballage

L'addition d'une plaque séparatrice carton dur à une boîte renforce sa solidité d'empilage. L'usage de plaques séparatrices est courant pour les produits lourds tels que les melons. Les plaques séparatrices évitent aussi le frottement des melons, les uns contre les autres pendant la manutention et le transport. L'addition de coins en bois, ou de carton plié en triangles, que l'on place dans les quatre coins, peut être particulièrement utile quand une boîte de carton a besoin de renforcement.

Planque séparatrice en carton:

Supports triangulaires pour les coins:

Source: McGregor, B. 1987. Tropical Products Transport Handbook. (Manuel de transport de produits tropicaux). USDA, Office of Transportation, Agricultural Handbook Number 668.

Quand les conteneurs fabriqués localement ont des angles aigus ou des surfaces intérieures rugueuses, on peut se servir d'une doublure de carton dur, simple et peu coûteuse, qui protègera les produits des dégâts de manutention.

Doublure de carton pour une caisse de nervures de palmes:

Source: Blond, R.D. 1984. The Agricultural Development Systems Project in Egypt (1979-83), (Le projet de systèmes de développement agricole en Egypte), USAID/Ministry of Agriculture, Egypt/University of California, Davis.

S'il faut employer de grands sacs ou paniers pour l'emballage en vrac de fruits ou de légumes, on peut se servir d'un simple conduite tubulaire pour réduire l'accumulation de chaleur causée par la respiration du produit. Dans l'illustration ci-dessous, on a utilisé un tube de bambou tressé environ un mètre de long pour ventiler un grand sac de piments.

Des pochettes de papier ou de plastique mince sont des matériaux d'emballage utiles pour protéger les fleurs coupées des blessures de manutention et de transport. Dans l'illustration ci-dessous, un manutentionnaire glisse une pochette sur un bouquet de fleurs avant de placer celui-ci dans une boîte de carton dur ventilé. Les pochettes protègent les fleurs et servent aussi à séparer les bouquets à l'intérieur de la boîte.

Source: Reid, M.S. 1992. Dans: Kader, A.A. (Ed.) Postharvest Technology of Horticultural Crops. (Technologie post-récolte des cultures horticoles). University of California, Division of Agriculture and Natural Resources, Publication 3311.

Étiquetage

L'étiquetage des paquets aide les manutentionnaires à suivre les produits dans leur acheminement le long du système post-récolte. 1:1 aide aussi les grossistes et détaillants à utiliser les méthodes correctes. On peut imprimer les étiquettes à l'avance sur les boîtes carton dur, ou les coller, les timbrer ou les imprimer au pochoir sur les conteneurs. La présence sur un emballage d'une étiquette portant une marque fait de la publicité pour l'agriculteur, le manutentionnaire et/ou les expéditeurs. Certains expéditeurs fournissent aussi des brochures qui décrivent en détail les méthodes de stockage ou offrent des recettes aux consommateurs.

Les étiquettes d'expédition peuvent comporter, en partie ou dans sa totalité, l'information suivante:

Nom d'usage commun du produit.
Poids net, nombre d'unités et/ou volume.
Marque.
Nom et adresse du manutentionnaire ou de l'expéditeur.
Pays ou région d'origine.
Taille et catégorie marchande.
Température de stockage recommandée.
Instructions spéciales pour la manutention.
Nom des cires et/ou pesticides autorisés que l'on a appliqués au produit.

Il est obligatoire d'étiqueter les emballages destinés aux consommateurs, selon les règles de la FDA (Administration des aliments et produits pharmaceutiques). L'étiquette doit inclure le nom du produit, son poids net et le nom et l'adresse de l'agriculteur, du manutentionnaire ou du distributeur.

Source: McGregor, B. 1989 Tropical Products Transport Handbook. (Manuel de transport de produits tropicaux). USDA, Office of Transportation, Agricultural Handbook Number 668.

Modularisation (normalisation) des conteneurs

Quand on emballe en même temps plusieurs boîtes de carton de taille différente, on peut faciliter considérablement les phases suivantes de la manutention par l'emploi de tailles standard. Quand les boîtes dont on se sert ne sont pas uniformes, il peut en résulter des piles instables, ou bien les plus lourdes peuvent en écraser les légères. Une charge instable risque de se renverser pendant le transport ou de s'affaisser lors du stockage.

Nous indiquons ci-dessous les tailles de conteneurs qui sont recommandées. Ces conteneurs font partie du programme "MUM" (Modularization [normalisation], Unitization [unités uniformes] et Metrication [conversion au système métrique]) préconisé par l'USDA (Ministère de l'agriculture). Ils peuvent tous être empilés selon une variété de configurations qui dépendent de leur taille, mais ils formeront toujours un chargement stable sur une seule palette de 1000 x 1200 mm (40 x 48 pouces).

Exemple de conteneurs MUM formant une charge de palette

Source: Ashby, B.H. et autres. 1987. Protecting Perishable Food During Transport by Truck. (Protection des denrées périssables lors du transport par camion). Washington D.C.; USDA, Office of Transportation, Agricultural Handbook No. 669.

Les illustrations suivantes montrent l'arrangement de divers conteneurs MUM sur une palette standard (1000 x 1200 mm ou 40 x 48 pouces). L'usage de conteneurs MUM peut faire gagner de la place pendant le transport et le stockage, car il permet d'employer les palettes à près de 100%.

Dimensions:
600 x 500 mm (23.62 x 19.69")
Pallet utilization: 100%

Dimensions:
600 x 500 mm (23.62 x 19.69")
Pallet utilization: 100%

dimensions:
600 x 400 mm (23.62 x 15.75")
Pallet utilization: 100%

dimensions:
500 x 333 mm (19.68 x 13.11")
Pallet utilization: 97%

dimensions:
500 x 333 mm (19.68 x 13.11")
Pallet utilization: 97%

dimensions:
500 x 300 mm (19.68 x 11.81")
Pallet utilization: 100%

dimensions:
475 x 250 mm (18.62 x 9.84")
Pallet utilization: 99%

dimensions:
475 x 250 mm (18.62 x 9.84")
Pallet utilization: 99%

dimensions:
433 x 333 mm (17.01 x 13.11")
435 x 330 mm (17.12 x 12.99")
Pallet utilization: 96%

dimensions:
400 x 250 mm (15.75 x 9.84")
Pallet utilization: 100%

dimensions:
400 x 250 mm (15.75 x 9.84")
Pallet utilization: 100%



Source: McGregor, B. 1989. Tropical Products Transport Handbook. (Manuel de transport de produits tropicaux). USDA, Office of Transportation, Agricultural Handbook Number 668.

Emballage à atmosphère modifiée (MAP)

Dans un emballage pour consommateurs: Si on a bien assorti le produit aux caractéristiques de perméabilité des feuilles de plastique, une atmosphère bien adaptée pourra se développer passivement par la consommation de O2 et la production de CO2 pendant la respiration (Kader, 1992). Certains emballages en plastique rigide sont conçus avec une fenêtre de diffusion de gaz.

La laitue qui n'a subi qu'une légère transformation (elle a été hachée ou râpée, par exemple) peut être emballée dans des sacs de plastique de 5 mil. Après avoir créé un vide partiel dans le sac, on y introduit un mélange de gaz comportant de 30 à 50% de O2 et de 4 à 6% de CO2. Le sac est ensuite hermétiquement fermé.

Sacs de plastique fermé.

A l'intérieur d'un conteneur d'expédition: On ajoute des feuilles de polyéthylène comme doublure dans les conteneurs d'expédition pour cageots de cerises. On se sert de sacs en polyéthylène pour des bananes destinées à la vente sur des marchés lointains.

Doublure en plastique

Sur une même palette: On peut conditionner hermétiquement une charge de fraises, placée sur une même palette, dans une enveloppe de protection formée d'un sac de polyéthylène de 5 mil et d'une feuille de plastique recouvrant la palette de base, rattachés par une large bande collante. On peut alors créer un vide partiel et ajouter 15% de CO2 à l'air avec un petit tuyau.

Charges unitaires

Parmi les expéditeurs et receveurs de produits agricoles nombreux sont ceux qui préfèrent charger et décharger des charges isolées sur palettes plutôt que des conteneurs d'expédition individuels. Le passage aux charges isolées a réduit la manutention et les dégâts (subis par les conteneurs comme par les produits) et permet un chargement et un déchargement plus rapides des véhicules de transport.

Si les petits manutentionnaires veulent adopter la méthode des charges isolées pour expédier des produits agricoles ils peuvent utiliser soit des palettes de bois soit des bâches pour la base de la charge. Pour stabiliser la charge il est utile de se servir de repères pour aligner les caisses (par exemple en plaçant la palette à charger contre le coin d'une salle ou en construisant un jeu de planches "bounce boards" si l'on charge la palette à l'extérieur). Une autre façon d'améliorer la stabilité de la charge isolée est de se servir de conteneurs de carton dur de plastique ou de bois avec des pattes verticales d'enclenchement. Les conteneurs doivent avoir des orifices de ventilation qu'on alignera quand on les empilera directement l'un sur l'autre. On peut mettre de la colle entre les couches de conteneurs pour empêcher la glissement et il est bon d'assujettir la charge au moyen d'un filet de plastique ou de courroies de plastique ou de métal. Enfin des "cornerboards" appuis faits de carton dur de plastique ou de métal ajoutent aussi à la stabilité d'une charge isolée.

Courroies et "cornerboards" sur une charge unitaire:

Source: McGregor, B. 1989. Tropical Products Transport Handbook. (Manuel de transport de produits tropicaux). USDA, Office of Transportation, Agricultural Handbook Number 668.

Source: Ashby, B.H. et autres. 1987. Protecting Perishable Food During Transport by Truck. (Protection des denrées périssables lors du transport par camion). Washington, D.C., USDA, Office of Transportation, Agricultural Handbook No. 669.


PAGE PRÉCÉDENTE DÉBUT DE PAGE PAGE SUIVANTE