Back to Home Page of CD3WD Project or Back to list of CD3WD Publications

CLOSE THIS BOOKFormulae and Tables - Wood / textbooks for vocational training (GTZ, 122 p.)
10. Setting-up of Tools
VIEW THE DOCUMENT10.1. Setting-up of Hand Tools
VIEW THE DOCUMENT10.2. Setting-up of Machine Tools

Formulae and Tables - Wood / textbooks for vocational training (GTZ, 122 p.)

10. Setting-up of Tools

10.1. Setting-up of Hand Tools

Setting-up of hand saws

Operation
Representation

Aids/tools

Remarks

cleaning of the saw blade

petroleum thinner

Remove glue residues, resin residues and similar

clamping of the saw blade

1 saw blade, 2 hand vice

hand vice

Clamp the saw blade horizontally, closely below the tooth gullet line.

checking of the top line

1 saw blade, 2 glass plate

small glass plate or similar

Differently long teeth lead to running-off centre of the saw; the saw blade is jolting during sawing.

dressing of the saw blade

1 saw blade, 2 gauge made of wood (dimensions in cm), 3 flat file

clamped flat file

File a uniform tooth line.

checking of the tooth form

1 saw blade, 2 plate template

sheet-metal template for tooth - forms

Find out which teeth are to be corrected.

corrective filing of such teeth which deviate in form and size

1 saw blade, 2 saw file

saw file

Hold the file horizontally and at right angles to the saw blade.

reclamping of the saw blade for saw setting with the saw set

1 saw blade, 2 stop bar, 3 hand vice

hand vice and stop bar

The teeth uniformly project 1/3 of their height beyond the stop bar.

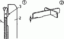
saw setting with the saw set

(1) schematic representation
(2) representation showing the principle of operation
1 saw blade, 2 stop bar, 3 hand vice, 4 saw set

saw set

At first set every other tooth to one side and then - after resetting the bar and the saw blade - the rest of the teeth uniformly to the other side.
The clearance of the saw blade in the saw set slot is ³ 0.1 mm; amount of deflection: 1/2 saw blade thickness to each side.

saw setting with saw set pliers

saw set pliers

Set the setting height and amount of deflection (setting width) on the saw set pliers. Mount without rule.

checking of the setting width

(1) Schematic representation
(2) Representation showing the principle of operation
1 saw blade, 2 saw setting gauge, 3 setting width

saw setting gauge

Move the saw-setting gauge with the recessed edge past the teeth in the blade plane.

correction of incorrectly set teeth

saw set or saw set pliers

Reset or further deflect the teeth concerned by the amount necessary.

equalizing

1 saw blade, 2 saw setting gauge, 3 setting width

flat file or hone

Slightly “equalize” on the tooth line and at the tooth profile before sharpening to compensate the different resetting ability of the saw teeth.

sharpening (filing) of the saw blade

1 saw blade, 2 hand vice, 3 sharpening file, 4 direction of pushing, 5 direction of filing

sharpening file

Clamp the saw blade into the hand vice; tooth gullet line at the most 5 mm above the jaws. Hold the file exactly horizontally and at right angles to the saw blade; the same number of file strokes in every tooth space. File against the direction of the cut, move the file with uniform pressure. The tooth is sharp, when the tooth crest is not bright any more, but appears dull. File cutting face and flank uniformly.

Mistakes made when setting-up hand saws

Kinds of mistake
Representation

Effects of the mistake

missing or too small tooth set

1 saw blade, 2 workpiece

the saw is jamming or drifting

too large tooth set

1 saw blade, 2 workpiece

unclean cut and bad guidance of the saw

one-sided tooth set

1 saw blade, 2 workpiece

the saw deviates from the true course

tooth set too deep (whole tooth height deflected)

1 saw blade, 2 workpiece

danger or cracking at the tooth gullet; insufficient stability of the saw blade

filing into the direction of the cut

1 saw blade, 2 hand vice, 3 sharpening file, 4 filing burr, 5 direction of pushing, 6 direction of filing

the burr forming at the primary cutting edge acts in the direction of the flank and reduces the cutting effect

canting on the sharpening file

1 saw blade, 2 sharpening file

chip removal at the flank or cutting face too great; differences in the tooth height and wedge angle occur; cutting capacity is reduced, as only a part of the teeth is working; the saw is hacking

deviation of the file position from the horizontal

1 saw blade, 2 hand vice, 3 sharpening file

chamfering of the flank, change of the tooth height, reduction of the cutting effect

file position not at right angles to the saw blade

1 saw blade, 2 sharpening file

chamfering of the flank, change of the tooth height, reduction of the cutting effect

Setting-up of plane irons and chisels

Operation representation

Tools/aids

Remarks

cleaning of the plane iron and the flap or chisel

petroleum or similar

Remove resin and glue residues.

Checking of observance of safety regulations


Use safety goggles or safety glass. Spacing between tool support and abrasive tool must be correct. Mounting flange diameter must be correct. Observe maximum permissible peripheral speed of the abrasive tool. Do test run of the abrasive tool.

Checking of the cutting edge

1 cutting edge not at right angles, 2 jagged cutting edge, 3 dull cutting edge (bright edge), 4 cambered (round) land


Sharpen only when it is not possible any more to get a good cutting edge by dressing.

clamping of the plane iron

1 sharpening wheel, 2 plane iron

plane iron and ripping chisel sharpening machine

Firmly clamp the plane iron into the carriage, grind against the direction of rotation of the wheel.

setting of the angle of support of the tool support

1 sharpening wheel, 2 plane iron, 3 support for plane iron

plane iron and ripping chisel sharpening machine

plane iron rest is sufficient; setting e is to be made in such a way that the correct wedge angle (27°) is reached.
Cool the plane iron.

reduction of the land width

1 sharpening wheel, 2 plane iron

plane iron and ripping chisel sharpening machine

This is necessary, if the wedge angle is too small.
Cool the plane iron.

increase in the land with

1 sharpening wheel, 2 plane iron

plane iron and ripping chisel sharpening machine

This is necessary, if the wedge angle is too great.
Cool the plane iron.

sharpening of the ripping chisel (straight flank)

1 ripping chisel, 2 cup wheel

sharpening machine and cup wheel

Clamping fixture is necessary. The straight flank produces a completely wedge-shaped cutting edge. It penetrates better into the wood.

sharpening of turning tools (like ripping chisel with straight edge)

sharpening machine and cup wheel

Clamping fixture is not absolutely necessary; tool support is sufficient, because due to the greather wedge angle of the tool cutting edge (see 7.4.) the angle of inclination of the tool to the sharpening wheel is considerably flatter than for the ripping chisel.

honing of plane irons and ripping chisels

(1) Schematic representation
(2) Representation of principle operation
1 wooden strip, 2 inserted hone, 3 plane iron

hone

Clamp the hone in position, firmly put on the land of the tool, hone with circular movements over the whole surface of the hone. Hone alternately the land and the minor surface of the tool, until the sharpening bun falls off by itself.

Honing of turning tools

1 turning tool, 2 shaped stone

hone

Turning tools are honed by means of round, half-round or shaped stones.
Move the stone on the tool.

Setting-up of the plane iron flap

1 plane iron, 2 flap

sharpening file, hone

File the front edge of the flap until it is at right angles to the central axis of the flap, has a width of 1 mm over the whole of its length, firmly rests on the minor surface of the tool after tightening the screw, has a uniform spacing to the cutting edge of 0.5... 1.0 mm; polish the bun edge brightly with a very fine hone.

Setting-up of the scraper

Operation representation

Tools/aids

Remarks

filing of the scraper

1 pack of scrapers, 2 work supporting block, 3 hand vice, 4 flat file

vice, 2 hard wood blocks, flat finishing file

Clamp packs of several pieces between 2 hard wood blocks in the vice, align the edges in one plane, file the edges to be rectangularly even, longitudinal direction must be exactly straight, slightly round the comers.

Honing of scrapers

1 pack of the scrapers, 2 work supporting block, 3 hand vice, 4 hone

coarse hone

Regrind the pack of filed scrapers by circular movement until the surface is completely smooth.


1 scraper, 2 hone

fine-grain hone

Hone the narrow and broad sides until the burr is completely removed and the edges are sharp-edged.

scraping off of the scraper

1 scraper, 2 scraper steel, 3 supporting block

scraper steel

Place the scraper steel evenly on the scraper. Scrape off the surfaces under pressure from the centre outwards.

scraping of the cutting burr

1 scraper, 2 scraper steel, 3 supporting block

scraper steel

Scrape the edge of the scraper with the scraper steel under moderate pressure. This produces a cutting bun.
The burr can be enlarged by scraping several times.

resharpening of the scraper

scraper steel

A dull burr can be scraped off with the scraper steel and renewed several times, before filing becomes necessary again (round edges).

Setting-up of drilling tools

Operation representation

Tools/aids

Remarks

cleaning of drills

petroleum or similar

Remove impurities (resin residues etc.).

sharpening of the centre point

1 drilling tool, 2 centre point, 3 sharpening file

sharpening file, hone

File and hone the centre point uniformly from all sides until all file traces are removed.

no filing of the infeed thread

1 drilling tool, 2 infeed thread



sharpening of entering taps

1 drilling tool, 2 entering tap, 3 sharpening file

sharpening file, hone

File the entering taps only from inside, then hone until all file traces are removed.

sharpening of lips

1 drilling tool, 2 lip, 3 sharpening file

sharpening file, hone

File lips from below, do not interrupt the connection between the lips and the infeed thread, hone carefully.

sharpening of twist drills with roof-shaped point

1 twist drill with roof-shaped point, 2 sharpening wheel, 3 swivel range

plane iron and ripping chisel sharpening machine, grinding gauge

Take the body of the drill with thumb and forefinger of the right hand. The left hand holds the drill at the shank and carries out an upward and downward movement of the drill between the horizontal and an imaginary line 15° below the horizontal. In doing so, continuously check by means of the grinding gauge the point angle, the shape of the cutting edges under the same angle, the concentricity of the point, the position of the chisel edge and the wedge angle.

checking of sharpening

1 checking of the drill point angle, 2 checking of the position of the chisel edge, 3 checking of the wedge angle



10.2. Setting-up of Machine Tools

Setting-up of circular saw blades and band saw blades

Operation Representation

Tools/aids

Remarks

cleaning of the saw blade

petroleum, thinner


setting of the saw blades

setting pliers, set gauge, setting dial gauge

Use setting pliers. Because of its greater accuracy the setting dial gauge is more suitable than the set gauge for checking the setting width.

clamping of the circular saw blade into the sharpening machine

sharpening machine

Saw blade bore hole must fit exactly on the centring taper; put grinding wheel head into highest position, set tooth height greater than necessary.

setting of the saw blade thickness

1 saw blade, 2 adjustable stop, 3 sharpening wheel

sharpening machine

Middle of the saw blade exactly under the middle of the axis of the abrasive tool.

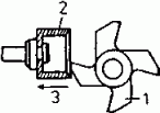
setting of the rake angle

sharpening machine

In case of band saw blades set according to the scale of rake angles of the sharpening machine - choose it a little greater at first.

setting of the saw pitch

1 feed finger, 2 path of the feed finger, 3 upper third of the saw tooth

sharpening machine, measuring tape

Measure the pitch at the saw blade and set it on the saw pitch scale of the machine.

fine setting of the tooth feed

1 sharpening wheel, 2 feed finger

sharpening machine

Switch on the machine, set the tooth feed so that the abrasive tool coming down slightly attacks the cutting face.

setting of the moment of shear

sharpening machine

The feed must start to act at the moment when the abrasive tool reaches the tooth gullet.

sharpening

sharpening machine, hone

At least 4 sharpening passes are necessary; material removed per pass 0.05...0.1 mm; in the last pass only minimum metal removal (0.01... 0.03 mm); carefully remove the sharpening burr with a fine hone.

setting of the tooth height

1 sharpening wheel, 2 flank of the saw tooth

sharpening machine

Fine setting:
Abrasive tool must run parallel to the flank.

checking of the top line

glass plate or tooth crest dial gauge

Check band saw blades like hand saws (see par. 10.1.), check circular saw blades with tooth crest dial gauge.

checking of cutting edge angles

1 rake angle gauge, 2 wedge angle gauge

bevel steel square, plate template, wedge angle gauge or similar

Check either with plate template as is done in the case of hand saws or with wedge or rake angle gauge or with bevel steel square.

Mistakes made when sharpening the saw blades

Sharpening mistake

Cause of mistake

Effect of mistake

Elimination of mistake

uneven flank

feed is acting too early (flank becomes hollow) or too late (flank will get lugs)

chip diasposal rendered more difficult, warming-up and drifting of the saw blades

Set the moment of shear correctly.

tooth gullet radius too great

saw pitch set to small

low stability of the saw teeth, drifting of the saw blade

Increase the travel of the feed pawl.

tooth gullet radius too small

profile of the sharpening wheel rounded too little, wheel too thin

drifting of the saw blade at higher feed

Choose proper sharpening wheel, reduce the travel of the feed pawl.

tooth height too great or too small

machine wrongly set

changed tool geometry, shorter cutting life of the cutting edge, drifting of the saw blade

Correct the fine setting of the tooth height.

tooth height not uniform

axis of the sharpening wheel not exactly above the middle of the saw blade

load on the saw teeth not uniform, quicker dulling, worse cutting quality

Check the guidance of the saw blade and correct it.

discolouration of teeth crests

too much material removed by grinding or peripheral speed of the sharpening wheel too high or sharpening wheel too hard

loss of strength of the teeth crests, quicker dulling, drifting of the saw blade

Correct the sharpening wheel’s action and the tooth feed, choose another sharpening wheel.

saw pitch not uniform

tooth feed wrongly set, the sharpening wheel coming down too late attacks the cutting face too heavily

load on the saw teeth not uniform, drifting of the saw blade, worse cutting quality

Reset the sharpening wheel action on the cutting face.

wedge angle altered

tooth height setting too great (wedge angle becomes smaller) or too small (wedge angle becomes greater)

altered tool geometry, worse cutting conditions, higher load on the saw teeth

Correct the fine setting of the tooth height setting.

remaining of a sharpening burr

great abrasion, dull or excessively coarse-grained sharpening wheel

quicker dulling of the cutting edges

Make last sharpening pass with only little abrasion.

Setting-up of stripe irons

Operation
Representation

Tools/aids

Remarks

cleaning of the stripe iron and the clamping surface

solution

Cleaning also serves for preventing grinding inaccuracies.

clamping of stripe irons for sharpening

1 stripe iron, 2 clamping plate, 3 detent of stripe iron

sharpening machine

Clamp the stripe irons on the grinding beam so that the cutting edges project about 2 mm beyond the grinding beam and the sharpening wheel can run a few centimetres beyond the end of the stripe iron. When clamping is made in a vice, clamp from the middle of the stripe iron outwards.

infeed grinding

sharpening machine

Infeed the sharpening wheel according to the desired degree of keenness by 0.01...0.03 mm each.

abrasive machining

sharpening machine

Grind in one pass; infeed according to the degree of dulling 0.1...0.4 mm.

flat grinding

sharpening machine

Cup wheel is without tilt angle.

finish grinding

sharpening machine

Grind with moderate pressure. In the last pass the sharpening wheel must come clear. Always grind against the land.

hollow grinding

(1) view in the running direction of the cup wheel
(2) view at right angles to the running direction of the cup wheel
1 stripe iron, 2 cup wheel, 3 tilt angle

sharpening machine

Tilt the cup wheel by 2...3º in the running direction of the grinding wheel head; multiple honing is possible.

honing

1 machine iron, 2 hone with rough and fine sides

sharpening machine

Remove the grinding burr and fine traces of grinding. Hone only at the cutting face and always in longitudinal direction of the cutting edge. Hone must firmly be placed in position.

Setting-up of milling cutters

Operation
Representation

Tools/aids

Remarks

mounting of the cutter on the grinding arbor; centring

sharpening machine

Centring is made by means of centring rings.

aligning of the cutting edges for sharpening

sharpening machine

Align always according to the shortest cutting edge which is determined by means of the dial gauge.

grinding of the tool face

1 milling cutter, 2 sharpening wheel

sharpening machine

Grind relief-turned cutters only at the tool face.
Regrind cutters with straight flank (straight relief grind) at the tool face only slightly (infeed axially).

radial infeeding

1 sharpening wheel, 2 material removed in grinding, 3 infeed, 4 milling cutter

sharpening machine

Relief-turned cutters must be fed to the sharpening wheel radially, i.e. they must be turned around the axis during feeding.

checking of the cutting rake

sharpening machine, protractor

In order to ensure always the same cutting rake, the chip removal over the whole tool face is not uniform (chip removal increasing towards the periphery).

grinding of the flank

sharpening machine

Sharpen cutters with straight flank (see par. 9.4.) at the tool face and flank (with the exception of grooving and tonguing cutters which are sharpened only at the tool face).

axial infeeding

1 milling cutter, 2 sharpening wheel, 3 infeed

sharpening machine

Sharpen cutters with straight flank mainly at the flank, in-feed axially.

sharpening

sharpening machine

Grind all cutting edges uniformly.

dressing of the sharpening wheel

sharpening machine, silicon carbide stone

In case of considerable dulling of the cutting edges dress the sharpening wheel once more before finish grinding. To do this, hold the silicon carbide stone by freehand at an angle of 10...15° against the rotating sharpening wheel.

finish grinding

sharpening machine

In the final pass feed the sharpening wheel only slightly so that the sharpening burr can easily be removed.

removing of the sharpening burr

sharpening machine, hone

Carefully hone the cutting edges to remove the sharpening burr.

checking for true running

sharpening machine dial gauge

All cutting edges must lie on the same cutting circle (run-out £ 0.02 mm).

regrinding

sharpening machine

Regrind projecting cutting edges individually to lie on the cutting circle.

TO PREVIOUS SECTION OF BOOK TO NEXT SECTION OF BOOK