Back to Home Page of CD3WD Project or Back to list of CD3WD Publications

CLOSE THIS BOOKStairmaking - Course: Timberwork techniques. Instruction examples for practical vocational training (Institut für Berufliche Entwicklung, 34 p.)
VIEW THE DOCUMENT(introduction...)
VIEW THE DOCUMENTPreliminary Remarks
VIEW THE DOCUMENTInstruction Example 8.1.: Taking off Dimensions at the Stairwell
VIEW THE DOCUMENTInstruction Example 8.2.: Determination for the Ratio of Rise and Tread
VIEW THE DOCUMENTInstruction Example 8.3.: Scribing of landing connections
VIEW THE DOCUMENTInstruction Example 8.4.: Manufacture of Template and Angular Board
VIEW THE DOCUMENTInstruction Example 8.5.: Scribing and Preparing the Stair Strings
VIEW THE DOCUMENTInstruction Example 8.6.: Manufacture of Steps and Risers
VIEW THE DOCUMENTInstruction Example 8.7.: Assembly of the Stair Flight

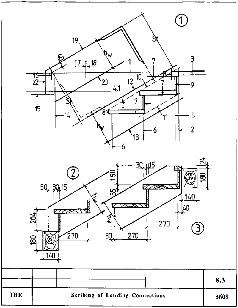
Instruction Example 8.3.: Scribing of landing connections

Details assumed to be known:

Stairwell length without landing: 2200 mm

Stairwell height = stair flight height: 1620 mm

Ratio of rise and tread

Number of rises ns = 9

Step thickness: 35 mm

Riser thickness: 15 mm

False tread: 30 mm

Floor thickness d1 = d2 = 24 mm

Cross-section of stair-aprons = 140/180 mm2


Figure

Measuring and testing means

Folding rule, square

Auxiliary accessories

Straight batten for scribing of about 1300 mm length,
Straight batten for scribing step thickness, about 350 mm long and exactly 35 mm wide!

Necessary previous knowledge

Measuring, scribing, angling, testing

Explanations to the working drawing

The landing connections have been drawn on the drawing floor so as to show the surfaces of the stair foot (bottom step) and stair head (head step) on a joint horizontal line.

(1) landing connections drawn on the drawing floor

(2) details of bottom landing

(3) details of stop landing

St - gauge size, hw - string height

Sequence of operations

Comments

1. Draw a horizontal line on the drawing floor.

Draw a thin line over the entire drawing floor.

2. Determine the front edge of the top landing-apron and draw a vertical line downward.

Mind the stair flight direction! Apply the square exactly.

3. Measure-in the floor thickness d2.

Measure from 1 downward. Draw the line to 2 only.

4. Measure-in from 1 downward and scribe two heights of rise.

Draw thin lines.


Draw line 4.1 as long as 1 and parallely to 1. Lines represent surfaces of the steps.

5. Measure-in and scribe difference (40 mm).

Measure from 2 towards stairwell. Draw a thin line downward parallely to 2. Line represents top stair string section.

6. Measure-in from 5 and scribe two tread widths.

Draw a thin line parallely to 5.

7. Measure-in and scribe the step thickness.

Use batten (35 mm width). Apply batten in true alignment- (Batten is still to be used for scribing the stair strings!)

8. Measure-in and scribe the false tread.

Represents the front edge of the steps to be built in.

9. Measure-in and scribe the riser thickness.

Measure from 5 and 6 towards the stair-apron. Draw thin lines, not too long.

10. Draw dash-line over front edges of steps.

Draw very thin dash-line, which is only used for measuring-in the string top.

11. Draw dash-line over lower edges of risers.

Draw very thin dash-line, which is only used for measuring-in the string bottom.

12. Measure-in string top and scribe lower edge of stair string

Make sure it is parallel to 10. Line may be drawn slightly thicker.

13. Measure-in string bottom and scribe lower edge of stair string.

Make sure it is parallel to 11 and 12. The stair string height can be measured between 12 and 13!

14. Determine front edge of bottom stair-landing and drawn a line vertically downward.

Any distance from 2 may be selected. Draw a thin line.

15. Measure-in and scribe floor thickness d1.

Measure from 4.1 downward, draw a thin up to 14.

16. Measure-in and scribe false tread.

Draw a thin, short line.

17. Measure-in and scribe tread width.

Measure from 14 towards stair-well.

18. Measure-in and scribe riser thickness.

Measure from 17.

19. Measure-in string top and scribe upper edge of stair string.

Angle of inclination can be found by means of parallel displacement or gauge size (St)! Use the square!

20. Measure-in and scribe lower edge of stair string.

Measure hw, from 10 downward! Use the square

21. Check again accuracy to size!

Correct, if necessary! 21 is not shown!

22. Limit stair string at bottom landing.

Any size but bigger than or equal to 50 mm!


Scribing of Landing Connections

TO PREVIOUS SECTION OF BOOK TO NEXT SECTION OF BOOK