Back to Home Page of CD3WD Project or Back to list of CD3WD Publications

CLOSE THIS BOOKMaking of Roof Flashing - Course: Timberwork techniques. Instruction examples for practical vocational training (Institut für Berufliche Entwicklung, 26 p.)
VIEW THE DOCUMENT(introduction...)
VIEW THE DOCUMENTPreliminary Remarks
VIEW THE DOCUMENTInstruction Example 3.1.: Working of Boards for a Roof Base Facing
VIEW THE DOCUMENTInstruction Example 3.2.: Making of a Roof Base Facing
VIEW THE DOCUMENTInstruction Example 3.3.: Template Making for a Rafter Foot
VIEW THE DOCUMENTInstruction Example 3.4.: Re-proofing of Buildings

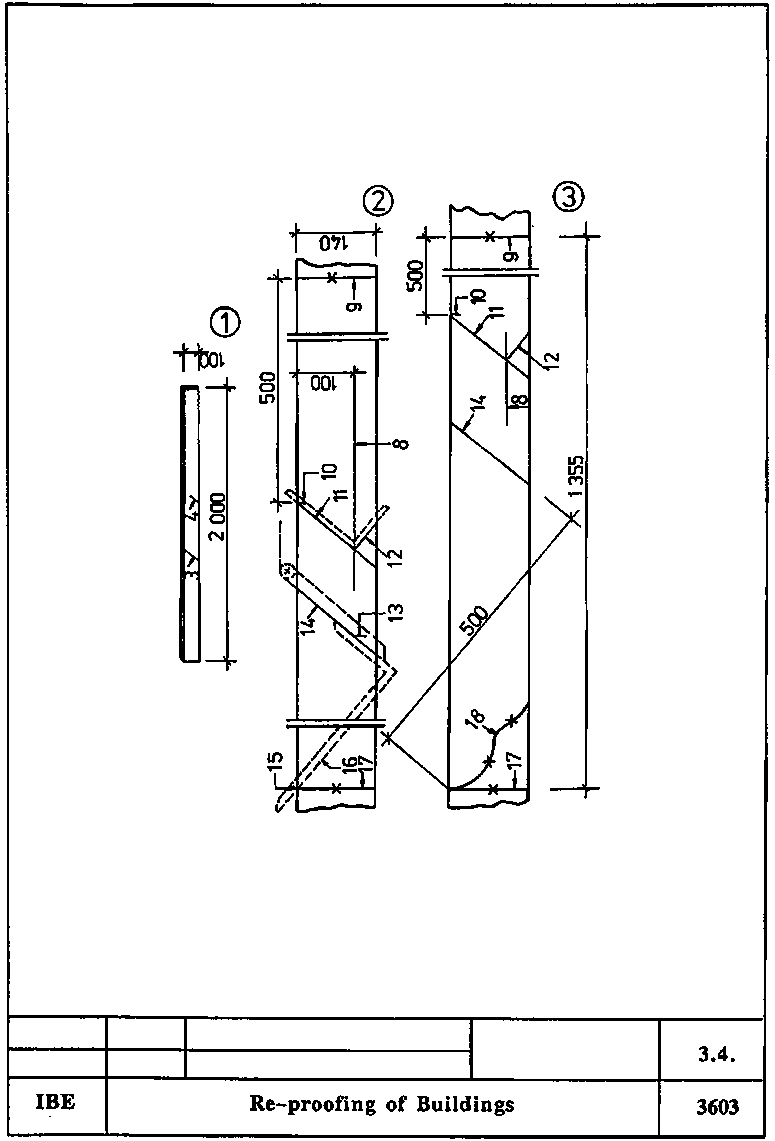
Instruction Example 3.4.: Re-proofing of Buildings

The cover straps shall be produced for re-proofing a building by displacement of the rafter foot of a purlin roof.


Figure

Dimensions

Cross section of roof rafter: 80/140 mm2
Thickness of cover straps: 40 mm
Horizontal distance of eaves flashing: 500 mm

Hand tools and machines

Frame saw, hand plane, bevel protractor, band saw

Measuring and testing means

Folding rule, carpenter's steel square, water level

Auxiliary accessories

Straightedge 2000 mm long, pencil, abrasive paper, board of 140 mm width and 2000 mm length

Necessary previous knowledge

Reading of drawings, measuring and testing, plumbing (perpendicularity), scribing, sawing, curving, planing, smoothing

(1) scribed straightedge
(2) board for template
(3) curve of rafter foot

Sequence of operations

Comments

Steps 1 to 6 are to be carried out at the building!


1. Check the scaffolding.

Stability, bracing, covering of uprights, guard rail.

2. Insert the straightedge between the roof boards and the inferior purlin and press it against the roof rafter.

Insert it approx. 1000 mm. Make sure that it contacts the roof boards and the roof rafter.

3. Transfer the front face of the outside wall onto the straightedge by scribing the perpendicular line.

Use a water level.
Check changing of water level. Mark scribing perpendicular line with "PERPENDICULAR".

4. Transfer front face of inferior purlin onto straightedge.

Mark only!

5. Remove straightedge and insert it at several roof rafters to check the scribed lines.


6. Count the roof rafters.

Is necessary for the number of cover straps required.

All other steps are to be carried out in the workshop


7. Take perpendicular line from straightedge by means of bevel protractor.

Working direction from left to right!
Set bevel protractor tongue exactly and firmly tighten the wing nut!

8. Put board for template (approx. 2 m long) on work bench and scribe on it square attachment timber.

Scribe a thin line.

9. Scribe angular line at right end of board and mark the section to be cut off.

Go only as far as necessary to produce a rectangular cut.

10. Measure in and mark 500 mm from angular line to the left.

Measure on 8.

11. Scribe perpendicular line through marking.

Use bevel protractor. Perpendicular line is front face of inferior purlin.

12. Scribe surface of inferior purlin.

Place square leg at perpendicular line so as to have point of intersection with 8.!

13. Take from straightedge, measure in on template and mark the size up to front face of outside wall.

Measure on 8.!
Mark only!

14. Scribe perpendicular line through marking and mark with "FW".

"FW" means front face of outside wall.

15. Mark horizontal distance of eaves flashing (500 mm) at long leg of square.

Apply only thin marking.

16. Place tongue of bevel protractor at perpendicular line, displace short leg of square at tongue so as to have point of intersection at upper edge of template board!

Place square and bevel protractor tongue exactly.
Do not squeeze the tongue of the bevel protractor!
Apply only thin marking.

17. Scribe template length and mark the section to be cut off.

Use a square.

18. Profiling.

Scribe the curve so that it can be easily sawn out with the band saw!

19. Saw out the template.

Saw it out at exact angles.

20. Smooth the template with abrasive paper.

Use fine-grained abrasive paper.
No chamfers must be ground!

21. Measure length of cover straps and select timber for cover straps in the timber yard.

Number of cover straps has been counted on site.

22. Transport the timber to the work bench and store it.

Ensure freedom of movement.

23. Put template successively on the timber for the cover straps to be produced and scribe cover straps.

Scribe cover straps on one side only.
Place upper edges of template and cover strap flush with each other!

24. Saw out the cover straps.

Saw the curve exactly on the band saw!
Observe the safety regulations for work on the band saw!

25. Plane the visible sides of the cover strap foot.

Use a hand plane.
Just smooth-plane, remove small chip.

26. Smooth curve with abrasive paper.

Use coarse-grained abrasive paper.

27. Store cover straps for transportation.

Store cover straps so that they cannot be damaged or get dirty.


Re-proofing of Buildings

TO PREVIOUS SECTION OF BOOK