Back to Home Page of CD3WD Project or Back to list of CD3WD Publications

CLOSE THIS BOOKSetting-up and Operating of Regular Engine Lathes - Course: Techniques for machining of material. Trainees' handbook of lessons (Institut für Berufliche Entwicklung, 35 p.)
VIEW THE DOCUMENT(introduction...)
VIEW THE DOCUMENT1. Importance of the regular engine lathe
VIEW THE DOCUMENT2. Structure of the regular engine lathe
VIEW THE DOCUMENT3. Structure and types of lathe tools
VIEW THE DOCUMENT4. Preparation of the work on the regular engine lathe
VIEW THE DOCUMENT5. Setting-up and operating the regular engine lathe
VIEW THE DOCUMENT6. Maintenance and care of the regular engine lathe

5. Setting-up and operating the regular engine lathe

It belongs to the preparation of each respective operation that all working and auxiliary means required are provided in a useful way according to the regulations, so that they are accessible in the shortest possible time.

The setting-up and operating of the machine is carried out according to the following steps:

- Clamping of the workpiece

· Selecting the clamping means - the workpiece must rotate during the machining process and remain in its position even with the most difficult cuts. The various dimensions and shapes of the workpieces require various corresponding ways of clamping.

· Selecting the clamping jaws - when using a clamping chuck.

· Securing true running - perhaps by using soft clamping jaws.

· With long workpieces - selection of a poppet.

The workpieces have to be clamped short and firm according to their respective shape.

- Clamping of the tool

· Short and firm clamping

· Always place in dead central position - backings according to the principle “as few as possible”.

· Decide whether single or multi-tool holder are to be used.

The tools must be examined as to their serviceability.


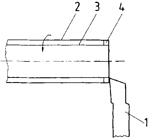
Figure 33. Clamping of the lathe tool

1 clamping claw, 2 lathe tool, 3 backings, 4 workpiece


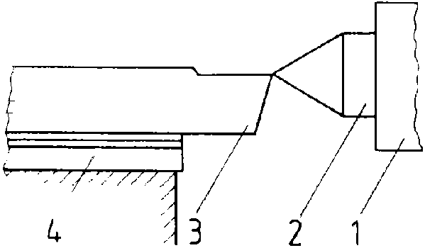
Figure 34. Vertical adjustment by tailstock centre

1 quill, 2 tailstock centre, 3 lathe tool, 4 backings


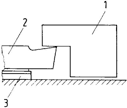
Figure 35. Vertical adjustment by setting gauge

1 machine-bound setting gauge, 2 lathe tool, 3 backings

- Setting-the cutting parameters

· Setting of the rotational speed taking the existing speed tables and switching symbols into consideration.

Switching only when the machine is at rest!

· Setting of the feed.

In case of replacement of the change gears, switch off the main switch before opening the gear case.

Why should the shims be selected according to the principle “as few as possible”?

What is the required rotational speed for machining a workpiece of St. 60 of a diameter of 65 mm using a carbide-tipped lathe tool?

a) For cylindrical turning

b) For surfacing

Cylindrical turning:

Given:

v = 80 m/min

d = 65 mm

p = 3.14

Required:

n r.p.m.



Calculation:







=======

Surfacing:

Given:

v = 80 m/min

d = 65 mm

p = 3.14

Required:

n r. p.m.



Calculation:







=======

How is the rotational speed selected, when surfacing single parts or series?
_________________________________
_________________________________
_________________________________

What does the selection of the feed depend on?
_________________________________
_________________________________
_________________________________

For operating the regular engine lathe, the following rules have to be observed (sequence of operations):

- Switching the lathe on

- Approaching the tool carrier with the lathe tool towards the workpiece

- Entering the cut at the workpiece with the help of the hand feed

- Infeed by tool rest and surfacing of the workpiece

- Setting of the dog, length adjustment by log measure

- Beginning the cut at the area of the cylindrical surface of the workpiece by hand feed

Beginning the cut at the workpiece only with the machine running, because otherwise the main cutting edge of the lathe tool will chip.

- Putting the scale of the cross slide on 0 and carry out the required feed operation for achieving the desired diameter (in the case of too much infeed, turn the crank back by one revolution in order to compensate backlash and start the feeding movement again).

- Starting the cut with 1-2 mm, then the tool carrier is returned (see fig. 36)

- Switching the machine off and dimensional inspection

- Switching the machine on - perhaps dimensional correction

- Switching on the automatic feed

- 1 - 2 mm before reaching the stop, switch the automatic feed off and continue by hand feed till the stop is reached.


Figure 36. Starting the cut at the workpiece for dimensional inspection

1 right side cutting turning tool, 2 rough size of the workpiece, 3 final size of the workpiece, 4 starts of cuts at the workpiece for dimensional inspection

- Return cross slide (lathe tool)

- Return tool carrier to original position

- Switching the machine off, dimensional inspection

- Unclamping of the workpiece.

A workpiece has a diameter of 50.8 mm and shall be reduced to Ø 50.4. By how many graduation marks must the crank be moved on if one graduation mark is equivalent to a lathe tool feed of 0.05 mm?

Solution:
_________________________________
_________________________________
_________________________________

What steps have to be taken if, with the tool infeed to final size, a too great feed was set by mistake?
_________________________________
_________________________________
_________________________________

TO PREVIOUS SECTION OF BOOK TO NEXT SECTION OF BOOK