Back to Home Page of CD3WD Project or Back to list of CD3WD Publications

CLOSE THIS BOOKSetting-up and Operating of Regular Engine Lathes - Course: Techniques for machining of material. Trainees' handbook of lessons (Institut für Berufliche Entwicklung, 35 p.)
VIEW THE DOCUMENT(introduction...)
VIEW THE DOCUMENT1. Importance of the regular engine lathe
VIEW THE DOCUMENT2. Structure of the regular engine lathe
VIEW THE DOCUMENT3. Structure and types of lathe tools
VIEW THE DOCUMENT4. Preparation of the work on the regular engine lathe
VIEW THE DOCUMENT5. Setting-up and operating the regular engine lathe
VIEW THE DOCUMENT6. Maintenance and care of the regular engine lathe

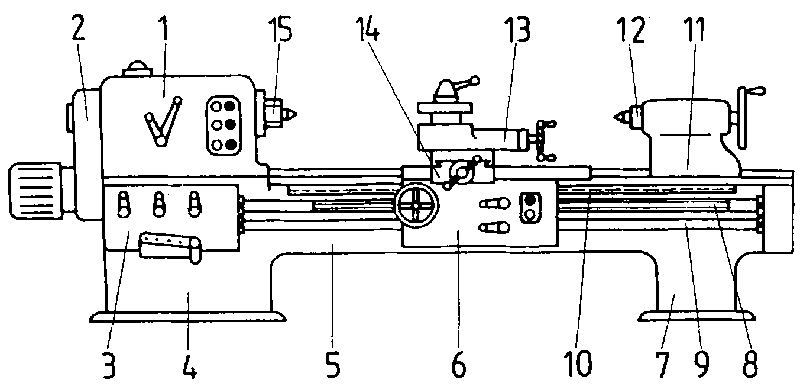
2. Structure of the regular engine lathe

What main parts does a leadscrew and feed shaft lathe consist of?


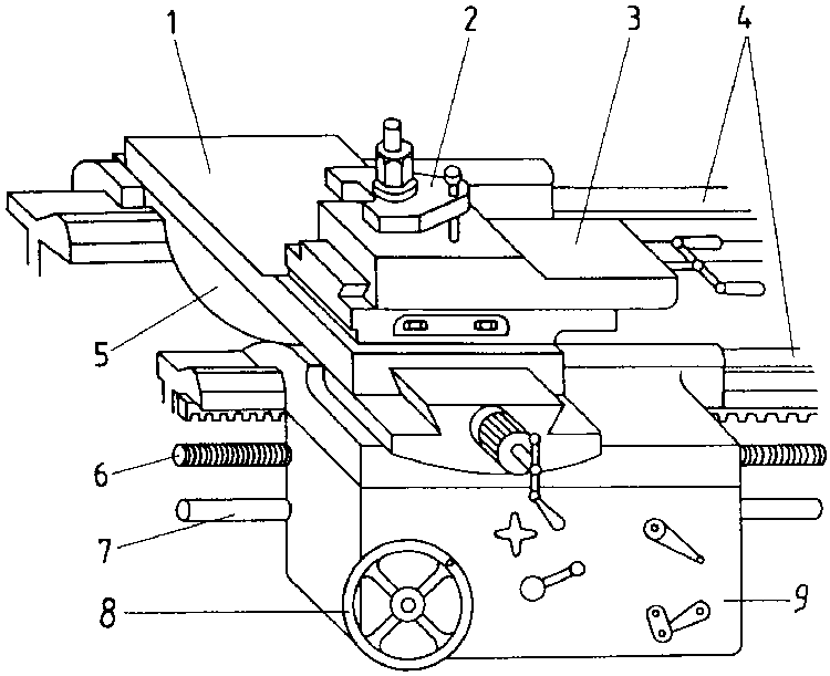
Figure 1. Regular engine lathe

1. _________________________________

2. Train of pulleys

3. Feeding mechanism

4. _________________________________

5. _________________________________

6. _________________________________

7. _________________________________

8. _________________________________

9. _________________________________

10. _________________________________

11. _________________________________

12. Quill

13. _________________________________

14. _________________________________

15. Work-driving spindle

Regular engine lathes consist of various components which have to fulfill specific tasks, and the accurate functioning of which is a precondition of the handling of the operating elements.

The following components are distinguished:

- Lathe bed
- Gear box
- Apron
- Tailstock
- Leadscrew and feed shaft lathe

The faultless cooperation of the individual components and the correct operation of the lathe lead to the manufacture of workplaces of a high standard and the required accuracy.

Lathe bed


Figure 2. Lathe bed

1 lathe feet, 2 bridge, 3 guideways, 4 lathe bed

The lathe bed carries the spindle box with the work-driving spindle and the main driving mechanism, the carriage with apron, saddle, cross slide, tool rest and lathe tool holder as well as tailstock with quill.

The apron and the tailstock are movable and are led on the lathe bed. In order to avoid shocks and vibrations as far as possible, the lathe bed is of a rigid construction.

Mostly, grey cast iron is used as material for the lathe bed, because this material absorbs shocks and vibrations and the graphite components create good sliding qualities and keep the abrasion low. To enable the turning of larger workpieces, the swing diameters of which are greater than their nominal diameters, on the faceplate, some lathes are equiped with a bridge that can be removed.

Important parts of the lathe bed are the guideways, of which two basic kinds are distinguished - sliding and roller guideways.

The sliding guideways are characterized by simple manufacture, great strength and faultless localization of the groups to be led. Roller guideways have roll bodies, only little friction, but are complicated in manufacture, have a low stressability and, when worn, become useless due to backlash.

Therefore, sliding guideways are used preferably.


Figure 3. Slide

flat track, combination of roof guide and flat track, double roof guide
1 saddle, 2 slide of the lathe bed


Figure 4. Roller guide

1 roll body, 2 cage, 3 lathe bed, 4 saddle

Why do some regular engine lathes have a bridge in the lathe bed and what purpose does it serve?
_________________________________
_________________________________
_________________________________

What are advantages and disadvantages of sliding and roller guideways, respectively, and which kind of guideways is used preferably?
_________________________________
_________________________________
_________________________________

Gear box

The main parts of the gear box are the headstock with the work-driving spindle, the main driving mechanism with the drive shaft as well as the feeding mechanism and the change-gear train.


Figure 5. Work-driving spindle

1 work-driving spindle, 2 headstock casing, 3 radial roller bearing, 4 journal ball bearing, 5 packing, 6 chuck

In the headstock, the work-driving spindle is accommodated.

Mostly, the work-driving spindle is a hollow shaft, so that the material can be fed in, if required, (e.g. bar stock for the mass production of screws).

The end is equipped with an internal taper for receiving a centre and with an external thread for fixing the turning chuck, the faceplate, the work driver, etc. For radial stress, mostly cylindrical roller bearings, are used, for axial stress journal ball bearings.

The rotational speed of the spindle required for each respective operation is switched via the main driving mechanism. The main driving mechanism is designed either as a change-speed drive or as a stepless drive.


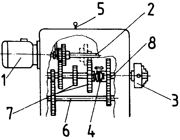
Figure 6. Main dirving mechanism

1 driving motor (flange-mounte motor), 2 main shaft, 3 chuck, 4 coupling, 5 operating lever, 6 countershaft, 7 gears, 8 work-driving spindle

The power is transmissed from the motor via the toothed gears or the belt drive to the work-driving spindle (workpiece) or the feeding mechanism, respectively.


Figure 7. Feeding mechanism and change gear mechanism

1 leadscrew, 2 toothed gears, 3 change gear mechanism, 4 switching lever

By the feeding mechanism and the change-gear train the stepped feeding speeds are set, the thread cutting with different pitches is enabled, and the leadscrew and/or feed shaft is driven.
_________________________________
_________________________________
_________________________________

What are the tasks of the feeding mechanism?

Describe the power train at a regular engine lathe.

1. _________________________________
2. _________________________________
3. _________________________________
4. _________________________________
5. _________________________________

Carriage

On the carriage, the tools are fixed, put in working position and guided. The carriage slides en two prisms; it consists of the saddle, cross slide, swivel, tool rest and lathe tool holder.


Figure 8. Carriage

1 cross slide, 2 lathe tool, holder, 3 tool rest, 4 guideways, 5 carriage, 6 leadscrew, 7 feed shaft, 8 hand wheel for longitudinal feed, 9 apron

The tool rest is povited on the cross slide and has a graduation in degrees for adjustment and/or taper turning. The compound rests slide in adjustable, dovetailed prismatic guideways.

The downfeed screws have ball cranks and large graduated disks for adjustment. The lathe tools are clamped in single or multiple-tool holders. The carriage is bolted to the lathe apron, which - due to its way of acting - belongs to the feed drive.

What are the tasks the carriage has to fulfill?
_________________________________
_________________________________
_________________________________

Tailstock

The tailstock is used as a counter-holding device for turning long workpieces or for drilling,

The tailstock is sliding on the guideways of the lathe bed and can be fixed in any place.


Figure 9. Tailstock

1 tailstock centre (replaceable), 2 quill, 3 clamping lever of the clamping nut, 4 hand wheel 5 tailstock clamping nut, 6 spindle, 7 spindle nut

When turning cylindrical workpieces, the centres of the headstock and of the tailstock must be exactly in line. By transverse displacement, it may also be used for turning slender tapers (loosening of the bridge, displacement of the tailstock on the bed plate by screws).

The quill is guided in a longitudinal boring. Its internal taper receives the centre of the tailstock, the drill, the drill chuck or the reamer. The quill can be moved in its longitudinal direction for clamping the workpiece or for the drill feed. This can be made mechanically - through spindle and hand wheel or by levers - as well as hydraulically or pneumatically. By a clamping device the quill can be fixed in any position.

How can tapers be manufactured with the help of the tailstock and how must the tailstock be aligned for turning cylindrical workpieces?

Leadscrew and feed shaft

The leadscrew and feed shaft serve the purpose of thread cutting and/or automatic longitudinal and cross feed. The leadscrew is recognized by its acme thread, the teed shaft by its cylindrical shaft with longitudinal groove.

The power transmission of the leadscrew with thread cutting is effected by the closing of split nuts via toothed gears on the gear rack and from there on the carriage.

The feed is effected by the feed shaft the power being transmitted to the gear rack via a worm and toothed gears.

Describe the power train from the leadscrew and feed shaft to the carriage.
_________________________________
_________________________________
_________________________________

TO PREVIOUS SECTION OF BOOK TO NEXT SECTION OF BOOK