Back to Home Page of CD3WD Project or Back to list of CD3WD Publications

CLOSE THIS BOOKAnnealing, Hardening, Tempering - Course: Working techniques of heat treatment of steel. Trainees' handbook of lessons (Institut für Berufliche Entwicklung, 27 p.)
7. Surface Hardening
VIEW THE DOCUMENT(introduction...)
VIEW THE DOCUMENT7.1. Types of Surface Hardening

Annealing, Hardening, Tempering - Course: Working techniques of heat treatment of steel. Trainees' handbook of lessons (Institut für Berufliche Entwicklung, 27 p.)

7. Surface Hardening

When workpieces shall have a hard, wear-resistant surface, but the core must remain tough, they are only hardened on the surface. Those workpieces can resist to great shock and bending stresses.

7.1. Types of Surface Hardening

Flame hardening:

Unalloyed steels with 0.35 to 0.6% carbon content are quickly heated to hardening temperature and subsequently, they are immediately (without holding time) cooled down.

The thickness of the hardened surface is dependent on the heat supply:

The greater the supply and the smaller the burner speed, the stronger is the hardened layer!

Normal layer thicknesses are 1.0 to 1.5 mm, but they can also be greater.

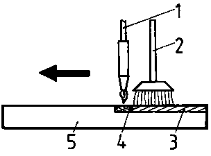
The burner can be guided over the material surface by hand or by mechanical feeding devides. Tempering is effected at temperatures between 150°C and 200°C for materials which are sensitive to break and crack.


Figure 27 - Flame hardening - 1 gas burner, 2 sprinkler, 3 hardened surface, 4 red-hot surface, 5 workpiece

Casehardening:

Tough steels with a carbon content of less than 0.25% can be enriched with carbon (carburized) on their surfaces so that they contain 0.75 to 1.1 % carbon and can subsequently be hardened. As to the carburization process, the metallic clean workpieces are inserted in carbon-containing powder (charcoal or leather coal) or they are blown with carbon-containing gases and annealed without air for 4 to 10 hours at temperatures between 880°C and 920°C. Surfaces to be kept soft are covered by means of protective means (clay, refractories) or coppered.

The penetration depth of the carbon is dependent on the application time during carburization. After one hour the layer is about 0.4 mm thick, after 10 hours about 1.2 mm.

The following hardening process can be carried out at temperatures around 770°C by means of various processes.


Figure 28 - Casehardening - 1 fireproof case with cover, 2 workpiece, 3 carbon-containing powder, 4 sand, 5 clay

Which properties can have workpieces after surface hardening?
_________________________________________________________________________
_________________________________________________________________________
_________________________________________________________________________

Which steels can be worked by means of flame hardening?
_________________________________________________________________________
_________________________________________________________________________
_________________________________________________________________________

Which steels can be worked by means of casehardening?
_________________________________________________________________________
_________________________________________________________________________
_________________________________________________________________________

TO PREVIOUS SECTION OF BOOK TO NEXT SECTION OF BOOK