Back to Home Page of CD3WD Project or Back to list of CD3WD Publications

CLOSE THIS BOOKShearing - Course: Technique of working sheet metals, pipes and sections. Trainees' handbook of lessons (Institut für Berufliche Entwicklung, 17 p.)
VIEW THE DOCUMENT(introduction...)
VIEW THE DOCUMENTPreliminary Remarks
VIEW THE DOCUMENTHints on Labour Safety
VIEW THE DOCUMENT1. Purpose of Shearing
VIEW THE DOCUMENT2. Tools and Machines
VIEW THE DOCUMENT3. General Construction of Shears
VIEW THE DOCUMENT4. Mode of Operation of the Shearing Process
VIEW THE DOCUMENT5. Shearing Techniques
6. Sequence of Selected Shearing Operations

3. General Construction of Shears

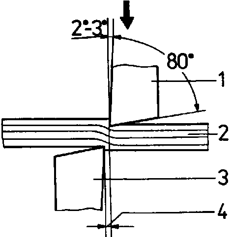
The shear blade cutting edges have a great wedge angle (about 80°) so that they are sufficiently stable during the shearing process. Clearance angles of 2° to 3° reduce the friction between shear blades and material. To prevent the blades from rubbing against each other and getting dull, a blade clearance has to be set on the shear in dependence on the material to be cut: blade clearance = 0.5 to 0.1 mm x sheet thickness.


Figure 12. Blade clearance correctly adjusted

1 upper shear blade, 2 sheet, 3 lower shear blade, 4 blade clearance

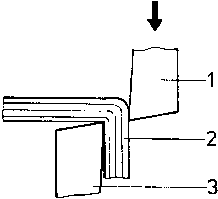
Too great a blade clearance results in improper faces of cut and a strong formation of buns. Thin sheets may even be bent off.

The blade clearance also affects the sheet of slightly pitching down that can be compensated by an adjustable hold-down bar on hand-lever shears and shearing machines.


Figure 13. Effect with to great a blade clearance - sheet is bent off

1 upper shear blade, 2 sheet, 3 lower shear blade


Figure 14. Hold-down bar correctly adjusted

1 hold-down bar, 2 upper shear blade, 3 sheet, 4 lower shear

On shears having blades that are arranged in parallel, the material is sheared off at the entire cutting edge at one time. In this case, a very strong cutting force is required. To keep the cutting force at a lower state, the upper shear blade is set in an inclined way on most shears.


Figure 15. Shear with parallel shear blades

1 upper shear blade, 2 lower shear blade

Due to the leverage it is favourable to shove the workpiece as far as possible in the shear jaws because then a great cutting force can be applied.

At the same time, a pushing force is exerted that would shove the workpiece out of the jaws. Only when the workpiece friction on the blades is equal to the pushing force, the cutting process is possible. Then the shear blades form an aperture angle of 15° approximately. To ensure this aperture angle for longer cuts as well, the upper blade has been curve-shaped on great many a shears.


Figure 16. Shear with inclined upper blade

1 upper blade, 2 rake angle, 3 lower blade

Why do shear blades have a great wedge angle?
_____________________________
_____________________________
_____________________________

Why has a blade clearance to be maintained?
_____________________________
_____________________________
_____________________________

What will happen when too great a blade clearance has been adjusted?
_____________________________
_____________________________
_____________________________

What is the task of the hold-down bar on lever shears and shearing machines?
_____________________________
_____________________________
_____________________________

Why is an aperture angle of 15° important for the shearing process?
_____________________________
_____________________________
_____________________________

TO PREVIOUS SECTION OF BOOK TO NEXT SECTION OF BOOK