Back to Home Page of CD3WD Project or Back to list of CD3WD Publications

CLOSE THIS BOOKMaking Permanent Joints - Course: Basic skills and knowledge of electrical engineering. Trainees' handbook of lessons (Institut für Berufliche Entwicklung, 19 p.)
VIEW THE DOCUMENT(introduction...)
VIEW THE DOCUMENTIntroduction
VIEW THE DOCUMENT1. Types and Meaning of Permanent Joints
VIEW THE DOCUMENT2. Tools for Making Permanent Electrical Joints (Bondings)
3. Soldered Joints
VIEW THE DOCUMENT4. Wire-wrap Joints
VIEW THE DOCUMENT5. Notched Joints
VIEW THE DOCUMENT6. Pressed Joints

5. Notched Joints

Notched joints are a way of connecting cable eyes with flexible copper conductors or regid copper or aluminium conductors by means of a sleeve.

Flexible conductors may have a cross-section of 0.02 mm2 to 10.0 mm2 while for regid conductors cross-sections of 0.2 mm2 to 4.0 mm2 are possible.

The joints are squeezed together by means of additional metal (cable eye or sleeve).

What are the advantages of notched joints over soldered joints?
_________________________________________________________________________
_________________________________________________________________________
_________________________________________________________________________

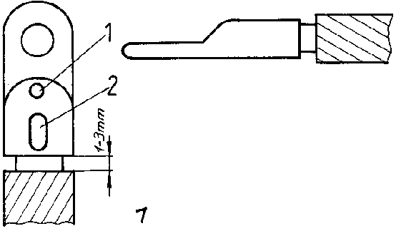
Figure 16 - Notched joints


16.1. cable eyes and conductors prepared for notching, - 1 hole for conductor check, 2 pressed mark


16.2. longitudinal notched joint - 1 notch connector, 2 ends of conductor

Steps of work

· Cutting to length and stripping of the conductor The stripping length depends on the required size of the cable eye or sleeve.

· Cleaning of the conductor

In order to achieve good contact of the notched joint the conductors must be free from oxide and/ or varnish.

Which tools are required for cleaning of conductors depending on the cross-section?
_________________________________________________________________________
_________________________________________________________________________
_________________________________________________________________________

· Feeding the conductor into the cable eye or sleeve

When inserting the conductor it is important that the size of the cable eye or of the sleeve is in accordance with the conductor cross-section. The space available in the cable eye or sleeve is to be fully utilized for the conductor.

In the case of flexible conductors with a small cross-section the conductor is to be bent towards the insulation and to be inserted in the cable eye together with the insulation in order to increase the stregth of the joint.


Figure 17 - Notched and crimped joints for flexible cables - 1 cable eye, 2,3 insets

· Making the notched joint

Before the cable eye or sleeve is put into the notching plier it is to be made sure that the correct adaptor is fitted. The cable eye or sleeve is to be put into the notching plier so that notching takes place in the centre. The notching plier is to be pressed down up to the stop and then removed. For joints with cable eyes of less than 0.5 mm2 cross-section, flat nose pliers or adjusting pliers may be used. In this case the individual straps are bent over by the plier one after another.

· Inspection of the joint The conductor (s) must be firmly seated in the cable eye or sleeve.

How is a notched joint checked for firm seat?
_________________________________________________________________________
_________________________________________________________________________
_________________________________________________________________________

TO PREVIOUS SECTION OF BOOK TO NEXT SECTION OF BOOK