Back to Home Page of CD3WD Project or Back to list of CD3WD Publications

CLOSE THIS BOOKMaking Permanent Joints - Course: Basic skills and knowledge of electrical engineering. Trainees' handbook of lessons (Institut für Berufliche Entwicklung, 19 p.)
3. Soldered Joints
VIEW THE DOCUMENT(introduction...)
VIEW THE DOCUMENT3.1. Accessories
VIEW THE DOCUMENT3.2. Steps of Work

Making Permanent Joints - Course: Basic skills and knowledge of electrical engineering. Trainees' handbook of lessons (Institut für Berufliche Entwicklung, 19 p.)

3. Soldered Joints

Soldering is a technique of joining metal by means of molten additional metal (solder). In electrical engineering/electronics, the soft soldering technique (melting point of the solder below 450 °C) is applied.

3.1. Accessories

Soldering fluxes

Soldering fluxes are non-metallic materials preparing the metal surface for soldering. They are important for faultless soldering.

Soldering fluxes have the following properties:

- Removal of unwanted layers from the metal surface.
- Complete moistening of the metal surface to facilitate flowing of the solder.
- Protection of the cleaned metal surface against oxidation.

Soldering fluxes and their behaviour and use:

Soldering fluid

aggressive

for thick multi-core conductors

Soldering paste

aggressive

for thick multi-core conductors or heavily or oxidized conductors

Soldering tincture

conditionally aggressive

for fine soldering

Colophony (rosin), solid or dissolved in spirit

non-aggressive

for manual fine soldering

Solders

Solders are metals with a lower melting point than that of the metals to be joined. Common solders are tin and lead based.

Depending on their use, they are available in different forms:

- Bar solder for soldering baths.
- Thread type solder for manual soldering.
- Strip solder with flux for manual soldering.
- Friction solder for manual soldering of aluminium.

Cleaners

Fluxes, such as soldering tincture or soldering paste, become detrimental to the properties of soldered joints in the course of time. Therefore, it is necessary to remove flux residues after soldering. For cleaning of the soldered joints we use

- spirit or
- naphtha.

3.2. Steps of Work

In practice, there is a variety of forms of soldered joints. The preparation for soldering, however, is always the same.

The following steps are involved:

· Cutting to length and stripping of conductors

The stripping length depends on the relevant use. Stripped conductors must not be notched - risk of breakage!

Tools for stripping of conductors:

Conductor diameter/

conductor cross-section

Tool

Single-wire conductor

0.45... 0.8 mm


Single-wire conductor

1.0 mm, 1.5... 6 mm2


Conductors of more than

6 mm2


Wire and tinsel conductors



· Cleaning of soldering surfaces

Soldering surfaces are stripped conductors, leads (pigtails) of components as well as connections of conductors and components. For making a proper soldered joint it is necessary to clean the surface to be joined by soldering. Denpending on the soldering surface, cleaning is done by

- paint stripper (scraper)

for small wire diameters and components

- cable stripper

for big wire wire diameters

- wire brush


- flame cleaner

for enamel-insulated wires (diameter smaller than 0.2 mm)

· Flux-treatment of soldering surfaces

Why must soldering surfaces be treated with flux prior to soldering?
________________________________________________________________________
________________________________________________________________________
________________________________________________________________________

· Tin-coating of soldering surfaces

With thin-coating a material-closed joint is made by heating the soldering surface above the melting point temperature of the solder by means of a soldering device and by supplying solder on the soldering surface.

· Making soldered joints

Soldered joints are material-closed joints (bonds) of two solderable metals. There are different forms of soldered joints:

- Wire-to-wire joints as parallel, cross or hook joints as well as soldered joints with twisted wires. Parallel and cross joints are mechanically connected by the solder only and, therefore, can be more easely detached. Hook joints and joints with twisted wires are mechanically stronger and more difficult to detach. The tin-coated wires are put together according to the type of joint. The joint is heated above melting-point temperature of the solder by means of the soldering iron and bonded with soldering tin added. Then the soldered joint must cool down with no displacement of the wires.

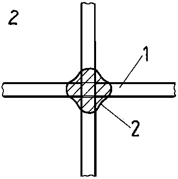
Figure 7 Soldering joints - 1 conductor, 2 soldering joint


7.1. single or parallel joints


7.2. cross joint


7.3. hook joint


7.4. twisted joint

- Wire and cable eye

The cable eye is to be selected depending on the size of the conductor and to be tin-coated, if necessary. A flexible insulating tube is to be slipped over the conductor and, after soldering, over the cable eye and to be fed into the cable eye. The joint is to be heated by means of a soldering device and when adding solder the sleeve of the cable eye is filled. It is to be made sure that the wire end and cable eye form a clear end.


Figure 8 - Wire and cable eye - 1 point to be soldered is to be tin-coated

- Wire and soldering tags


Figure

Soldering tags are produced in various forms. The wire is to be led into the respective tag and to be clamped in place by a flat nose plier. Then the soldering tag is heated by means of the soldering iron and by adding soldering tin the joint is made.


Figure 9 - Wire and soldering tags - 1 correct, 2 incorrect

- Component and soldering tag

What steps are required for joining a component and soldering tag?
_________________________________________________________________________
_________________________________________________________________________
_________________________________________________________________________

- Component and wire

A component-wire-joint is made like a hook type soldered joint.


Figure 10 - Component and wire

- Components on printed circuit boards

Soldering on printed circuit boards is to be done quickly and exactly. The soldering iron's capacity should not exceed 60 W so as not to destroy the sensitive semiconductor components by high temperature. The leads of the components are to be bent and cut to length according to the hole spacing on the printed circuit board and to be tin-coated, if required. The component is to be inserted and the soldering eye and the lead are to be heated from the conductor end by means of a soldering iron adding solder.


Figure 11 - Components and printed circuit boards - 1 lead, 2 soldering point, 3 printed circuit board trace


Figure 12 - Replacing a component - 1 separation point of the defect component, 2 soldering point of the new component, 3 component

What steps are required for replacing a component in Figure 12?
_________________________________________________________________________
_________________________________________________________________________
_________________________________________________________________________

· Inspection of the soldered joint

A correct soldered joint features:

- a consistent, bright surface,
- perfect bond between the solder and the parts connected,
- no holes or inclusions in the surface,
- a mechanically strong connection.

What are the causes for a bad soldered joint showing the following faults?

Soldered joint

Cause

Grey surface
Bad bond of solder

TO PREVIOUS SECTION OF BOOK TO NEXT SECTION OF BOOK