Back to Home Page of CD3WD Project or Back to list of CD3WD Publications

CLOSE THIS BOOKCircuits, Formulas and Tables Electrical Engineering - Basic vocational knowledge (Institut für Berufliche Entwicklung, 201 p.)
2. Bell Circuits
VIEW THE DOCUMENT(introduction...)
VIEW THE DOCUMENT2.1. Direct-current Bell
VIEW THE DOCUMENT2.2. Alternating-current Bell
VIEW THE DOCUMENT2.3. House Bell Installation
VIEW THE DOCUMENT2.4. Alarm Systems

Circuits, Formulas and Tables Electrical Engineering - Basic vocational knowledge (Institut für Berufliche Entwicklung, 201 p.)

2. Bell Circuits

The reference letters and numbers in the illustrations of bell circuits have the following meanings:

a

switch

E

voltage source

b

control switch

f

transducer

c

contactor

g

measuring instrument

d

auxiliary contactor, relay

h

visual and audio alarm

e

protective device

Tr

transformer

2.1. Direct-current Bell


Direct-current bell to be actuated from one place


Direct-current bell to be actuated from two places


Bell installation for reciprocal calls


Sell installation for reciprocal calls with key change-over switch


Bell installation for reciprocal calls with switch-on push-button, line-saving


Bell installation for reciprocal calls, line-saving

2.2. Alternating-current Bell


Alternating-current bell with bell transformer, simple circuit


Bell installation with change-over switch

2.3. House Bell Installation


Circuit of a house bell installation


Circuit of a house bell installation with electric door operator

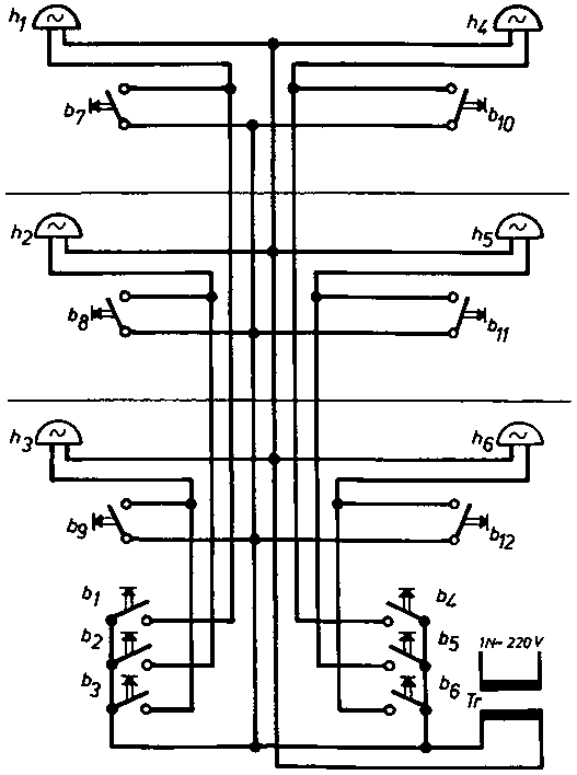
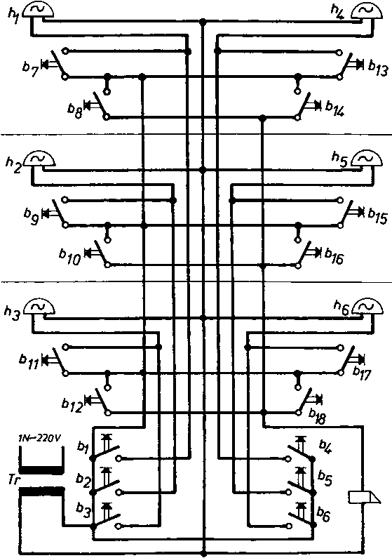
2.4. Alarm Systems


Circuit of an alarm system with normally open contacts b1 test key, 1 glass panel


Circuit of an alarm system with normally closed contacts b2 test key, 1 glass panel

TO PREVIOUS SECTION OF BOOK TO NEXT SECTION OF BOOK