Back to Home Page of CD3WD Project or Back to list of CD3WD Publications

CLOSE THIS BOOKElectrical Installation - Basic vocational knowledge (Institut für Berufliche Entwicklung, 201 p.)
5. Fundamentals of installation engineering
VIEW THE DOCUMENT(introduction...)
VIEW THE DOCUMENT5.1. Fixing and marking the conduction paths
VIEW THE DOCUMENT5.2. Dimensioning of conductor cross sections
VIEW THE DOCUMENT5.3. Installation of lines
VIEW THE DOCUMENT5.4. Preparing lines for fixed installation
5.5. Connection of lighting fittings
VIEW THE DOCUMENT(introduction...)
VIEW THE DOCUMENT5.5.1. Incandescent lamps
VIEW THE DOCUMENT5.5.2. Discharge lamps
VIEW THE DOCUMENT5.5.3. Switching-on process of fluorescent lamps
VIEW THE DOCUMENT5.5.4. Operation of discharge lamps
5.6. Preparing lines for portable electrical equipment
VIEW THE DOCUMENT(introduction...)
VIEW THE DOCUMENT5.6.1. Removal of insulation layers
VIEW THE DOCUMENT5.6.2. Tinning conductors and bending terminal lugs
VIEW THE DOCUMENT5.6.3. Soldering on cable terminals
VIEW THE DOCUMENT5.6.4. Conductors’ terminal sleeves and contact lugs
VIEW THE DOCUMENT5.6.5. Stamping on cable terminals
VIEW THE DOCUMENT5.6.6. Connecting portable electrical equipment
5.7. Preparing tubes
VIEW THE DOCUMENT(introduction...)
VIEW THE DOCUMENT5.7.1. Preparation of plastic tubes
VIEW THE DOCUMENT5.7.2. Preparing steel tubes
VIEW THE DOCUMENT5.8. Installing showers and bathrooms
VIEW THE DOCUMENT5.9. Installation in explosion-prone rooms
VIEW THE DOCUMENT5.10. Principles for connecting power-consumer’s installations to the mains
VIEW THE DOCUMENT5.11. Summary

Electrical Installation - Basic vocational knowledge (Institut für Berufliche Entwicklung, 201 p.)

5. Fundamentals of installation engineering

Within the low voltage range two groups of installations are being discerned:

- installations within the structure
- installations at the structure.

Besides parts of buildings even machines, constructions and appliances are deemed to be structures.

Installation systems are being installed in the low voltage range up to 1 kV ac voltage and 1.5 kV dc voltage. This does, however, not exclude to call high-voltage lighting and x-ray systems above the voltage ranges mentioned, installations too.

Corresponding to the classification of installation systems the methods of installation are also associated with them. The method of installation is essentially selected according to application and the condition of the rooms, but also in respect to economic and architectural points of view.

Prior to starting installation work, a wiring sketch of the system to be installed will have to be drawn. Thereby switching faults are to be avoided.

Table 5.1. Types of installation

Installation system

In structure

On structure

· underplaster installation

· surface installation

· inplaster installation

· installation in duct

· underfloor installation

· cable tray installation

· installation in intermediate ceilings

· installation in accessible intermediate ceilings

· installation in cavity and post-and-beam walls

· bracing wire installation

5.1. Fixing and marking the conduction paths

On principle it holds for all methods of installation to install the lines horizontally or vertically resp. parallel to edges, corners etc. at or within the structure. During this, the nominal measurements and minimum distances in force will have to be observed. They are holding for all methods of installation.


Fig. 5.1. Nominal measurements for fixing installation materials in installation systems demonstrated by a surface installation

1 switch, 2 socket, 3 junction box, 4 cable with fixing clips, 5 feed line to lighting fitting

In order to achieve this requirements, the expert uses simple measuring and auxiliary devices for marking the conduction path.


Fig. 5.2. Handling the folding rule

If lines are to be fixed by clips the fixing distances are to be observed. If several lines as a bunch are to be installed by means of clips this is called “bunched installation”.


Fig. 5.3. Establishing the horizontal line by water level


Fig. 5.4. Fixing a cord


Fig. 5.5. Plummeting


Fig 5.6. Fixing distances for spacing of cable according to table 5.1.

Table 5.2. Fixing distances for lines


Recommended values on single installation

External diameter of bunch




10-15

15-20

20-30

30-50

50-70




recommended values for bunched installation


e1

e2

e1

e2

e1

e2

e1

e2

e1

e2

e1

e2

horizontal

100

250

150

300

250

350

300

400

400

600

400

900

vertical

100

300

150

400

250

500

300

600

400

800

400

1000

e1 resp. e2 see fig. 5.6.

For determination of the fixing points the following steps are to be taken:

- the overall path in which fixing points are to be determined is to be measured, the run of the lines to be marked,

- the first and last fixing point is to be marked according to the recommended values.

- the intermediate space between the first and last fixing point is divided by the nominal measurement being ascertained according to the bunch resp. line diameter. As such, the number of intermediate distances is obtained.

- the number of intermediate distances is rounded off,

- the measured intermediate distance is divided by the number of intermediate distances, thereby obtaining the exact distances between fixing points.

Calculation example 5.1.

The distance between the first and the last fixing point is 4.23 m.

Five lines (diameter of bunch 30 mm) are to be installed horizontally. How great is the distance between clips?

Given:

intermediate distance = 4.23 m nominal measurement according to table 5.2, = 40 cm

searched for:

distance between clips =?

1. Finding the number of intermediate distances (intermediate distance divided by nominal measurement):

423: 40 = 10.57, rounded off = 11 intermediate distances

2. Determining distance between clips (intermediate distance divided by number of intermediate distances):

423: 11 = 38.45 cm 38.4

The distance between clips will be 38.4 cm therefore.

Marking is done by pencil, chalk or lime.

Never copying pencils or oil chalk are to be used, since these substances will not be covered by coats of paint.

5.2. Dimensioning of conductor cross sections

In the plans of the electrical plant to be erected the conductor cross sections to be adhered to and the conductor materials to be used will be contained.

Observing the listed cross sections resp. the minimum cross sections to be applied according to the tables, is of great importance for the safe function of the electrical plant.

Too large a conductor cross section would not be economical, while too small a conductor cross section would hold the risk of unpermissibly high conductor temperatures, of cable burns and thereby failure of the connected consumers’ appliances.

Cable fires were already the cause for catastrophic great fires in the past.

The great importance of observing the prescribed conductor cross sections becomes very clear when evaluating the criteria to be considered for the selection of conductor cross sections:

- Correct determination of load values and fuse amperages considering:

· the material of the conductors,
· the simultaneity factor,
· the number of conductors in the line resp. cable or tube,
· the max. load in kW under attention to the power factor and the length of the line.

- Inclusion of the corresponding impairment factors like:

· conductor’s limiting temperature,
· method of installation,
· number of lines in a bunch.

- Maintenance of small transfer losses like:

· voltage loss,
· power loss.

In table 5.3. the minimum conductor cross sections in force for certain fields of application are contained. These conductor cross sections must not be undercut.

Table 5.3. Minimum cross sections of conductors

Line

type of installation/application

Min. conductor cross section Cu (mm2) Al

main current line

in installation systems on direct connection to bus

1.5

2.5


bars or similar main distribution lines

2.5

4


service taps in front of main fuses

16

25


main distribution, main and meter feed line (rising line)

6

10

auxiliary current lines

on direct connection to bus bars or similar main distributions

2.5

4

lines for connection of portable appliances

couplers for 16 A rated current

1

-

lines at current converters

general

2.5

4

5.3. Installation of lines

Fixing of the line material is determined by the method of installing the line at or within the structure.

In case of underplaster or inplaster installation the line materials are mounted within the structure by

- gypsum binder,
- steel nails or
- adhesive.

Care has to be taken to get the line materials so deeply embedded in the structure as to have them completely covered by the layer of plaster to be provided.

Prior to plastering the walls the boxes should be carefully stuffed with paper after entering the ends of the lines into the boxes. Thereby considerable contamination of the interior of the boxes including the line ends by plaster or paint residues will be prevented.


Fig. 5.7. Line path on a corner when applying underplaster installation

1 wall, 2 ceiling, 3 chiselled-out corner, 4 cable, 5 plaster


Fig. 5.8. Installing ribbon cable

1 ribbon cable, 2 gypsum binder, 3 brick wall, 4 separated ribbons between ribbon cable conductors for making horizontal bends at ribbon cable

Due to changed techniques in the interior work of buildings, installation engineering had to adapt to these trends, e.g. placement of cavity walls and suspending inserted ceilings of gypsum.

In inserted ceilings lines resp. cables are placed on cable trays, concentrated in bunches or are laid out straight without mounting. Within cavity walls or post-and-beam walls the lines are lead preferably horizontally or vertically to the connection points in question (switch, socket outlet, or junction box). Here, in most cases fixing will not be possible.

In surface installation new fixing methods have replaced the traditional dowelling technique.

The glueing method is very economical. The underside of the clips is glued to the structure. This method can, however, be applied only on roughly cleaned walls (concrete, brickwork, steel) and on lean plaster for preserving the durability and load-carrying capacity of the adhesive joint. Moreover, it is recommended to employ the glueing method within buildings only. The processing instructions given by the makers of the adhesive are to be observed under all circumstances.

Plastic expander dowels are universally applicable. They are not only useful in fastening the lower portions of clips for installing lines, but also lighting fitting and other supporting elements may be mounted to them.

For drilling mounting holes of expander dowels electrical percussion drills with carbide tipped twist drills are used. Only in rare exceptional cases hand drills are being applied. Carbide tipped twistdrills have soldered on tips suitable for all wall types. Only when hitting metal, e.g. reinforcements in concrete, drilling will have to be interrupted at once, since the drill’s tip would be spoiled.


Fig. 5.9. Fixing methods in surface installation

1 dowelling method, 2 bore hole with expansion dowel, 3 shooting device with external thread, 4 glued spacing clip for damp rooms, 5 nailed clip

(The hand drill is to be turned in the bore hole after each blow of the hammer for preventing it from getting stuck in the hole). The lower portions of the clips are to be placed exactly along the marked line paths. This can be achieved by means of a string stretched between two lower portions of clips.


Fig. 5.10. Placing the lower parts of spacing clips for damp rooms aided by a cord

Because of a great number of wires resp. cables in industrial buildings these are frequently put on cable trays. If they are placed horizontally on the cable tray fixing them will not be required. Only if information and power wires resp. cables are laid together on a cable tray they will have to be separated from each other so far as to render it impossible for the power wires resp. cables to interfere with the information wires resp. cables. In case of vertical installation of wires resp. cables on cable trays they must be fixed by clips or suitable binding materials.


Fig. 5.11. Installation of cables on cable trays

1 cable tray, 2 supporting elements, 3 cable

Prior to installing lines they are rolled off their coils. This has got the advantage of avoiding twist in the length. Such twist can hardly be eliminated any more and will reduce the quality of the installation.


Fig. 5.12. Uncoiling cable by hand

Before cutting lines, the length required is to be measured for keeping waste as low as possible.

For aesthetical reasons the lines are to be run straight-lined in the clips. In case of installing individual or bunched lines by damp-proof clips this will be achieved by observing the following working steps:

1. The lines to be installed are to be laid out parallely.

2. Either the upper portions of the clips will be loosely mounted over the bunched cable or the wires are to be tied temporarily at the level of the clips.

3. The upper portions of the clips will be systematically fitted from one side. Possible twist in the lines is to be eliminated during this.

4. The bunch will be tied between the clips.

In case of installing single lines in damp-proof clips, on straight runs all upper portions of the clips will be loosely mounted on the line. Thereafter the first 2-3 clips are fastened. When the line is then pulled tautly from the other side in the clips and the last 2-3 clips have been tightened, all other upper portions of clips may be fixed. The line will then be positioned straight-lined in the clips.

In case of bunched installation the lines will have to be placed parallely in the bunch. After some upper portions of clips have been loosely mounted on the run of the line path and the bunch has been fixed temporarily, straightening the bunch and fixing the clips is to be started from one side.

Junction boxes which are to branch lines from bunches are to be mounted on pedestals above the bunch. The line will be bent to the shape of a tier and entered into the box. Unnecessary bends should be avoided.


Fig. 5.13. Bunched installation

If lines are to be brought out from the bunch this will be done preferably from the rear for the sake of good look. When concentrating lines in bunches for installation, load impairment factors will have to be considered. The values of current-carrying capacity and coordination of overcurrent protective devices (fuses) as well as the load impairment factors to be considered are to be taken from tables 5 to 10 of the textbook “Circuits, Formulae and Tables of Electrical Engineering”.

Within the hand range all electrical devices must be locked in such a way as not to be opened without tools.

Hand range means the spatial range which can be reached by a person’s hand without using auxiliary means. It extends from the standing point 2.50 m in height, and in horizontal direction as well as downwards it will be 1.25 m to all sides!


Fig. 5.14. Demonstrating the hand range

1 standing area

Underfloor installation systems are mainly applied in business premises, where in large rooms many consumer’s installations are positioned in the central areas of the room and are frequently shifted, like e.g. in open plan offices for connection of electrical typewriters, telephones, desk computers etc.


Fig. 5.15. Schematic representation of underfloor-installation

1 cable duct, 2 pull-through box, 3 terminal box for electrical appliances, 4 sub-floor, 5 finished floor

As an installation type outdoors the bracing wire-suspension is known besides the moisture-proof installation. In this case the lines will be tied to a bracing wire. However, care has to be taken not to affect the structural safety of buildings by the required bracing.

Between ground and lower edge of components a minimum clearance of 2.50 m, at crossings of streets, roads and squares a minimum clearance of 3.50 m will have to be observed.

As bracing wire a max. 5 mm thick steel rope (or steel wire) will be used which is to consist of one piece within a span section. One span section must not exceed 50 m.

Within a span section the bracing wire is stayed by supports and thereby subdivided into subsections.

When installing luminous rows the bracing wire must be supported e.g. every 3 - 6 m.


Fig. 6.16. Bridging a yard by bracing-wire installation

1 screw shackle, 2 bracing wire, 3 cable, 4 modular line, 5 lighting fitting, 6 junction box, 7 spacing clip, 8 board rendering information on year of erection and rope load

5.4. Preparing lines for fixed installation

For cutting lines and removing the insulation at the lines’ ends suitable tools will be employed like side cutting pliers, cable strippers, stripping tools or automatic wire stripping pliers.


Fig. 5.17. Removal of insulation at a plastic cable by stripping device

1 handle of stripping device, 2 cable, 3 edge, 4 knife, 5 space for cable

[...]

- If at a socket with earthing contact the protective measure “neutralization” is to be applied, the neutral conductor with the protective function will first be run to the socket’s earth contact and then to the plug contact on the right side. The neutral conductor with protective function must not be interrupted in this case, but has to be wired as a loop.


Fig. 5.21. Connecting a socket with earthing contact to a two-core line

1 phase conductor, 2 neutral conductor (looped through the terminal of the protective conductor)

For reasons of clearness in electrical systems a certain wiring order has to be maintained in junction boxes.


Fig. 5.22. Terminal arrangement in a junction box

Locking and sealing of electrical appliances is of great importance.

Screwings being frequently found on devices working in damp or wet rooms are to be firmly tightened. Sealing elements like reaction rings or rubber seals must not be omitted.

It is very important to observe the required degree of protection. This will be determined by the kind of room in which the electrical system will be installed:

- dry rooms: dwelling houses, public buildings,
- damp rooms: bakeries, cold storage rooms, outdoor plants, cellars,
- wet rooms: bathrooms, greenhouses, laundries,
- fire-prone rooms: petrol stations, garages, straw storages,
- ship’s installations and underwater systems.

The higher the climatic demands on electrical devices to be installed, the higher has to be their protection against intrusion of foreign matter (sand, dust etc.) and protection against contacting their live parts as well as against moisture of any kind. The degree of protection in electrical appliances and equipment is indicated by the makers. It may be read from the casing resp. the rating plate.

In the plans for the installation system the degree of protection will be prescribed, however.

The overall degree of protection in an electrical system is as high as the lowest degree of protection in any of the installed electrical appliances!

Depending on the required degree of protection, between screwing and the device a sealing washer must be inserted.


Fig. 5.23. Screw plug on damp room cable in front of an electrical appliance

1 cable, 2 screw bushing, 3 reaction ring, 4 sealing rubber, 5 case, 6 appliance’s wall, 7 sealing compound

Besides the traditional clipping of electrical connections to appliances there are further methods of connection which have succeeded in installation engineering. These are stamped connections and plug connections.

Stamped connections are permanent connections in which the conductor ends to be connected are stamped together in compression sleeves by means of stamping pliers. This procedure is similar to stamping on terminals. By applying stamped connections terminal connection pieces in the junction boxes are omitted.

Moreover, such stamped connections may also be used in various electrical appliances like e.g. lighting fittings. The conductor ends will be stripped and properly placed in the wiring space of the electrical device.

By squeezing the hand stamping pliers together up to the stop a durable and well conductive contact will be established.


Fig. 5.24. Hand stamping pliers

1 grips, 2 mechanical and stops


Fig. 5.25. Finished stamped conductor connection

1 compression sleeve, 2 insulating tube

Since the compression sleeve is made of conductive material, an insulation tube is slid over the former in order to avoid short-circuits.


Fig. 5.26. Stamped connections in a junction box

Due to their different electrical and mechanical properties, copper and aluminium must not be connected to each other in one compression sleeve.

Plug connections of different kinds have made their way in electrical engineering, e.g. in the internal wiring of fluorescent lamps or washing machines. But also in junction boxes plugged connections are being employed. They can be made very simply. Depending on the type of plug connector the stripped conductor is entered into same and gripped. If disconnection is required the conductors may be removed from the plug connectors in a simple way.

For this connection method it is foremost required to attach the properly stripped conductors firmly to the plug connectors.


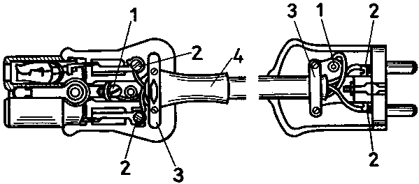
Fig. 5.27. Plugged connections

1 conductor, 2 insulation, 3 conical thread, 4 spring-type clip, 5 plug contact, 6 counter contact

5.5. Connection of lighting fittings

In illuminating engineering there are basically two types of lamps:

- radiant temperature lamps (incandescent lamps).
- discharge lamps.

Incandescent lamps are directly operated by the mains voltage via pertaining lighting fittings and lamp holders.

This will not be possible in case of discharge lamps. For their operation corresponding fluorescent lamp ballasts are required.

5.5.1. Incandescent lamps

Radiant temperature lamps as incandescent lamps are being used in various sizes and applications. Most frequently they will be found as general service lamps.

In incandescent lamps the construction of which is shown in fig. 5.28. a thin coiled filament of tungsten is raised by Joule heat to incandescence and thereby caused to light. The share of the power consumed being useful as light is very small. In average the share of the radiation power being effective as light will be approx. 4%.


Fig. 5.28. Construction of a general service incandescent lamp

1 bulb, 2 holder, 3 filament, 4 filament support, 5 base wire, 6 electrodes, 7 base contact

The colour of the light in incandescent lamps is similar to daylight, however, the share of red prevails, while the share of blue in the light is small.

For enabling a temperature rise in the tungsten filament the filaments are coiled or coiled coil.

Incandescent lamps will be classified according to their power consumption. Incandescent lamps of 15 and 25 W have got evacuated bulbs. Starting from a wattage of 40 W the bulbs of incandescent lamps will be filled with gas. The gas in the bulb of the incandescent lamp will prevent evaporation of the filament. As filling gas a mixture of argon-nitrogen or krypton-nitrogen is being employed.


Fig. 5.29. Filament

1 single coil, 2 coiled-coil

A survey containing the essential data on general service lamps of the incandescent type is to be taken from table 5.4.

General service incandescent lamps are being manufactured for operating voltages of 110 V and 220 V.

Table 5.4. General service incandescent lamps

input wattage w

filling of bulb

filament

type of base

15




25

vacuum

single coil


...




40

argon-nitrogen



60




75




100


coiled-coil

E 27

150

or



200




300




500

krypton-nitrogen

single coil

E 40

1000




General service incandescent lamps may be either supplied with clear bulbs or inside-frosted bulbs.

They are also made with inside-mirrored bulbs for decorative purposes. This enables in a simple, but direct way a concentrated lighting of objects to be emphasized in show-windows, exhibition rooms, display boxes etc.

There are special versions of incandescent lamps for different purposes. Among them are miniature lamps (incandescent lamps for scales in wireless sets, bicycle and torch lights), decorative lamps or projection lamps for film projectors.

Incandescent lamps are, besides with a screw cap, also manufactured with a bayonet cap or with festoon bulbs.

Connection to lighting fittings is done in such a way as to always connect the dead conductor to the annular contact and the live conductor to the base contact of the lamp holder.


Fig. 5.30. Bayonet cap and festoon bulb

The lighting fittings are to be installed according to the mounting instruction of the maker in question. Usually lighting fittings are suspended on ceiling hooks or screwed to ceilings or walls.


Fig. 5.31. Mounting a ceiling fitting

1 dowel, 2 feed line, 3 ceiling hook, 4 lustre terminal, 5 cable of lighting fitting, 6 pendulum, 7 shade


Fig. 5.32. Cross section of a lamp holder

1 and 2 housing of holder, 3 holder support, 4 thread for incandescent lamp, 5 foot contact, 6 lamp base contact, 7 connecting screws, 8 fine thread for pendulum, mount or similar


Fig. 5.33. Mounting a wall fitting

1 feed line, 2 expansion dowel, 3 fitting base, 4 glass cover, 5 holder

Metal housings of lighting fittings are to be included in the protective measures against too high a contact voltage!

Incandescent lamps are foremost employed in the lighting of dwelling rooms. In industry and other trades they are primarily applied for lighting work places and as temporary lighting (construction sites).

In rooms to be darkened (cinemas) lighting by incandescent lamps is employed because it may be adjusted via dimming switches to any desired brightness.

5.5.2. Discharge lamps

Discharge lamps in the low voltage range - (high pressure) mercury resp. sodium vapour lamps - are foremost employed in lighting industrial plants, streets and public buildings. The share of blue resp. yellow in the light is quite high. On the other hand, fluorescent lamps are mostly used in workshops, offices, public institutions and dwellings.

Though the purchase price of discharge lamps is considerably higher than that of incandescent lamps, they offer great advantages:

- Depending on the type, the light yield of discharge lamps is 3-4 times higher at the same power consumption.

- The life of discharge lamps is about 5 times higher.

However, the disadvantage of discharge lamps is that they will need (with some exemptions) ballast and accessories like starters, compensating and anti-interference capacitors without which they cannot be operated. If follows thereof that they can be operated by ac voltage only. Furthermore the brightness of discharge lamps can be adjusted but very little. Some makers of discharge lamps accommodate the ballast of their lamps (mercury and sodium vapour lamps) in the base of the bulb in order to avoid separate ballast gear.


Fig. 5.34. High-pressure sodium vapour lamp

Fluorescent lamps are being manufactured as straight, U-shaped and circular tubes. The have pin contacts.

The shape of mercury and sodium vapour lamps is very similar to that of incandescent lamps.


Fig. 5.35. Straight and U-shaped fluorescent lamp

Fluorescent lamps are made in the range from about 8 W to 120 W. The standard tube diameter will be 32 mm. The most common type of lamps may be seen from table 5.5. Fluorescent lamps are produced to give several light colours. Basic types are daylight white, standard white and warm-tone white as well as several special light colours (blue, red, green, fluorescenting) for decorative purposes.

A fluorescent lamp consists basically of:

- the ballast,
- the starter (standard or tandem starter),
- the fluorescent lamp
- the holder for the fluorescent lamp and starter.

Table 5.5. Input wattage and dimensions of low-voltage fluorescent lamps

Data of fluorescent lamp

straight-shaped

U-shaped

input wattage (W)

20

25

40

65

20

40

65

length of lamp (m)

0,60

1,00

1,20

1,50

0,32

0,53

0,77

For compensation of the arising inductive reactive current, fluorescent lamps are operated with compensating capacitors. The lamp may subsequently be equipped with compensating capacitors. Care has to be taken to connect the capacitor in parallel to the lamp.


Fig. 5.36. Construction of a fluorescent lamp

1 base contact, 2 feeding wires, 3 support, 4 passing wires, 5 glow cathode, 6 screening, 7 glas bulb


Fig. 5.37. Construction of a starter

1 glass bulb, 2 feeding wires, 3 bimetal with tungsten contacts, 4 anti-interference capacitor


Fig. 5.38. Starter

1 case, 2 viewing glass, 3 contacts

In special cases additionally an anti-interference set may be built into the fluorescent lamp or the control gear of fluorescent lamps may be housed in separately arranged cubicles. This may be required in laboratories, where sensitive measuring instruments may be disturbed by the magnetic fields of the ballast.

A fluorescent lamp of 40 W is compensated by a 4mF capacitor. For a 65 W fluorescent lamp a 7mF capacitor will be employed. The compensating capacitor is connected in parallel to the fluorescent lamp.

Fluorescent lamps may be mounted directly to ceilings or walls, suspended from ropes or chains as well as arranged into luminous rows.

When lighting mechanical workshops by fluorescent lamps, these should be distributed among the three phase conductors of the three-phase network for avoiding the stroboscopic effect.

The stroboscopic effect will appear if the discharge lamps are connected to one phase conductor only. Quickly running parts of machines may then appear to be at a standstill or run but very slowly at certain numbers of revolution.

This effect creates a great source of danger. Accidents may take place if workmen are overcome by this optical illusion and reach into machines seeming to be at a standstill. This effect is, however, used e.g. in spark setting devices for motor vehicles.

Distributing the fluorescent lamps among the three phase conductors of the three-phase network has got further advantages besides avoiding the stroboscopic effect:

- In case of failure of one phase conductor most of the lamps will continue to work.
- An even loading of the phase conductors will be achieved.

By and by fluorescent lamps are spreading into applications hitherto almost exclusively reserved for incandescent lamps, foremost into dwelling rooms.

By introducing a completely new generation of fluorescent lamps with high use-value and low power consumption, replacement of the traditional incandescent lamp is sped up.

5.5.3. Switching-on process of fluorescent lamps

After switching-on the starter, receiving the full voltage via the ballast and the fluorescent lamp’s electrodes, will glow at once.

The starter operates like a glow lamp, one electrode of which is provided with a strip of bimetal.

Owing to heating up, the bimetal electrode will be bent and short-circuits the discharge path. The electrodes of the fluorescent lamp will be pre-heated. After quick cooling off the bimetal electrode of the starter returns to its resting position, thereby opening the circuit in which the ballast, the electrodes of the lamp and the starter are connected. The magnetic field in the ballast will collapse. The voltage impulse induced thereby causes the gas path in the fluorescent lamp to break down, and the lamp will light.


Fig. 5.39. Ballast of a fluorescent lamp

The luminiscent coating being spread over the internal surface of the fluorescent lamp turns to a glowing light due to the ultraviolet radiation being generated in the fluorescent lamp. During operation the ballast serves for limiting the lamp current.

This process of opening and closing the starter circuit will be repeated if the fluorescent lamp does not ignite the first time. Permanent flickering and starting of the lamp points to a defective starter. It may easily be replaced.


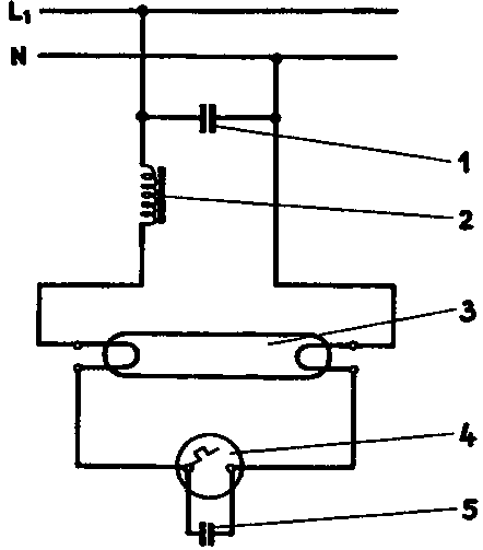
Fig. 5.40. Circuit for operation of a fluorescent lamp

1 compensation capacitor, 2 ballast, 3 fluorescent lamp, 4 starter, 5 anti-interference capacitor

5.5.4. Operation of discharge lamps

Since discharge lamps are consumer’s installation with a share of inductive reactive power, there will be interruption arcs at the switching contacts, foremost during switching off.

This will lead to premature wear of the switching contacts.

In order not to overload the contacts of standard installation switches, no more than 8 fluorescent lamps should be installed in one lighting circuit. If a greater number of fluorescent lamps is to be connected, multisection rotary switches will be installed, or the fluorescent lamps will be operated via contactor control.

Mercury or sodium vapour lamps are generally operated via such switching elements.

Contactor control offers the advantage of being switchable from many locations with considerably less expense as is the case for cross connections. Contactors are being operated by means of so called stepping relays.

Stepping relays are switching elements maintaining their switching condition even if the circuit is opened. Since they themselves are only in a position to switch low currents, they serve to actuate the control circuit of the contactor.

Thereby it will become possible to switch the lighting installation on and off by means of a key switch.


Fig. 5.41. Switching a lighting system by contactor control

1 stepping relay, 2 contactor, 3 key switch (n-fold), 4 control fuse, 5 fuses of lighting system. 6 feed lines to lighting system

The contactors and relays are being housed in the lighting distribution, where also the fuses and a master switch are accommodated.

Lighting installations are not to be protected by fuses of more than 10 A, electrothermal appliances (electrical cookers, water heater etc) by more than 16 A.

5.6. Preparing lines for portable electrical equipment

Portable electrical devices have many applications. Contrary to stationary devices their makers have intended them to change their position during operation.

Some examples of application are:

Domestic field: connection cables for coffee grinders, hair dryers, vacuum cleaners, radio receivers, television sets, washing machines, refrigerators or extension cables.

Trade field: connection cables for hand lamps, portable drills, hammer-drills, connection cables of all kinds for processing machinery.

Lines for connection to portable electrical equipment have got fine-wire copper conductors and are rubber or plastic insulated. By the fine-wire property of the conductors they will become highly flexible.


Fig. 5.42. Heavy rubber-sheated cable

1 rubber sheath, 2 braiding, 3 rubber insulation, 4 fine-wire conductor

Depending on its application in dry, damp or wet rooms or outdoors and its duty, a flexible connection cable of light, medium or strong construction will be used.

Electrothermal appliances are equipped with plastic insulated connection cable only if the max. heating of the device to be connected will be warranted not to exceed + 85°C.

For electrical equipment with plastic cases it is not advisable to use rubber insulated connection cable.

Rubber contains a protective agent against ageing which on contact may come into the plastic material discolouring same under the effect of light.

5.6.1. Removal of insulation layers

When starting to remove the insulation from the conductor ends first the outer common insulation sheathing is to be removed. Thereafter the insulation layers thereunder are being removed.

The conductor insulation of silicone rubber cables will be removed by means of the automatic stripper and not by thermal wire stripping devices due to its heat resistance and the strong smell developing.


Fig. 5.43. Removing the insulation from a light rubber-sheathed cable

1/2 stripping the external insulation cover. 3 wire with insulation removed

Cross sections exceeding 6 mm2 are bared by means of a cable stripping knife. For separating the insulation the knife is put on inclined towards the conductor end, and the conductor insulation will be removed by longitudinal cuts.


Fig. 5.44. Removing the conductor insulation by cable stripping knife

After stripping, flexible cables will be prepared for connection. The usual procedures for this are:

- tinning of the conductors,
- soldering on cable lugs,
- stamping on terminal sleeves and contact lugs as well as,
- stamping on stamped terminals.

5.6.2. Tinning conductors and bending terminal lugs

Tinning of conductors and using soldered cable lugs should be avoided as far as possible and will be permitted in exceptional cases only, e.g. if lugs are to be bent or stamped terminals cannot be applied.


Fig. 5.45. Tinning a conductor

Prior to tinning the conductor ends are to be completely cleaned from adhering oxide residues. These residues will be expediently scraped off by a cable stripping knife. If one fails to do so the tin will not adhere to the conductor.

For tinning, solder with a tin content of 60% and a non-acid flux (soldering paste or rosin in spirits) will be employed. The cleaned conductor is wetted by flux and tinned by means of a soldering iron or in the tin bath. Attention will have to be paid not to burn the insulation of the conductor and not to let soldering tin enter into the core. Not perfectly tinned conductors are to be reworked.

Lugs may be fitted to the conductor end before tinning. The connecting lug may not be too large. For this, compare also fig. 7.6. and 7.7. as well as table 7.1.

5.6.3. Soldering on cable terminals

For soldering on cable terminals frequently propane gas soldering devices are being employed. During this, the safety regulations ore to be observed under all conditions (see fig. 3.25.), for operation. The stripped conductor will be entered into the cable terminal. The insulation of the conductor is to terminate approx. 2 - 3 mm in front of the cable terminal. The cable terminal must be filled. If required, additional bending may take place by means of pliers. Some flux is applied to the conductor end. In order not to burn the conductor’s insulation the conductor is lapped with a flame-resistant fabric up to approx. 10 cm. around the conductor to the upper end of the cable terminal.

Now the cable terminal will be cautiously heated around the lug by the flame. So much tin will be applied to the soldering surface as to cover the whole area by tin, and until a mirror image will appear. The soldering surface is never to be heated so much as to have the solder enter through the cable terminal into the conductor. After soldering it is recommended to mantle the lower end of the cable terminal and part of the conductor for 4 - 5 mm with plastic tape, e.g. in the characteristic colour of the conductor or to pull a piece of plastic hose over the lower end of the cable terminal which was slid onto the conductor beforehand. The plastic tape will be fixed by adhesive. By the plastic tape or plastic hose the protection against contact and the looks of the connection will be improved.

5.6.4. Conductors’ terminal sleeves and contact lugs

Conductors up to a cross section of 16 mm2 will be provided with terminal sleeves or contact lugs, where no other designs are prescribed.

By their simple and unproblematic attachment working time and auxiliaries (solder, flux, electrical power) will be saved. Terminal sleeves and contact lugs of tinned brass are manufactured in different sizes for cross sections from 0.75 mm2 to 16 mm2. Terminal sleeves are fitted by sliding the matching sleeve onto the conductor. If the terminal sleeve tends to shift on the conductor it is lightly to be pressed on by round nose pliers. The required contact pressure will be achieved by tightening the set-screw.

Some makers of tools manufacture even special pliers for pressing on terminal sleeves which are very suitable.

For stamping on contact lugs specially made stamp pliers will be employed.

Terminal sleeves and contact lugs are foremost applied to the internal wiring of electrical appliances and in standard production of switch cabinets.


Fig. 5.46. Stamping on contact lugs by pliers

1 finished contact lug

5.6.5. Stamping on cable terminals

Mechanical hand stampers for stamping on cable terminals are suitable for handling cross sections up to approx. 70 mm2.

Beyond that hydraulic hand stamping devices are being used in practice.

Mechanical hand stampers for conductor cross sections from 0.75 mm2 to 6 mm2 have got a uniform stamp insert.

For bigger cross sections stamping pliers with replaceable stamp inserts are being employed.

On pressing the stamping pliers by means of the stamp insert a deep notch is stamped into the cable terminal. In any case the size of the stamp inserts must fit the cable terminal.

Therefore cable terminals and stamp inserts are provided with corresponding markings. Never cable terminals must be drilled.


Fig. 5.47. Stamp inserts for stamping on cable terminals


Fig. 5.48. Stamping procedure at the upper resp. lower part of the cable terminal

1 upper stamp insert, 2 lower stamp insert, 3 stamped notch

Only immediately prior to the stamping procedure the conductor is to be cleaned from oxide and contaminations by wire brush. The conductor will then be entered into the cable terminal. It is to fill the cable terminal completely.

Some longitudinal expansion arising from the stamping process will have to be considered.

The conductor insulation is to terminate max. 1 - 2 mm in front of the cable terminal.

The stamping process will be completed when both pressing jaws are touching each other or when the stamping pliers allow themselves to be reopened.

5.6.6. Connecting portable electrical equipment

Portable electrical equipment will in most cases be operated via a plug connector connected to a flexible cable. Only in rare cases portable electrical equipment will be connected to switches or junction boxes. This is foremost the case for portable electrical devices in a limited sense, e.g. electrical stoves, electrical grinding machines and column-type drilling machines. For connecting portable electrical equipment the following basic rules will hold:

- Flexible cables are to be provided with a pull relief at the connection points. This pull relief has to work directly onto the connecting cable. Cable entries and screwings are not to be used as pull relief.

- Cables are to be handled under installation in such a way as not to cause kinks or curls and are not to be squeezed. If need arises, the equipment will have to be provided with an anti-kink protection.

- The protective conductor in equipment with protective earthing contact must be longer than the other conductors. It has to be warranted that the protective conductor will be stressed mechanically only after the current-carrying conductors have become loose or been torn off. This will make the protective measure effective to the last.


Fig. 5.49. Pull relief of an appliance coupler with earth contact

1 connection of earth contact, 2 phase conductor, 3 pull relief, 4 anti-kink device


Fig. 5.50. Connection of a three-pole coupler

1 protective conductor, 2 pull relief

5.7. Preparing tubes

Where high mechanical requirements are put to electrical systems, cables will be laid into tubes individually or in bunches. In electrical engineering

- plastic tubes,
- steel tubes,
- flexible tubes of plastic or steel are being employed.

Steel or plastic conduits are a particularly stable tube material. In steel conduits there is a special cushioning layer.

Due to their weather resistance plastic tubes are to be preferred to steel tubes!

Table 5.6. Fixing distances for plastic and steel tubes

Plastic tube

steel tube


spacing of fixing points


spacing of fixing points

nominal bore

straight pipe

before elbows

before sockets, tube ends, wall passages, devices

nominal bore

external diameter

straight pipe

before elbows

before sockets, appliances, tube ends, wall passages

mm

mm

mm

mm

mm

mm

mm

mm

mm

9

800 at max. + 40°C after laying



11

18.6




11




13.5

20.4




13.5


200

150

16

22.5

1000

200

150

16




21

28.3




23









29

500 at max. + 50°C after laying








36


400

200

29

37

1500

400

200

48




36

47




5.7.1. Preparation of plastic tubes

Plastic tubes are to be cut to correct length. Existing burrs are to be removed.

In case of parallel installation of tubes, elbows of the same radius are to be bent for changes of direction. If commercial elbow pieces cannot be used plastic tubes may be bent to the desired radius by means of bending stoves. For avoiding deformations the tube to be bent is to be filled by a bending spiral fitted to the internal diameter of the plastic tube or with fine sand. On filling the plastic tube with sand both ends of the tube are to be plugged.


Fig. 5.51. Bending of a plastic tube

1 electric bending stove, 2 plastic tube, 3 locking plug, 4 bending templet

The plastic tube will be well heated in an electric bending stove and bent on a bending templet. For bending, prefabricated bending templets are employed in order to avoid undercutting the prescribed bending radius. The minimum bending radius for plastic tube is approx. 5 x d of the tube.

Plastic tube must never be heated by open flame, since plastic materials are mostly inflammable!

If plastic tubes are to be joined to each other preferably sliding sleeves are to be used for this purpose. At the erection site, however, also plug-in sleeves will have to be made. In that case one end of the tube is to be heated and then slid over the cold end of the next plastic tube.


Fig. 5.52. Sleeves of plastic tube

1 sliding sleeve, 2 plug-in sleeve

Plastic tubes will be attached to the structure by clamps. Damp room spacing clips, but also double-tongued clips of metal may be used for the purpose.

It is also usual to omit sleeves when installing lines in tubes. The pipe ends will then be joined only.

In front of junction boxes, switches and other electrical gear as well as in front of corners the tube may be terminated. The line is then entered into the electrical gear resp. run around corners and edges without the mechanical protection of the tube. If required, a binding will be provided on the bunched lines or a clamp will be attached.

Plastic tube is supplied in bunches with a length of 3 m.

5.7.2. Preparing steel tubes

Steel tubes can mechanically be stressed more than plastic tubes. Nevertheless, steel tubes should be employed in installations only if the mechanical protection by plastic tube does not suffice.

Steel tubes have got threads on both pipe ends. These threads serve for joining the steel tubes by means of sleeves. Each thread is of about half the length of a sleeve.

Steel tubes may be mounted to the structure by means of clamps. It will, however, also be possible to weld steel tubes directly to the structure of metal. This has, however, to be approved by the customer.


Fig. 5.53. Installation of cable in tube

If steel tubes are cut the arising burrs at the shoulder of the cut are to be removed, in order not to damage the cable insulation. It is also usual to widen the cut tube ends by pushing a strong metal pipe into the tube end and by evenly pressing the pushed-in pipe to all sides to expand the upper edge of the steel tube somewhat. It has, however, to be taken care of not to crack the steel tube during this procedure.

Threads not needed for sleeves should be cut off.

All cut and welded surfaces must be protected from corrosion. If commercial elbows do not suffice for making bends the steel tube is to be bent. This may be done in cold condition with the help of bending devices or in hot condition by means of a welding flame.


Fig. 5.54. Bending of steel pipe in a bending device

1 bending device (base frame), 2 templet matched to pipe diameter

Hot bending of steel tubes demands some experience. Similar as in bending of plastic tubes the steel tube to be bent is filled with sand and plugged on both sides.

A wire model is made of the elbow to be bent or the tier to be produced.

Two thirds of the tube’s circumference are heated by means of a welding flame just on the side where the steel tube is to be bent.

The cold side of the tube will be the inner side of the elbow.

The steel tube will be heated red-hot. The tube will then be bent on a fire-proof base.

Care has to be taken not to allow the tube to be deformed at the inner edge.

The hot tube will be matched to the wire model. After bending the steel tube will be well cooled.

Never pour the hot sand from the tube. There will be the risk of fire and injury!


Fig. 5.55. Hot bending of steel pipe

Bending the steel tube by means of a wooden beam in which case the tube to be bent will be put into a matching hole or slot in the wooden beam and then be bent piecewise should remain an exception.

5.8. Installing showers and bathrooms

For electrical installation of stationary showers and bathrooms it does not suffice to maintain a required degree of protection only. Particularities are also to be considered in the arrangement of the electrical equipment.

There is a multiple of dangers which may be created by faulty execution of the electrical installation in such or similar locations. On the other hand damages at the electrical equipment will occur by corroding contacts reducing its life when not observing the degree of protection.

Short-circuits, failures of the equipment and live casings due to creeping currents can be the most extreme consequences of penetrating water.

The same danger will also arise if unsuitable electrical appliances are being installed.

On the other hand there will be mortal danger to persons if it will be possible to approach from the water live parts of the electrical equipment in a dangerous way or if these can be touched. Therefore the following principles for the arrangement of conductors in installing showers and bathrooms are to be observed:

- In showers and bathrooms installation of conductors in plastic tubes, plastic insulated cables or ribbon cable for under-plaster or inplaster installation is permissible only.

- Cable and wires for power supply to other rooms must not be run through showers and bathrooms. Exempted are the lines of the socket circuit.

- Within the protected area shown in fig. 5.56. no switches or sockets are to be mounted. Exempted are switches installed in electrical appliances like electrical storage water heaters, boilers and continuous-flow water heaters. These appliances are to be splash-proof in all directions.

- Within the protected area shown in fig. 5.57. wires and cables must not be instated unless they are serving to supply electrical appliances like boilers or electrical storage water heaters.

- Wires and cables within the protected area must be installed in adjacent rooms only if there is a minimum distance of 6 cm between the conducting material and the inside wall of the shower or bathroom. In case of heafy concrete this distance may be 4 cm.

- A supply line to a stationary current consuming device within the protected area must be installed vertically from above.


Fig. 5.56. Protected area for installing switches and socket outlets in bathrooms and shower stalls

Installation of cables or wires beneath bath tubs or shower stalls is prohibited!

Switches or sockets must not be installed in shower stalls. In rooms equipped with a shower stall one socket will be permitted if the following conditions are fulfilled:

- The distance of the socket from the boundary of the shower stall is to be 0.60 m at least.

- The socket must be sealed against ingress of vertically falling water.

- There must be a curtain against splash water on the side of the shower stall facing the socket.

- The shower stall must be sufficiently ventilated.

For still making safer shower stalls and bathrooms the pipelines are to be included in the potential equalization. Compare section 1.3.4. in this respect.


Fig. 5.57. Protected areas for installation of cables

Operating electrical devices (radio receivers, electrical heaters) in the immediate vicinity of the bath tubs or shower will be of mortal danger. The electrical shock which may occur when the electrical appliance comes into contact with water will be mortal with high probability, since the person concerned will not be in a position to free himself from the fault circuit!

5.9. Installation in explosion-prone rooms

In many fields of industry and engineering electrical plants must be installed, although there is the risk of explosive matter gathering there in dangerous quantities. This may be gases, vapours or even dusts.

Under such conditions the electrical plant must be designed in such a way as not to cause a risk for explosion.

The equipment and installation materials are distinguished in this case by a particularly robust design.

Yet, not every explosive matter is equally dangerous. For this reason explosive matters are classified in ignition groups.

Ignition groups are such groups in which explosive gases, vapours or dusts are classified according to their ignition temperatures!

Depending on the ignition group of an explosive matter, such equipment will therefore have to be selected for installation showing special design, electric and thermal features. These special features have been fixed in the protective system of electrical equipment.

Protective systems are the result of design, electrical and thermal measures at electrical equipment which exclude the risk of explosion!

For each installation type and the equipment connected thereto the protective system is to be prescribed in the working documents.

For the safety of the fitter the technical data of explosion-proof electrical equipment are provided on a well visible spot, e.g. on the type plate.

It holds for all explosion-proof electrical equipment to be limited to the most necessary extent only.

Every explosion-proof electrical system must be all-pole disconnectable from a place quickly to be reached and not exposed itself to danger. The breaking device for emergency disconnection will be marked red.

On principle all explosion-prone electrical equipment is to be laid out as a damp-proof installation.

When preparing wires and cables the following points of emphasis are to be observed:

- Aluminium conductors may be used from 6 mm2 cross section upwards only, in exceptional cases smaller cross sections can be applied.

- Wires and cables with aluminium conductors being run uncut through explosion-prone rooms may have a cross section of 2.5 mm2.

- In battery rooms exclusive copper must be employed as conductor material.

- Wires and cables are being entered into electrical equipment by means of specially explosion-proof bushings or damp proof screwings only.

- The degree of protection in explosion-prone systems is prescribed.

- At the passage of wires and cables into adjacent rooms being without explosion risk the point of passage must be well sealed.

- Electrical equipment in explosion-prone systems must be sealed by special seals.

Special seals are special screwings permitting opening of the explosion-proof electrical devices by special tools only. This is to assure opening of such electrical appliances but by experts equipped with corresponding tools. Screws with triangular-shaped heads are used for that purpose!

Explosion-proof lighting fittings have got protection covers over the protective glass intended to protect them from damage. Only lighting fittings arranged in such a way as not to be exposed to damage need no protection cover. The protection cover is made of steel.

It is important not to exceed the max. surface temperature of the lighting fitting. Therefore explosion-proof lighting fittings must only be equipped with such lamps for the capacity of which they have been designed. Provision with smaller lamp capacities is permitted.

Sodium vapour lamps must not be used in explosion-prone rooms.


Fig. 5.58. Example for a gas-proof wall passage

1 brickwork, 2 plaster, 3 fixture in brickwork, 4 seal, 5 plate, 6 screwing, 7 cable

If lighting fittings are to be suspended freely swinging they will have to be connected via flexible cables.

In battery rooms lightings are to arrange within the hand range and along the gangways between the batteries.

For repair work in explosion-prone installations electrical hand lamps are also used as working light. It is to be observed to insert shock-proof incandescent lamps into these hand lamps. Maintenance and repair work in explosion-proof installations must be performed in dead condition of the electrical system only. When opening appliances and encapsulated switchgear the protection against explosion will be rendered void. An electrical spark would suffice to trigger an explosion. For this reason replacement of faulty fuses and lamps by laymen is not permitted in explosion-prone rooms.


Fig. 5.59. Mounting of an explosion-proof pendant lamp with mercury vapour lamp

1 feed line, 2 entry, 3 casing of ballast, 4 flexible cable, 5 pendant lamp, 6 protective glass, 7 protective cover

Parts of explosion-proof electrical systems are to be opened in dead condition only. They are to be made voltage-carrying again only after the protection against explosion has been reestablished!

The makers of electrical equipment are partly considering these requirements already when designing their devices. For instance, explosion-proof fluorescent lamps have got internally mounted magnetic switches. As soon as the lamp is opened this magnetic switch cuts the fluorescent lamp. This will permit replacement of fluorescent lamps without risk.

5.10. Principles for connecting power-consumer’s installations to the mains

Generally the consumer’s installation will have to be connected to the mains along the shortest route.

Entries into houses must not terminate in explosion or fire-prone rooms. The service line is to be installed so that the piece of line concerned may burn out in case of an arc-short circuit without spreading the fire. The service line will be mostly a four-core cable.

Rubber sheathed cables are not permitted as service lines!


Fig. 5.60. Service entry via power cable

1 service box, 2 service cable, 3 protective tube, 4 services sleeve, 5 ground

All parts of the installation in front of the current meter, like service boxes, main fuses, main junctions and meter panels should be fit for sealing. This is to prevent unauthorized tapping of power.

Service boxes are being installed in a 3-pole version. The bases of the main fuses must be designed for a nominal current of 63 A at least. The mounting height of service boxes is between 500 and 1700 mm above the upper edge of the finished floor.

There is also the possibility to mount the service boxes out-side the building, but for this the approval of the power supplying utility will be required.

Service boxes installed near easily inflammable materials are to have a high degree of protection. This is established in special rules.

For the installation between main fuse and current meter conductor cross sections depending on the max. expected load are prescribed, however, at least

- 10 mm2 aluminium or
- 6 mm2 copper.

Current meters are being mounted on meter panels. The mounting height of current meters will be 1500 mm from the upper edge of the finished floor. They are to be attached vertically.

Such locations are chosen for mounting current meters, in which they are protected from damage, e.g. wall niches. Such locations should also be dry and not dusty and be protected against deposit of moisture. It is to be secured to have the current meter accessible by the power supplying utility at all times. In dwelling houses with several storeys the current meters are therefore being mounted in staircases or anterooms of storeys.

Mounting current meters in flats is to be avoided!

The following mounting places for current meters are generally prohibited:

Garages, stables, kitchens, bathrooms, laundries, lavatories and passages.

5.11. Summary

An installation system is the totality of the electrical equipment being arranged in or on a structure like consumer’s installations, wires, cables, mounting materials or switches. The installation system will be designed according to local requirements and practical and aesthetic points of view. For all types of installations it holds to run the lines horizontally or vertically resp. parallely to edges, corners etc. on or in the structure.

Lines are classified in those for connection to portable equipment and those for fixed installation. Cables for connecting portable electrical equipment are to be specially prepared prior to connection.

Connecting conductors to each other and the connection of electrical equipment will have to take place in the wiring space of the electrical appliances.

Application resp. function of the required protective measure against too high a contact voltage is to be warranted under all circumstances.

All electrical equipment mounted within the hand range must be locked so that it cannot be opened without tools. When mounting the installation system the required degree of protection for the rooms concerned has to be observed. The degree of protection of the overall system is as high as the lowest degree of protection of an installed appliance. Fluorescent lamps are to be preferred to incandescent lamps in spite of higher purchase prices. They are many times superior to those as regards light efficiency and life.

Fluorescent lamps are to be compensated for improving the power factor.

Where lines might be damaged they are to be protected by tubes. Plastic tubes are preferable to steel tubes.

If commercial elbows of tubes do not suffice, plastic or steel tubes should be bent. Tubes are being joined to each other by sleeves.

On installation of shower stalls or bathrooms protected areas are to be observed in respect to laying of cables and wires and mounting of switches and sockets.

Installation work in explosion-prone rooms is to be done so as to avoid dangers arising from the electrical system. The electrical equipment must correspond to the demands put on them for explosion-prone areas in terms of design, electrically and thermally.

Aluminium lines are to be installed in explosion-prone rooms from a cross section of 6 mm2 upwards only. A cross section of 2.5 mm2 is permitted in exceptional cases only.

Explosion-proof electrical equipment is to be sealed by special seals. It must be opened in dead condition only and be recommissioned only after having been sealed properly. Prior to starting installation work a wiring diagram of the system to be installed is to be made. This will prevent faulty connections.

Examples for basic wiring in illumination engineering are to be taken from the textbook “Circuits, Formulae and Tables of Electrical Engineering”, section 3.

TO PREVIOUS SECTION OF BOOK TO NEXT SECTION OF BOOK