Back to Home Page of CD3WD Project or Back to list of CD3WD Publications

CLOSE THIS BOOKVillage Electrification (SKAT, 1992, 128 p.)
Part 3: Electrical control systems
VIEW THE DOCUMENT(introduction...)
VIEW THE DOCUMENT1. Fundamental principles of electrical control systems
VIEW THE DOCUMENT2. A concept for standardized electrical control systems
VIEW THE DOCUMENT3. Specific problems with isolated, rural electrification schemes

Village Electrification (SKAT, 1992, 128 p.)

Part 3: Electrical control systems

This part is based on a manuscript prepared by S.L. Vaidya and B. Oettli. (S.L. Vaidya is the sucessor of B. Oettli as Head of Hydropower Departement at BYS. Nepal)

This part concentrates on the design of the electrical control, protection & instrumentation systems for an isolated or small grid.

In addition, a few important facts concerning auxiliary equipment like cables and components for lightning protection will be briefly discussed.

Finally, with a special view to installation and operation of the equipment, a few crucial points like transportation of equipment, load management or capacitive load factors in cable networks will be highlighted.

The objective is to provide some specific tools in a narrow field which are practical and well proven and can be applied fairly straight forward.

1. Fundamental principles of electrical control systems

We need first to specify what the term control means in our context. For a small grid with a single generator and a simple power distribution, controlling mainly includes the stabilization of the line voltage and the frequency within certain given limits. This is normally done by measuring these values and then adjusting either the generating gear or the load.

Besides this the control must ensure the safety of people and equipment, shutting down the plant or set off an alarm if any danger occurs.

To control the electrical and mechanical system at least the control sub-systems shown in Table I are required.

Although references will be made at various points to the others, this section is basically dealing with the system control.

The electrical control system generally provides not only the 'control', but also 'protection' and 'instrumentation'. These three sub-systems have to provide a number of functions, the most important of which shall be outlined in the following paragraphs.

1.1 System Control

Electrical control signals enable and trigger essential electrical functions like voltage build-up, load control and management, normal and emergency deexcitation of the generator or shut down of the plant.

In basic electrical control systems like the designs shown in section 3) control is done manually through push buttons and switches. In schemes that are designed for a higher degree of automation, electronic, programmable logic controllers (PLCs) can provide fully automatic start-up and shutdown procedures.

1.2 Protection

While electricity is probably the most convenient form of energy presently available, its use involves certain risks. reduce danger to a minimum, national rules and international standards form a base for electrical safety. Protection systems have to be designed accordingly to fulfil the specified requirements which can basically be categorized into two groups: the protection of human beings (operators, consumers...), and the protection of property (generating equipment, appliances...).

1.2.1 Protection of Human Beings

Touching life parts is extremely dangerous and often even causes loss of life.

The effects of various intensities of earth fault currents through a human body are indicated in Table 2


Table 1 Control Sub-Systems


Table 2 Damaging effects of electrical currents on human bodies

Protective measures are normally divided into three categories: basic, direct and indirect protection.

a) Basic Protection

Is ensured by the insulation of all life parts to prevent from a direct contact.

b) Direct Protection

Is ensured by simply placing electrical circuits and installations out of reach and by prevention of direct contact through enclosures, barriers or covers and housing. The degree of protection is best indicated with reference to the international IP classification. The IP-code consists of two figures: the first one indicates the degree of protection of persons from contact (or the penetration of solids), the second specifies protection against penetration of water. Widely adopted IP classes are summarized in Table 3. In spite of providing basic protection, enclosures and barriers, accidents still may occur for instance in case of an insulation failure. In view of these cases direct protection can be enhanced by the use of residual current operated circuit breakers (RCCB) or earth leakage breakers/relays (ELB/R).

c) Indirect Protection

Is provided by a number of measures briefly mentioned hereunder. Earthing: electrical connection of all accessible, conducting parts like covers, frames or housings together and to earth (neutral potential see also chapter earthing). Also provide effective, automatic disconnection of the supply before a shock is likely to prove fatal. Use of Class 11 Equipment: appliances with double insulation, which have no exposed conductive parts. Electrical Separation: usually provided by isolating transformers with the secondary side floating (non-earthened). This is, however, limited to certain circuits and appliances only. The first method is mostly applied.

1.2.2 Protection of Property

This term generally covers the protection of generating equipment, including generator, electrical control system and power cables inside of the plant, the protection of transformers and the distribution system outside of the plant and the protection of consumer appliances.


Table 3 Standards of Protection of el. Apparatus against Contact of Persons and Water

Most of these subjects are covered by standard text books or manufacturers' data sheets. Specific aspects to which some attention is paid here are: The dimensions of copper wires, the aerating factors for cables, the coordination of current breaking devices and conductors, the breaking capacities and time/ current characteristics of breaking devices and lightning protection.

a) Capacity and Derating Factors for Cables

The permissible current rating of any current carrying device (e.g. generator, cable...) is of course dependent on the actual layout (e.g. the effective cabling used. Table 4a shows correct cross sections for Copper wires) but also on ambient/atmospheric conditions.


Table 4a Copper wire diameters for different currents and installations.

While designing protection for an electrical system, the operating conditions need therefore to be taken into account. Of particular importance are aerating factors for power cables and generators.

Elevated temperatures considerably reduce the rated currents. Correction factors for different ambient temperatures are given in Table 4.

Bundeled cables do not dissipate heat very well therefore, their rated current drops (or for a given current the cross-section must increase).


Table 4 Correction factors k for cable ratings at different ambient temperatures

Some correction factors for grouping single and multicore cables are shown in Table 5.

b) Coordination of Current Breaking Devices and Conductors

As a general rule, conductors in isolated or small grids should be designed for the maximum power that can be generated.

Still, overload conditions can be created for instance by load imbalance in a three phase system. Such overload or short-circuit currents must be interrupted before they cause temperature rises harmful to insulations, joints, terminations and surroundings of the conductor. There must be proper coordination between the protective device and the rating of the conductor.

Notes: These factors are appealable to groups of cables all of the same size and equally loaded, including groups bunched in more than one plane. Where spacing between adjacent cables exceeds twice their overall diameter, no reduction factor needs to be applied Example: a group with 10 single core cables protected by a 60 A fuse. The minimum rating for each cable is 60 A / 0.59 = 101.7 A.


Table 5 Correction Factors for Groups of More than Three Single Core Cables or More than One Multicore Cable

As a rule of thumb the following coordination guidelines can be applied:


Table 6 Correction factor for rated currents

It is understood that such design practice might lead to slightly overdimensioned, but safe!, power cables. On the other hand, this practice takes into account tolerances of fuses and other breaking devices that do not necessarily operate at their rated value.

c) Breaking Capacity and Time/Current Characteristics of Current Breaking Devices

Special attention has to be paid to ensure that a protective device is in fact capable of breaking a short circuit current in due time. The designer therefore has to assure that the breaking capacity is higher than the possible maximum current, a value that should be ascertained by the generator manufacturer.

Effectiveness of short circuit protection can be checked by applying the adiabatic equation.

where t = duration of short circuit [s]

A = conductor cross section [mm2]
I = fault current [A]
k = factor for conductors & insulating material {13}


Table 7 k values to be used in the adiabatic equation for short circuits up to 5 second duration (source: Kempe Engineer's Yearbook)

The calculated time t must be equal or greater than the time taken by the protective device to clear the fault. As a basis for such comparisons, exact time/current characteristics of fuses or breakers used are indis
pensable. As an example a characteristic curve for fuses is shown in Fig 1.


Fig 1 Time/current characteristic for fuses - a sample

d) Lightning Protection

In lightning-prone areas, persons and equipment need to be protected against atmospheric overvoltage. The basic measure for lightning protection is the use of lightning arrestors that divert the surge to the ground.

For high tension transmission systems, it is common practice to place a set of suitably sized surge arrestors at the outgoing lines of a power station and further sets every kilometer of a transmission line. For small low tension systems, 500 V arrestors should be installed close to the equipment.

Adequate earthing must be provided for every arrestor (see part 'Earthing').

1.3 Instrumentation

The instruments incorporated in the control panel shall basically enable the operator to monitor simple electrical system parameters like voltage, currents, frequency and to record load and energy generation! supply-curves. Furthermore they should indicate abnormal conditions and facilitate operation (e.g. load prediction and management).

Instruments should be easily readable and ergonomically installed. They should be grouped logically to avoid confusion. Is an instrument part of the control (for instance speed), and any action has to be taken by the operator, she shouldn't have to move at all. All elements of a control system have to be within reach. The degree of instrumentation will mainly depend on the requirements of the owner and on the complexity of the scheme.

2. A concept for standardized electrical control systems

Electrical control systems for small hydro schemes have been standardized worldwide to a large extent. However, those standards are designed for plant capacities above I MW. For schemes with capacities below 100 kW these standards cannot be applied directly, but have to be simplified and optimized with respect to the specific technical and economical requirements.


Table 8 Definition of categories of complexity for MHP schemes

Remarks: Instead of hydraulic governors electronic load controllers could be used without changing the complexity table.

The major reason BYS have not installed any load controllers to date is simply because all concerned schemes suffer from a lack of water - most plants have daily storage ponds - and minimization of discharge is therefore a must.

The common factor of the two sub-classes of category C is synchronisation (either of the two units or of one single unit to the grid). As there are only minor differences between these two cases they shall further on no longer be distinguished.

Even within the MHP range, the degree of control, protection and instrumentation can vary considerably. Determining factors for the degree of automation are:

- type of operation (isolated mode or connection to a grid)
- number of units
- type of speed governing system (manual or automatic control)
- capacity of plant
- category of operator (state-owned or private) - main consumers (domestic or industrial load)
- particular wishes of owners
- cost of electrical components

The optimal electrical system tends to provide high reliability, safety and user friendliness at competitive prices through equipment and design that is standardized and kept as simple and cheap as possible (but neither simpler nor cheaper than that!).

In connection with MHP schemes a concept that supports achieving these goals is based on the following elements:

-split of schemes into three categories of complexity
-a standardized design for each of the three respective electrical systems
-criteria for the selection of adequate components

2.1 Categories of Complexity

As a basis for the determination of the appropriate electrical system, BYS have divided its hydro power projects within Nepal into three categories of complexity.

2.2 Standardized Designs

In accordance with the above defined categories of complexity, BYS has worked out three standardized electrical systems. These will be outlined based on the corresponding single line diagrams on the following pages. For symbols, abbreviations of components and a summary refer to Table 9 and 10.

Apart from the automatic speed and voltage control of the generating set, the electrical control functions for run-up, voltage build-up, load control etc. are of manual type (push buttons) for all categories.

Electrical control systems based on a programmable logic controller (PLC), providing fully automatic control would form another category, characterized by a much higher level of automation. These systems are of limited relevance in this context and shall not be included here.

2.2.1 Standard Electrical Control System Category A


Fig 2 Single line diagram for the control circuit of category A. The load control is optional.

This system (see Fig 2) represents the basic level of automation and may well represent the absolute minimum requirements for an isolated electrification scheme. Besides a fuse/ circuit breaker to limit the output current and an over voltage relay, which deexcites the generator to limit the line voltage, this system has to be manipulated completely manually by an operator. Instrumentation is marginal, only three values are displayed: The (line) voltage, current and frequency. An hour meter is, however, highly recommended. The operation hours not only determine energy and power output but also the cycle of equipment servicing.

In case the load is simple e.g. does not vary, this might prove an adequate and very economic solution. In case of varying loads, which will be the case in even very simple distributions with several customers, the stability of this system will very soon reach its limits. It is not feasible either to keep a skilled operator all day long on the controls to regulate even moderate fluctuations. An automatic load controller can improve this situation (see part generators, IMAG).

As this system has no synchronisation gear, it cannot run parallel to a grid if a synchronous generator is used.

2.2.2 Standard Electrical Control System Category B


Fig 3 Single line diagram for the control circuit of category B. The earth fault relay is optional.

This category (see Fig 3) represents the majority of the realized rural electrification projects. Compared to category A it provides first of all an automatic speed regulation through a hydraulic governor. It is equipped with additional automatic safety controls like over current, under voltage and (optional) earth fault relay which all de-exile the generator.

Besides this all operations are manual and a skilled operator is needed.

This system is equipped with a substantially improved instrumentation: power, energy and operation time are displayed. This allows a simple recording of production/consumption, which is the base for any efficient energy management (water management), consumption prediction and tariff structures.

Still no synchronisation gear is added limiting this system's use to isolated operation.


Table 9 Abbreviation for the electrical symbols in the circuit diagrams (Fig 2, 3 & 4)


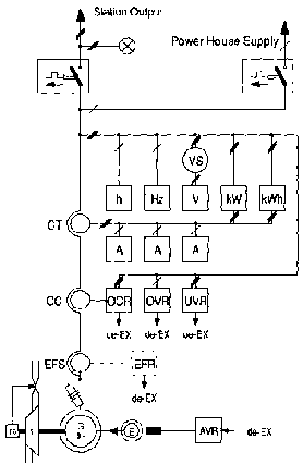
Fig 4 single line diagram for the control circuit of category C. Control panel I and 2 are identical.


Table 10 Summary of the three categories AB&C

2.2.3 Standard Electrical Control System Category C

The design of this electrical system (see Fig 4) is fairly complete regarding protection and instrumentation. Still, it is a manual control system with a semiautomatic paralleling procedure, without any provision for fully automatic control through a PLC.

2.3 Components

2.3.1 Components for Standard Systems

Some more details on components that are either of importance for control or that have been neglected so far.

Breakers / Over Current Protection:

To switch off the generator and disconnect it from the grid, there are two suitable alternatives:

* Moulded Case Circuit Breakers (MCCB). They are remote controllable (for category C systems).

Air Break (power) Contactor (ABC) in combination with thermal overload relays and HBC-fuses or with OCRs.

For very small, normally single phase systems (A), miniature circuit breakers (MCBs) will also serve for this purpose.

Control push buttons should be fitted to provide manual overriding signals for remote controlled breakers in category C systems.

Over-/ Undervoltage Protection:

Protective relays are normally available in different versions:

* single-phase or three-phase

* under- and overvoltage separate or combined

The best solution will mainly be determined by price
and availability.

Instrumentation Transformers:

Ampmeters should never be used with the full load current flowing through. Instead use always current transformers (CT) and standard 5A ampmeters. In rare cases (e.g. synchronisation equipment) PTs might be required.

Synchronizers:

Today's synchronizers are mostly fully automatic, switching the incoming breaker. Still, some simpler non-automatic versions are available which prevent
only from manual closing of the breaker under invalid conditions. As operators of rural electrification schemes are mostly not very experienced, strict use

* of automatic synchronizers is certainly the best solution. It could provide manual control for speed and voltage instead of the fully automatic adjustment through the synchronizers control signals. BYS has always followed this semi-automatic approach with its twin unit schemes.

2.3.2 Additional Equipment

The standard designs are fairly basic and cost-effective solutions (at least categories A and B). Additional components that aim to improve safety and reliability can, however, be incorporated at extra cost. Also the option to operate the station at least part-time unattended is provided. Especially in state run rural electrification schemes, there is a clear tendency towards a higher level of automation.

Typical additional features are:

Speed Monitoring Systems: with at least two independent subsystems for emergency overspeed triggering (e.g. first stage: electro mechanical sensor with speed-indicator and over speed relay; second stage: mechanical overspeed-switch).

Pressure Monitoring Systems: normally simple pressure gauges for penstock/turbine inlet and governor pressure.

- Shutdown-Solenoids: for automatic /emergency shutdown of governor or inlet valve.

- DC-Supply System: to provide an uninterruptible supply for the (DC) control system. It is based on lead acid or alcaline batteries.

- Status & Fault-Indicator Panels: together with DC control systems.

2.3.3 Sources of Origin

In most developing countries one will have to distinguish between two groups of components: components that are locally available and components that have to be imported.

Components that generally fall into the first group are: instruments, switches, push-buttons, auxiliary relays, fuses, CTs, terminals, cables, glands...

Imported components are typically: protective relays, synchronisers, PLCs...

There are some components, which can fall in one group or the other group (medium-technology): MCCBs, ABCs... It is advisable, however, to avoid experiments with locally produced protective relays.

2.4 Summary and Recommendations

A set of standardized electrical control systems has been described above. In practice, however, it might not always be easy to relate a given project clearly to one of the categories specified and to choose the respective standard system, mainly for three reasons: * the classification does take into account neither the type/skill of consumer nor operator. * individual requirements/ requests of the customers might force a redesign to anon-standard system.
components might not be available at all or only at prohibitive costs.

To provide assistance for cases where either none of the proposed standardised designs seems to fit properly or simply to visualize the design and selection process, a list of design/ selection criteria shall be given hereunder.

3. Specific problems with isolated, rural electrification schemes

The foregoing chapters have all focused on the initial design of the electrical control system for a small hydro scheme.

This chapter aims to summarize a few other important aspects that are related rather to installation and operation of a plant. Experience has shown that, if these points are not taken into account during design or the operator is not prepared for when taking up regular operation, serious problems might arise. Most of them are very particular to isolated, rural electrification schemes and are, therefore, seldom tackled in standard text-books.


Table 11 Design Criterias and Recommendations

3.1 Transportation of the Equipment to the Site

Since many rural electrification schemes are located in very remote areas and have no access by motorable roads, transportation of the equipment may pose a major problem. The two alternatives are their transportation by helicopter or portraying by man or animals.

Air lifts for small hydro equipment are only considered if no other option seems to be feasible, as the high cost can hardly be afforded.

In Nepal, the well adopted weight rate for a porter is 40 kg, however, there are specialised "heavy duty" porters carrying up to 100 kg. If the path allows it, a group of porters, equipped with bamboo-sticks or the like, might even be able to carry loads up to 400 kg.

Whenever equipment has to portered to the site, this has to be kept in mind during the design of the whole system. Mechanical components (in particular to the turbine) are normally designed in a way that they can easily be taken apart for transportation.

For generators and control panels, however, this might pose some problems. Generators, for instance, have either to be carried by a group of men or the rotor has to be dismantled. The latter procedure requires qualified, experienced people to disassemble the generator, supervise portering and reassemble the rotor at site. Furthermore, the risk of damaging the generator windings during transportation has to be considered.

The electrical control system for a category C scheme is designed to be splitted into 3 panels (twin units with 2 generators and 1 synchronizing panel).

Typical weights for these components are given in Table 12.


Table 12 Typical weights of generator and control panel for the categories A, B and C.

For smaller sets (about 5 kW output power), generators and control panels can be carried by a single porter.

3.2 Load Management

This general term covers three subjects that are all bound to the load of a plant and often pose problems: - (low) load factors

- (part time) overload - phase imbalance

As the following paragraphs will show, almost every rural electrification scheme has to fight with at least one or all of these constraints. Both design and operation have to be optimizing procedures in order to maximize the use of electricity, but not to exceed the limits.

3.2.1 Improving Load Factors

With regard to the revenue of a scheme, operation at a high load factor is of highest importance. At low load factors the consumers will not be able to afford the electrical energy and consequently operation of the plant will fully depend on subsidies.

If electricity is predominantly used for domestic lighting in the morning and evening hours only, low load factors are inevitable. As an example, the initial load factors of average state-run micro hydro schemes in Nepal are in the range of 10% to 25% only. With the resulting revenue, none of these plants can cover more than 50% of the regular operation and maintenance cost.

Improvement by additional use of electrical energy can mainly be achieved in the area of: cooking: change from cooking on open fire to electric stoves (or even better: heat storage cookers) cooling: power for commercially used electrical refrigerators, cottage industry, operation of flower-mills sawmills, etc., either newly set-up or having been driven by diesel engines before.

Even though this might not be the job of the designer of the electrical control system, every assistance should be provided to enable the operating agency to promote non-lighting appliances. Especially in small scale industries the consumption might quickly be relatively large in regard to the plant's output. For critical equipment like large electrical motors, the potential user as well as the operator might be in need of support. Such may vary from design, selection and supply of star-delta-starters to modifications of the speed governing system of the scheme.

3.2.2 Handling of Overload

Despite of very poor load factors, the (peak) load demand is most often heavily underestimated. The pace of load development is difficult to predict, but in practice frequently leads to an uncomfortable situation: during peak demand hours, a generating set is getting overloaded within a few weeks from starting regular operation of the plant.

Once the total consumer load is higher than the generating capacity, load scheduling is required.

Keeping in view the load factor the plant should thereby always be as close to its maximum capacity as possible.

With manually governed plants, manually operated cut-off or change-over switches will serve to do this job. Much easier and more elegant is the use of modem electronic load controllers for this purpose. Advanced models on today's market incorporate load management features that cut off non-essential loads, but maintain the supply of power to priority loads in case of system overload.

3.2.3 Coping with Phase Imbalance

Before the problem of peak time overload arises, most rural electrification schemes have to face difficulties due to imbalanced load in three phase systems. With the steady increase of the consumers demand, one of the phases might soon be overloaded. Phase loads must roughly be equalized then. Depending on the system and the characteristics of the load demand, one of the following measures has to be taken: rewiring and reconnection of consumers

- load switching by hand.
- load balancing as a feature of modern load controllers

3.3 Capacitive Power Factors

This phenomena is bound to transmission and distribution systems based on multicore cables. Such cables are capacitive and the longer they are the higher becomes the capacitive load to the generator (see part 'power factor correction'). If no inductive loads like motors are connected, the system is consequently operating at a capacitive power factor with the ultimate effect on increased generator currents and possible instabilities.

Since generators are normally designed to operate at inductive power factors from 1.0 to 0.8, it is advisable to consult the manufacturer if capacitive load conditions can be foreseen.

3.4 Line Distortions

The use of thyristor based load controllers produces non-sinusoidal voltage and current waveforms. If these effects are not cured (with proper filters for instance) they will distort the whole electrical system, impairing all installations from the generator to consumers appliances. In the worst case, this effect might damage sensitive, electronic appliances. It influences rating and disturbs the voltage regulation of the generator.

If in doubt, both the generator and the appliance manufacturer should be consulted.

TO PREVIOUS SECTION OF BOOK TO NEXT SECTION OF BOOK