Back to Home Page of CD3WD Project or Back to list of CD3WD Publications

CLOSE THIS BOOKTools for Mining: Techniques and Processes for Small Scale Mining (GTZ, 1993, 538 p.)
Technical Chapter 18: Clarification
VIEW THE DOCUMENT18.1 Thickener
VIEW THE DOCUMENT18.2 Lamella-thickener
VIEW THE DOCUMENT18.3 Continuous (rake) thickener

Tools for Mining: Techniques and Processes for Small Scale Mining (GTZ, 1993, 538 p.)

Technical Chapter 18: Clarification

18.1 Thickener

Mining General
Beneficiation, Clarifying

engl.:

gravity thickener, settling (sedimentation) basin

germ.:

Eindicker, Mehlgerinne, Schwerkrafteindicker, Absetzbecken

span.:

espesador, canaletas pare polvo, espesador por gravedad, estanque de sedimentacion

TECHNICAL DATA:

Dimensions:

up to 40 × 10 m surface area, continuous (Dorr-type) thickeners without rabble arm with approx. 55 inclined walls

Weight:

brick basin

Driving Capacity:

non-driven technique

Form of Driving Energy:

only gravitational influence

Alternative Forms:

mechanized rectangular thickener with scraper for collecting the sludge in the discharge (electric drive), mechanized continuous (Dorr-type) thickener (see technique )

Mode of Operation:

semi-continuous

Operating Materials:


Type:

possibly flocculants

ECONOMIC DATA:

Operating Costs:

only labor cost for removal of sludge

CONDITIONS OF APPLICATION:

Operating Expenditures:

low |————|————| high

Maintenance Expenditures:

low |————|————| high


only sludge removal

Personnel Requirements:

only for periodic sludge removal

Location Requirements:

level areas

Grain Size of Feed:

< 1 ,um up to 50 ,um, max. 5 - 10 % solids in the feed

Special Feed Requirements:

suspended slurry, where the density of the solids must clearly lie above 1. The clarifying characteristics of slurries are dependent on the specific surface area of the particles being clarified or sedimented. This increases inversely proportional to the square of the particle-size of separation; for the finest particle separation, flocculants are added to artificially increase the particle size.

Replaces other Equipment:

the construction and employment of thickeners is absolutely necessary to avoid contamination of the receiving stream and natural drainage basin.

Regional Distribution:

worldwide, in small-scale mining however very rare

Operating Experience:

very good |————|————| bad

Environmental Impact:

low |————|————| very high


environmentally beneficial through clarification of tailings, but large space requirement of sludge ponds is destructive to the natural landscape.

Suitability for Local Production:

very good |————|————| bad


discontinuous rectangular thickener

Under What Conditions:

masonry work

Lifespan:

very long |————|————| very short

Bibliography, Source: Schubert

OPERATING PRINCIPLE:

The slurry to be clarified flows into the thickener, whereby the slurry velocity is reduced. Depending upon the residence time In the clarifying basin, the suspended particles settle out and collect on the bottom of the basin, while the clarified water discharges over the overflow. In semi-continuous thickening operations, a second thickener must be available so as to allow alternate clarifying and sludge-removal between the two basins.

AREAS OF APPLICATION:

For clarifying all types of slurries from beneficiation processes. Thickeners (German: Mehlgerinne or "dust sluice") were already used in the beneficiation of lead and silver ores during the 18th and 19th centuries in the Harz mining region in Germany.

SPECIAL AREAS OF APPLICATION:

In locations with strong winds, increased flow velocities, turbulence and short-circuit currents can impair the clarification.

REMARKS:

The space requirements for thickeners are very high.

The design of thickeners is quite simple. These types of thickeners can be locally constructed of simple brickwork for any beneficiation operation.

Sludge ponds are well-suited for clarifying larger quantities of fine-grained slurries; the distribution of the slurry over the larger surface area increases the residence time of the slurry in the basin, providing a chance for even fine grains to settle out. Where the quantity of sedimented fines is very large, the outer rim of the basin is extended in height to prevent the slurry from flowing over the top. The clay fractions in the settled fines act as a sealant on the bottom of the pond.

SUITABILITY FOR SMALL-SCALE MINING:

In small mines, thickeners are the most inexpensive method for the clarification of tailings that are rich In suspended solids, especially since the basins can be built of simple earth or brick-work.

18.2 Lamella-thickener

Mining General
Beneficiation, Clarifying

germ.:

Lamelleneindicker

span.:

espesador de lamelas Manufacturer: Sala

TECHNICAL DATA:

Dimensions:

inclination of lamella 45° - 55°; 15 - 500 m² projected lamellar area, as a combination lamella-continuous (Dorr-type) thickener up to 2500 m² surface area; volume between 3 and 150 m³

Weight:

1 - 30 t

Driving Energy:

applied only if rabble arm or vibrator is used

Form of Driving Energy:

electrical

Alternative Forms:

mechanical or pneumatic drive

Mode of Operation:

continuous

Technical Efficiency:

very good clarification and thickening

Operating Materials:


Type:

possibly flocculants

ECONOMIC DATA:

Related Costs:

sludge ponds or tailings piles for thickened sludge

CONDITIONS OF APPLICATION:

Operating Expenditures:

low |————|————| high

Maintenance Expenditures:

low |————|————| high

Grain Size of Feed:

for clarification of slurries with the finest of solids particles: 0 - 50 ym, maximum 5 - 10 % (by volume) solids in the slurry feed

Special Feed Requirements:

solids must have a significantly heavier specific density than water; the finest sludges are treated with flocculants to increase particle sizes.

Output:

the recovered slurry is separated into clarified water and thickened sludge

Replaces other Equipment:

continuous (Dorr-type) thickener, sedimentation basins

Regional Distribution:

distributed worldwide in large-scale mining

Operating Experience:

very good |————|————| bad

Environmental Impact:

low |————|————| very high

Suitability for Local Production:

very good |————|————| bad

Under What Conditions:

manufacturing workshops for large-scale equipment

Lifespan:

very long |————|————| very short

Bibliography, Source: Manufacturer information, DAX

OPERATING PRINCIPLE:

The lamella-thickener consists primarily of two components: the upper tank with 45° to 55 -inclined lamellae-plates, and the lower conical or cylindrical sludge-collecting tank.

The slurry feed entering the lamella-thickener separates into two flows due to the presence of vertical chambers at both sides of the lamella-plates and flows through inlet slots between the lamella-plates. Above each group of lamella-plates there is a continuous overflow-channel which is equipped with outlet openings to create a slight hydraulic counter-pressure against the incoming slurry. This method of feeding the slurry guarantees a homogeneous distribution of slurry into all interstitial spaces betweem lamella with a minimum of turbulence at the points of entry.

The slurry lands in the spaces between the lamella through intake-slots located on the sides in the lower region of the lamella-plates. The clarification occurs above the point of slurry intake to prevent mixing of the clarified fluid with the incoming slurry.

The thickening and consolidation of the sludge in the sludge collecting tank can be enhanced through the use of a vibrator or rabble (raking) unit.

AREAS OF APPLICATION:

For use In mining and beneficiation for clarifying and thickening slurries from classification and sorting processes, washing water and mine water. In addition, it is also employed in the metallurgy industry for purification of domestic water.

SPECIAL AREAS OF APPLICATION:

For clarification of solutions from gold leaching processes which contain coarser solids.

REMARKS:

Due to increasingly stricter environmental regulations, the use of thickeners is gaining in importance also for small-scale mining operations. Lamella-thickeners are suitable for small-scale mining only where available space is limited and the quantity of slurry produced is very large, for example in processing plants which are located in cities.

The very simple driveless design of a lamella-thickener enables it to be locally manufactured. The construction materials are:

Lamella-plates

Lamella tank and sludge-collecting tank

PVC

steel, rubberized as required

fiber-glass reinforced synthetic resin

rustproof, acid-resistant, etc.

other plastics


steel


SUITABILITY FOR SMALL-SCALE MINING:

Lamella-thickeners, as a driveless, continually-operating thickener, are particularly advantageous where space is limited. They can be locally manufactured, and their application for clarification of tailings contributes positively to environmental protection.


Fig.: Lamella-thinckener, 1. slurry intake, 2. slurry distribution chamber, 3. lamella-plates, 4. overflow channels, 5. overflow outlet, 6. sludge collecting tank, 7. underflow outlet. Source: Sala company information.

18.3 Continuous (rake) thickener

Mining General
Beneficiation, Clarifying

engl.:

dorr-type thickener, mechanized thickener

germ.:

Rundeindicker, Mechanisierte Eindicker

span.:

espesador redondo, espesador mecanizado

Manufacturers:

Sala, Dorr-Oliver, Denver, Famia, MAGENSA; MAEPSA, FAMESA, Eq. Ind. Astecnia, Buena Fortuna, COMESA, FAHENA, FIMA

TECHNICAL DATA:

Dimensions:

bottom angle cat 8°; outlet cone 45° - 50°; 0.07 - 0.14 m/s peripheral speed of rabble (raking) arm; approx. 10 - 1500 m² clarification surface area

Weight:

brick construction in the ground

Driving Energy:

electrically-driven rabble arm 0.5 (2.5 m 0) - 2.5 (20 m 0) kW

Alternative Forms:

possibly hydromechanical

Mode of Operation:

continuous

Technical Efficiency:

very good clarification and thickening

Operating Materials:

possibly flocculants

ECONOMIC DATA:

Operating Costs:

energy costs

CONDITIONS OF APPLICATION:

Operating Expenditures:

low |————|————| high

Maintenance Expenditures:

low |————|————| high

Grain Size of Feed:

0 - 50 ym

Special Feed Requirements:

max. 5 - 10 % solids content in the feed, density distribution of components must permit gravity separation, i.e. solids must have comparably high specific density

Replaces other Equipment:

settling basin

Regional Distribution:

worldwide application in residential water works for clarifying domestic as well as industrial sewage; also used in large-scale mining worldwide

Operating Experience:

very good |————|————| bad

Environmental Impact:

low |————|————| very high


positive: minimizes sludge-loading (through fines in effluents) on the natural drainage system; negative: large space requirements

Suitability for Local Production:

very good |————|————| bad

Under What Conditions:

smaller units can be manufactured by local machinery and equipment manufacturers, the most complicated elements are the roller bearings and the worm gear for the rabble arm.

Lifespan:

very long |————|————| very short

Bibliography, Source: Ullmann

OPERATING PRINCIPLE:

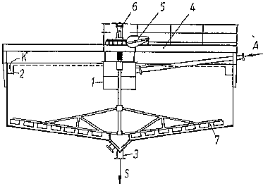
Continuous (Dorr-type) thickeners are round settling basins for clarifying suspensions and thickening slurries. The most simple non-mechanized form is the 'Dortmund basin' with a funnel-shape cross-section, centralized suspension intake and discharge of the sludge either by means of pumping or a gooseneck hose from the deepest point. To increase the clarification area, larger thickeners of flat-cylindical cross-section and flat hopper bottom are in use in which the sedimented sludge is pushed toward the central discharge cone by means of a scraper on a rabble arm. The rabble arm rotates very slowly around the central thickening channel and serves to thicken the sludge in addition to stirring it. The driving force is extremely low. The clarified water flows over the periphery of the thickener and is collected in the overflow channel.

AREAS OF APPLICATION:

Clarification of mine water and beneficiation slurries containing solids particles smaller than 100 ym, as well as thickening of solids before further drying, for example in filter presses, etc., or prior to deposition in sludge ponds.

REMARKS:

The design of thickeners must take into consideration the slurry quantities and characteristics:

Form of drive:

small thickeners are usually driven by worm gears, larger ones are equipped with a peripheral drive

Rabble arm suspension:

smaller thickeners have rabble arms which are suspended directly at the middle axis, in larger thickeners the arm can be supported by a roller at the periphery of the basin.

Basin construction:

can be of steel-plate or concrete; for agressive slurries, wear resistant materials such as rubber coatings, stainless steel or possibly wood should be employed.

Discharge devices:

pipes in goose-neck form, diaphragm pumps or excentric screw pumps are favorable.

Feeding devices:

These should largely eliminate all kinetic energy of the incoming slurry, e.g. by use of deflecting or baffle plates, or tangential entry of the slurry into the cylinder.


In the event that the slurry feed contains solids that tend toward flotation, possibly due to residuals of flotation reagents from the beneficiation processing, those should be removed with stripping devices installed near the feed intake.

SUITABILITY FOR SMALL-SCALE MINING:

Mechanized continuous (Dorr-type) thickeners are appropriate for use in larger small-scale mines where the high space requirement is not problematic, where large flow volumes of slurry need clarifying and where the necessary energy Infrastructure is available. The complicated technology demands the importation of essential construction components.


Fig.: Continuous (Dorry-type) thinckener with central axis. 1) feed cylinder, 2) overflow channel, 3) sludge discharge outlet, 4) drive-unit bridge, 5) drive unit, 6) hoisting device, 7) rabble arms with scrapers, A slurry feed, K clarified fluid, S thinckened sludge. Source: Schubert.

TO PREVIOUS SECTION OF BOOK TO NEXT SECTION OF BOOK