Back to Home Page of CD3WD Project or Back to list of CD3WD Publications

CLOSE THIS BOOKTools for Mining: Techniques and Processes for Small Scale Mining (GTZ, 1993, 538 p.)
Technical Chapter 6: Lighting
VIEW THE DOCUMENT6.1 Underground lighting equipment

Tools for Mining: Techniques and Processes for Small Scale Mining (GTZ, 1993, 538 p.)

Technical Chapter 6: Lighting

6.1 Underground lighting equipment

Deep Mining General
Underground Mining Lighting Equipment

germ.:

Geleucht fur unter Tage

span.:

lluminacion pare interior mine

Producer:

Northern Light, CEAG, Friemann + Wolf

TECHNICAL DATA:

Mode of Operation:

continuous

Throughput/Capacity:

approx. 260 - 300 1 acetylene/kg CaC2 for calcium carbide lamps

Technical Efficiency:

0.7 - 1.1 I C2H2/cd. for calcium carbide lamps, 10 - 17.5 W/cd. for electric lamps

Operating Materials:


Which:

calcium carbide + water gasoline (benzene) possibly battery acid

Quantity:

approx. 250 g + 250 g/MS approx. 100 g/MS

ECONOMICAL DATA:

Investment Cost:

1. calcium carbide lamp: 50 to 80 DM; 2. gasoline safety lamp: 200 DM, 3. cap lamp: 350 to 400 DM

Operating Cost:

fuel cost for 1. and 2., Energy cost for 3.

Consequential Cost through Coupling Effects:

charging station and energy supply for electric lamps

CONDITIONS OF APPLICATION:

Operating Expenditures:

low |————|————|high


calcium carbide lamp

Maintenance Experience:

low |————|————|high


battery lamp

Location Requirements:

All open or naked-light lamps should be used only at explosion proofed locations. The danger of foul air whose oxygen content decreases perilously cannot be determined by the use of carbide lamps.

Replaceable Equipment:

other types of lighting equipment, e.g. candles, open or naked-light


oil or grease lamps

Regional Distribution:

calcium carbide lamps worldwide, gasoline lamps in Latin America, electric cap lamps worldwide

Environmental Impacts:

low |————|————|very high

Suitability for Local Production:

very good |————|————|bad


a photovoltaic battery charging station can be assembled from easily available components calcium carbide lamp

Lifespan:

very long |————|————|very short


electric cap lamp

Bibliography, Source: Fritzsche, Company Information, Information from Mining Pits

OPERATING PRINCIPLE:

As source of lighting for underground mining, diferent types of lamps are here being distinguished:

Calcium carbide lamps:

A calcium carbide lamp is composed of a double container, the upper vessel of which is filled with water dripping under control of a cock into the lower vessel filled with calcium carbide (CaC2). Through the water impact, acetylene (C2H2), a burnable gas results, which is then sprayed under pressure through the burner jet. The gas is flamed at the external opening of the Jet. A reflector is installed behind the flame.

The bright and continually shining light is a remarkable quality of calcium carbide lamps. The consumption of calcium carbide and Water average approx. 250 9/8 furs. The total weight of a filled lamp is approx. 1 - 1.2 kg. Calcium carbide lamps are made out of either metal (iron, steel or brass) or plastic. Beside hand lamps, cap lamps are used in which an approx. 1 m long hose combines gas producing unit with jet. The gas producing unit can then be carried at the belt, whereas the Jet with reflector can be carried at the helmet Besides, there are calcium carbide lamps of smaller size that can be fixed directly at the helmet.

Gasoline lamps:

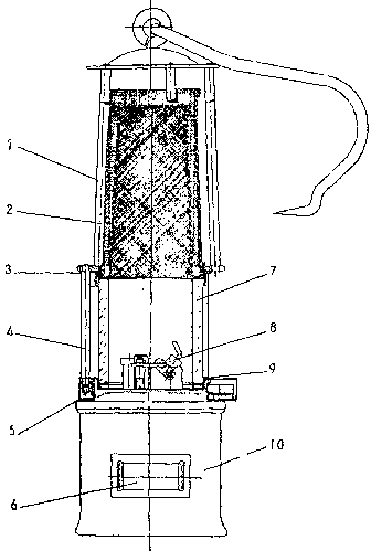
Today, gasoline lamps are still widely distributed in Latin American mines. They are composed of a gasoline tank, a wick system, a burning chamber isolated with glass, and an open wire basket. When explosive gas develops, the wire basket avoids an outbreak of flame into the atmospheric weather by cooling flame temperature. At the same time, gas concentration of mine air in a particular weather can be determined by comparing the flame cap (aureole) with known values. Weight is approx. 1 kg.

Electric lamps:

Electric cap lamps with a battery unit carried at the belt and a supply cord connected to the cap lamp weigh between 1.4 and 2 kg and are shining up to approx. 10.5 to 12 hours. The cap lamp is equipped with a double filament bulb which allows different luminescences and operating periods.
The use of electric lamps is problematic where supply of electricity does not exist.

In areas with high radiation intensity and long periods of sunshine, it is possible to charge battery lamps by photovoltaic method. Two scenarios should be taken in mind. In the first case, direct charging of batteries is done during day time per solar cells, and In the second case, charging of batteries is done by interconnected storage batteries. The volt regulation of charging voltage, however, has turned out to be a problem. If it drops below 5 volts, operation period of the lamp and the amount of possible charging cycles decrease. Normally, an electric lamp can be charged and discharged up to 1000 times. Northern Light Company offers simple charging stations operated by car batteries which, most probably could be applied for charging with solar cells. The cost of a charging unit with direct current of 12 volt ranges between 100 and 120 US$. Cost of electric cap lamps with a capacity of 7 to 14 h are approx. 350 to 400 DM.

Finally, compressed air lamps can be used for stationary lighting. Here, an alternating current generator is driven by compressed air with working pressure between 3 and 6 bar, and consumption of compressed air between 5 and 20 m³/h. As source of light, either a high-pressure mercury lamp (approx. 80W), a halogen lamp (50 - 70W) or fluorescent lamp (20 - 40 W) is used. The weight of these stationary lamps is between 10 and 15 kg.


Fig.: Shape and size of a gasoline lamp flame in correlation to the gas content of mine air. Source: Fritzsche


Fig.: A calcium carbide lamp as hand carrier lamp. Above, water tank; calcium carbide container. Source: Fritzsche


Fig.: A gasoline lamp. 1) upper frame pannel, 2) wire baskets, 3) ring, 4) lower frame pannel, 5) magnetic lock ring, 6) number plate, 7) hard glass cylinder, 8) heat plug, 9) ring, 10) lamp vesel. Source: Fritzsche


Fig.: Electric cap lamp. Source: Frieman & Wolf, Company Information


Fig.: Cross-section of an electromagnetic compressed air lamp from CEAG. Source: Fritzsche

TO PREVIOUS SECTION OF BOOK TO NEXT SECTION OF BOOK