Back to Home Page of CD3WD Project or Back to list of CD3WD Publications

CLOSE THIS BOOKBetter Farming Series 34 - Farming Snails 2: Choosing Snails; Care and Harvesting; Further Improvement (FAO, 1986, 35 p.)
Further improvement
VIEW THE DOCUMENT(introduction...)
VIEW THE DOCUMENTBuilding the third pen
VIEW THE DOCUMENTBuilding a bigger pen
VIEW THE DOCUMENTTaking better care of your snails

Better Farming Series 34 - Farming Snails 2: Choosing Snails; Care and Harvesting; Further Improvement (FAO, 1986, 35 p.)

Further improvement

224. After you have been farming snails using two pens for some time, you may find that you and your family could eat or sell more snails if you had them.

225. You can raise more snails by building another pen. You can either build another 5 x 5 metre pen or you can build a still bigger pen.

226. You can also raise more snails by taking better care of the snails that you have. If you take better care of your snails, year after year they will become bigger, healthier and stronger and produce more baby snails.

Building the third pen

227. Perhaps the most important thing that you can do to improve your snail farm is to build a third pen.


Build a third pen

228. Up until now, using only two pens, you have had to use both of them all of the time so that you could take fully grown snails from one after you had harvested the other.


Using two pens

229. Today, farmers know that it is not good to grow the same crops in the same place all of the time.

230. This is also true if you grow the same food and shelter plants in the same pen all of the time.

231. However, if you plant vegetables in one of your three pens for a year, the vegetables will grow well because of the snail manure in the soil. Afterwards, your food and shelter plants will also grow better because the soil has had a rest.

232. Also, if you raise snails in the same place all of the time, the sicknesses that they may get would do more harm year after year.

233. So, if you plant something else for a year or two and then start with snails again, they will be less likely to get sick.

234. The diagram below shows you how to improve a snail farm by planting a vegetable garden in each pen from to time.


Diagram

Building a bigger pen

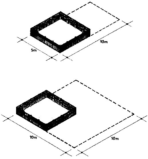
235. You may want to build a still bigger pen for your third pen so you can grow many more snails.

236. If you build a 5 x 10 metre pen, you can grow two times as many snails. If you build a 10 x 10 metre pen, you can grow four times as many snails as you did in a 5 x 5 metre pen.


Pens

237. However, building a bigger pen is a lot more work and you will need

· more land
· more materials to build it
· more food and shelter plants
· more fully grown snails to begin

238. You must also be sure that you and your family have enough time to take care of a bigger pen.

239. If you do decide to build a bigger pen, build it exactly the same way that you built your first 5 x 5 metre pen (see pages 43 to 46 in the last booklet).


Building a bigger pen

Taking better care of your snails

240. The better you understand the snails that you are farming, the better you can take care of them. So, you should always watch them and learn as much as you can.

241. When you have learned the exact kinds of food plants that your snails like to eat, you will see that they grow well.

242. Then, if you always choose the biggest and best snails each time you begin, you will improve the quality of the snails that you are farming.

243. So, with bigger and better snails and with more pens or bigger pens, you will be able to raise many more snails to eat or to sell and you arid your family will be able to live better.


Your family will be able to live better

TO PREVIOUS SECTION OF BOOK