Back to Home Page of CD3WD Project or Back to list of CD3WD Publications

CLOSE THIS BOOKOperations on Smooth Miller and Thicknessing Miller - Course: Mechanical woodworking techniques. Trainees' handbook of lessons (Institut für Berufliche Entwicklung, 10 p.)
VIEW THE DOCUMENT(introduction...)
VIEW THE DOCUMENT1. Purpose of Milling at the Smooth Miller
VIEW THE DOCUMENT2. Construction of the Smooth Miller
VIEW THE DOCUMENT3. Setting of the Smooth Miller
VIEW THE DOCUMENT4. Milling of the Workpieces
VIEW THE DOCUMENT5. Purpose of Milling on the Thicknessing Miller
VIEW THE DOCUMENT6. Construction of the Thicknessing Miller
VIEW THE DOCUMENT7. Setting of the Thicknessing Miller
VIEW THE DOCUMENT8. Milling of the Workpieces
VIEW THE DOCUMENT9. Tasks

1. Purpose of Milling at the Smooth Miller

Milling on the smooth miller serves for making plane broad faces as well as narrow faces being at an angle to the broad face. Milling of broad and narrow faces is the first step of machining the workpieces on the thicknessing miller. The plane faces are the determining factor for the quality of the final product.


Figure 1 - Milling of the broad face

1 workpiece, 2 stop bar, 3 feeding table, 4 column, 5 rear cover of the cutter spindle, 6 front cover of the cutter spindle, 7 handwheel for adjustment of table


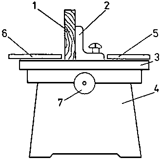
Figure 2 - Milling of the narrow face

1 workpiece, 2 stop bar, 3 feeding table, 4 column, 5 rear cover of the cutter spindle, 6 front cover of the cutter spindle, 7 handwheel for adjustment of table

TO PREVIOUS SECTION OF BOOK TO NEXT SECTION OF BOOK