Back to Home Page of CD3WD Project or Back to list of CD3WD Publications

CLOSE THIS BOOKManufacture of Ceilings - Course: Timberwork techniques. Trainees' handbook of lessons (Institut für Berufliche Entwicklung, 22 p.)
VIEW THE DOCUMENT(introduction...)
VIEW THE DOCUMENT1. Purpose of Ceilings
VIEW THE DOCUMENT2. The Wooden Beam Ceiling
VIEW THE DOCUMENT3. The Framing
VIEW THE DOCUMENT4. The Attic and Collar-beam Framing
VIEW THE DOCUMENT5. The Pitch Size
VIEW THE DOCUMENT6. Load on Wooden Beams
VIEW THE DOCUMENT7. The List of Timber
VIEW THE DOCUMENT8. The Wall Plate
VIEW THE DOCUMENT9. Flooring Sleepers
VIEW THE DOCUMENT10. Special Constructional Recommendations

3. The Framing

The wooden beams placed over a room are called (wooden beam) framing. (See Fig. 8)

For easy identification of the individual wooden beams of a framing for a building, they are provided with a “floor mark” and “jointing mark” and numbered with Roman numerals.


Table 2: Carpenter’s marks

The beam marks are cut in by a mortise chisel or done with a pencil.

Marking is always done from the left to the right and from the bottom to the top.


Figure 5

Marking of wooden beams

1 intermediate beam No. 15 in the 2nd floor ceiling,
2 intermediate beam No. 16 in the 2nd floor ceiling,
3 wall plate

The left-hand side always means looking from the front of the building in the plan view.

The wooden beams of one framing may have different widths but they should all have the same height to avoid levelling for the flooring to be provided.

If the beams of one framing are not loaded by concentrated loads (such as a joining beam of an attic framing), they should be placed at equal spacing.

If a wooden beam ceiling is interrupted by openings (such as stairs, chimneys, ventilation ducts), which cannot be located between the clear distances of the beams, a beam trimming will be necessary.


Figure 6

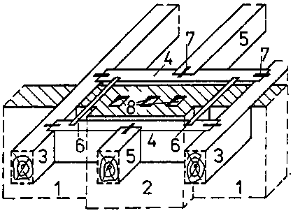
Chimney beam trimming

1 brickwork (centre wall), 2 chimney (three tubes), 3 trimmer beam, 4 beam trimming, 5 tail beam, 6 filling timber, 7 cramp, 8 smoke tube

For chimney beam trimmings a certain distance of the beams from the inner edge of the flue (smoke tube) is to be kept!


Figure 7

Minimum distances of the beams from the smoke tube

1 passing tail beam, 2 beam trimming, 3 tail beam, 4 filling timber, 5 trimmer beam, 6 joining of timbers by straight joint, 7 joining of timbers by angular joint, 8 smoke tube
a = 200 mm or more
b = 60 mm or more

Why must a certain distance from the smoke tube be kept for chimney trimmings?

____________________________________________

Why should all beams of one framing have the same height?

____________________________________________

Which distance from the smoke tube must the beams of a chimney trimming have?

____________________________________________

The designation of the beams is derived from their location within the framing. From the designation the carpenter tells where to place the respective beam in the framing of the building.


Figure 8

1 Verge or gable beam

- at a distance of 20 mm from the wall and parallel to the gable wall.

2 Intermediate beam

- any beam between the listed beams (1) to (13).

3 Wall beam

- immediately above a wall that is parallel to the straining direction of the beams.

4 Passing beam

- at a distance of 20 mm from a wall which is parallel to the straining direction of the beams. (The beam is passing along the wall)

5 Tail beam

- parallel to the straining direction of the beams and ending in a beam trimming.
(The beam is tailed into the beam trimming)

6 Trimmer beam

- parallel to the straining direction of the beams and accomodating a beam trimming.

7 Beam trimming

- square to the straining direction of the beams and either ending in a trimmer beam at both ends or resting on a wall at both ends or ending in a trimmer beam at one end and resting on a wall at the other end.

8 Passing trimmer beam

- at a distance of 20 mm from a partition wall and accommodating a beam trimming.

9 Passing tail beam

- at a distance of 20 mm from and parallel to a partition wall and ending in a beam trimming.

10 Verge tail beam for stair landings

- like (1) above, ending in the stair apron.

11 Tail beam for stair landings

- parallel to the straining direction of the beams and ending in the stair apron.

12 Stair apron

- square to the straining direction of the beams and accommodating the tail beams for the stair landing.

13 Filling timber

- square to the beam trimmings and accommodating the flooring within the area of a ceiling opening.

14 Lustre filling timber

- between two beams and square to them, serves for accommodation of a heavy ceiling fitting (lustre).

At which wall must the verge beam be placed?

____________________________________________

Which distance from the wall must the passing beam or the verge (gable) beam have?

____________________________________________

What is the purpose of the filling timber in a framing?

____________________________________________

In order to place the beams of one framing at equal spacing (pitch), the pitch size is to be calculated first.

According to this size, guiding marks are then scribed on the wall plate or directly on the wall and provided with the jointing mark. (See Fig. 10 and Fig. 11).

Working “off the jointing mark” should be given preference over the other two possibilities because the jointing mark remains visible for checking.


Figure 9

Working with jointing marks
a working “off the jointing mark”,
b width of wooden beam, c working “from centre to centre”,
b working “on the jointing mark”, T pitch size

Why does the jointing mark remain visible?

____________________________________________

What does the term “guiding mark” mean?

____________________________________________

TO PREVIOUS SECTION OF BOOK TO NEXT SECTION OF BOOK