Back to Home Page of CD3WD Project or Back to list of CD3WD Publications

CLOSE THIS BOOKMaking of Roof Flashing - Course: Timberwork techniques. Trainees' handbook of lessons (Institut für Berufliche Entwicklung, 15 p.)
VIEW THE DOCUMENT(introduction...)
VIEW THE DOCUMENT1. Purpose of Roof Flashings
VIEW THE DOCUMENT2. Types of Roof Flashings
VIEW THE DOCUMENT3. The Eaves Flashing of Couple Roofs
VIEW THE DOCUMENT4. The Eaves Flashing of Purlin Roofs
VIEW THE DOCUMENT5. Structural Design of Purlin Roof Eaves Flashings
VIEW THE DOCUMENT6. The Suspended Gutter

2. Types of Roof Flashings

There are three types of roof flashings which can already be provided for in the distance of the roof structure or be made in the course of maintenance work of the building.


Figure 1

Types of roof flashings
(1) eaves flashing,
(2) verge flashing,
(3) extended verge flashing,
(4) extended verge flashing and eaves flashing

The verge flashing

Verge flashing is the projection of the roof boards or battens of a building the roof faces of which are bordered by verge lines.


Figure 2

Bordering of roof faces
(1) top view, (2) front view
1 eaves line of main roof (hip roof), 2 eaves line of gable roof, 3 ridge line of hip roof, 4 ridge line of gable roof, 5 verge line of gable roof, 6 eaves line of hip (hip roof), 7 arris line of hip roof, 8 outside edge of containing wall (hip roof), 9 outside edge of containing wall (gable roof)

The projection of the roof boards or battens at the gable of a building should be within 150 mm to 200 mm. If roof boards are used for fixing the roofing (roofing felt, roofing slate, shingles), they are to be stabilized at the verge flashing.


Figure 3

Verge flashing design
1 roof boards, 2 eaves board, 3 verge rafter (roof rafter at the gable), 4 intermediate rafter, 5 verge board, 6 nailing on roof rafter, 7 nailing of verge board a) projecting length of nail, d) diameter of nail shank, 1 nail length

For stabilization, a board of adequate width (= 120 mm) is nailed under the projecting roof boards. The stabilizing board must be flush at the verge. It is fixed with nails which penetrate the roof boards and the verge board and are at least 5 mm longer. The nails are driven in from above (roof boards) and staggered at an adequate distance from the edge of the verge board.

The nail end penetrating from the verge board is to be clinched with the grain.

Why must the nail be driven in from above?
_________________________________________________________________
_________________________________________________________________
_________________________________________________________________

Why is the penetrating end of the nail clinched with the grain?
_________________________________________________________________
_________________________________________________________________
_________________________________________________________________

Why are the nails driven in staggered arrangement at an adequate distance from the edge of the verge board?
_________________________________________________________________
_________________________________________________________________
_________________________________________________________________

If the verge flashing is not stabilized, the roofing may tear and rain water can penetrate the roofing.

In case of slated roofs the slates may loosen and leave gaps in the roofing.

What will happen when gaps are in the roofing?
_________________________________________________________________
_________________________________________________________________
_________________________________________________________________

To prevent the wind from driving rain water over the verge flashing, which would leave traces of the dirty dripping water on the surface of the gable, a wind plate is fixed along the verge.


Figure 4

Wind plate at verge flashing
1 verge rafter, 2 verge board, 3 roof boards, 4 roofing felt (first layer), 5 roofing nail, 6 wind plate, 7 roofing felt (second layer, pasted)

The wind plate is nailed on the first layer of roofing felt. It must be made of non-rusting material! If the roofing consists of tiles, the roof battens must also be stabilized at the verge flashing. To prevent the wind from lifting the roofing tiles, the width of the verge board and the projection of the roof battens should be of equal size!

The extended verge flashing

An extended verge flashing can be relatively easy provided for when a new roof structure is to be built.


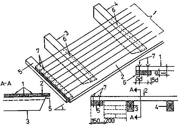
Figure 5

Extended verge flashing with eaves flashing
1 roof boards (roof boarding), 2 verge rafter, 3 inferior purlin, 4 ridge purlin, 5 brace (supporting the cantilever)

It can only be designed with a purlin roof with simple or multiple standing roof truss.

The verge rafters are supported by the purlins which are designed as cantilever and have to be calculated statically. An extended verge flashing to be made in the course of maintenance or reconstruction work would involve a lot of manual work and material.

The eaves flashing

Each roof face must have an eaves flashing.

It can be designed with both the (rafter) couple roof and the purlin roof.


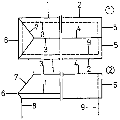
Figure 6

(1) eaves flashing of couple roof (rafter roof)
(2) eaves flashing of purlin roof
1 eaves board, 2 roof boards, 3 roof rafter, 4 wooden beam, 5 chantlate, 6 inferior purlin, 7 beam bearing

The structural design is different. The eaves flashing, if to be designed with new roof structures, can be made with couple or purlin roofs in the course of joining or, if to be designed in the scourse of maintenance work, with existing purlin roofs. The length of the eaves flashing is limited because of lifting wind forces to be expected. On the other hand, it must also match the architectural design of the roof structure of the building and the roof design of surrounding buildings as well.

A low facade with long eaves flashing, for example, would make a building look compressed and plain.

Also, a long eaves flashing would affect the natural incidence of light through the windows of the rooms and have an unpleasant effect on the atmosphere of the rooms.


Figure 7

Long eaves flashing
1 windows

TO PREVIOUS SECTION OF BOOK TO NEXT SECTION OF BOOK