Back to Home Page of CD3WD Project or Back to list of CD3WD Publications

CLOSE THIS BOOKSetting and Operation of Shaping Machines - Course: Techniques for machining of material. Trainees' handbook of lessons (Institut für Berufliche Entwicklung, 26 p.)
VIEW THE DOCUMENT(introduction...)
VIEW THE DOCUMENT1. Purpose and importance of working with shaping machines
VIEW THE DOCUMENT2. Construction of shaping machines
VIEW THE DOCUMENT3. Tools for shaping
VIEW THE DOCUMENT4. Preparation for working with shaping machines
VIEW THE DOCUMENT5. Setting and operation of shaping machines
VIEW THE DOCUMENT6. Care and maintenance of shaping machines

2. Construction of shaping machines

Mechanical shaping machines consist of the following major components:


Figure 1 - Construction of a shaping machine

1 - machine column (frame)
2 - main gearing (gear train and oscillating slider crank mechanism)
3 - ram
4 - ram head with tool slide and tool post
5 - machine table
6 - saddle
7 - table support
8 - drive (electro-motor)

Complete the following list of the major components of a shaping machine.

1. Machine column (frame)

2. Main gearing (gear train and oscillating slider crank mechanism)

3. _____________________________________________________

4. Ram head with tool slide and tool post

5. ______________________________________________________

6. Saddle

7. ________________________________________________

8. ________________________________________________

The various components have to fulfil special tasks. Their exact functioning essentially depends on the proper operation of the control elements.

We distinguish between the following components:

- Basic components

· machine column (frame) with baseplate
· table support

- Main components

· drive (electromotor)

· main gearing (gear train, crank arm)

· feed mechanism

· workpiece clamping fixture (compound slide with table, saddle - clamping at the saddle)

· ram with tool slide and tool clamping fixture (tool post, mechanism for forward and backward shaping)

- Additional components

· starting cams for shaping with formed tool
· stops for shaping with formed tool
· devices for push-type slotting
· gang-type toolholder

The faultless interaction of the individual components and the workmanlike operation of the shaping machines result in the manufacture of workpieces of the required quality and accuracy,

Basic components

The basic components are the machine column and the table support.

The box-like machine column (frame) is made of grey cast iron making possible vibration-free working and even heavy cuts (big metal-removal volume per stroke).

Robust guideways for the ram have been arranged at the upper side.


Figure 2 - Ram guides

1 - flat guide,
2 - dovetail guide

The front side has been equipped with robust guideways for the compound slide, with additional support for the table that can be adjusted in height by means of a spindle (see Fig. 1, part 7).

Why is the machine column (frame) of stable design and made of grey cast iron?
________________________________________________________________________________________________________________________________________________________________________________________________________________________________________________________________________________________________________________________________________________________________________________________________________________________________________________________________________________________________

Main components

The drive for the main and feeding motion is effected by means of a three-phase motor which is mounted in or on the machine frame.

The main gearing consists of a gear train. It is a toothed gearing which in most cases is switchable in 4, 6 or 8 steps, thus providing various speeds of the ram.


Figure 3 - Main gearing of a mechanical shaping machine

1 - electromotor
2 - vee-belt drive
3 - toothed gearing with toothed gears z1 - z12, z12 simultaneously being crank gear/I - III shafts
4 - ram
5 - crank gear
6 - oscillating slider crank mechanism
7 - sliding block

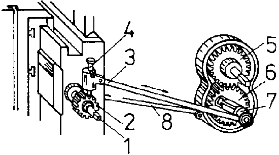
The toothed gearing is followed by the heart of the shaping machine, namely the transmission for transforming the rotary motion into the straight-lined primary motion of the ram. The feed gear produces the automatic transverse motion of the table with the workpiece set up on it (feed motion). It is guided from the main gearing by transmission elements to the table spindle. The transmission elements are arranged on the operating side of the machine. A clutch can be actuated by means of a control lever as a result of which engagement or disengagement of the drive is effected.


Figure 4 - Feed gear

1 - table spindle
2 - ratchet wheel
3 - connecting rod (push rod)
4 - retaining pawl (catcher)
5 - toothed gear z1
6 - toothed gear z2
7 - eccentric pin
8 - link

Shaping is a technique with straight-lined motion (cutting and feed motion). The feed motion takes place in steps.


Figure 5 - Conditions of motion during shaping

1 - tool
2 - workpiece
3 - cutting motion
4 - feed motion

The workpiece clamping fixture (compound slide) consists of saddle and machine table (see Fig. 1, parts 6 and 5).

The machine table is additionally supported.

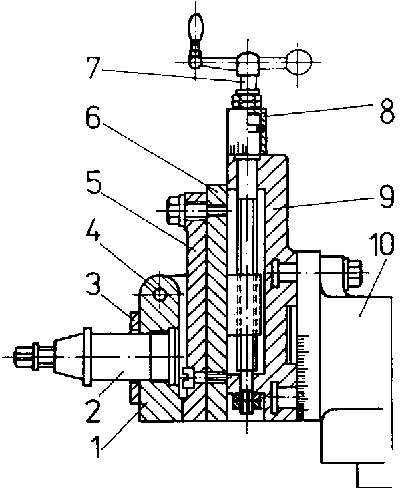
The ram carries the ram head consisting of swivel-head plate, tool slide, clapper box with tool block and toolholder (tool post).


Figure 6 - Ram head with tool slide

1 - clapper
2 - toolholder
3 - tool base
4 - clapper axis
5 - clapper box
6 - tool slide
7 - crank with actuating screw
8 - dividing ring
9 - swivel-head plate
10 - ram

During the working stroke the tool block rests on the clapper box (as a result of the cutting pressure), during the return stroke it is lifted. In this way the tool tip is protected. With older shaping machines the tool is dragging over the work-piece during the return stroke. The working position is reached by the dead weight and, thus, by falling back. Modern machines have an automatic tool lifter.

For shaping oblique surfaces the tool slide can be swivelled on the swivel-head plate. In order to maintain the mobility of the tool block, it is also possible to set the clapper box on the tool slide at an angle, i.e. to swivel it in the circular slot.


Figure 7 - Setting of the tool box when oblique surfaces are to be shaped

1 - tool box
2 - workpiece

Additional components

Additional components are mounted for special operations. Recessing and shaping with formed tool can be carried out with automatic infeed, if adjustable stops or starting cams are mounted. For machining circular-arc shaped parts special ram heads have been developed. The decision in favour of one or the other kind of machining depends on the shape or configuration of the workpiece to be manufactured.

TO PREVIOUS SECTION OF BOOK TO NEXT SECTION OF BOOK