Back to Home Page of CD3WD Project or Back to list of CD3WD Publications

CLOSE THIS BOOKCutting by Milling - Course: Techniques for machining of material. Trainees' handbook of lessons (Institut für Berufliche Entwicklung, 17 p.)
VIEW THE DOCUMENT(introduction...)
VIEW THE DOCUMENT1. Purpose and importance of cutting by milling
VIEW THE DOCUMENT2. Types of milling tools to be applied
VIEW THE DOCUMENT3. Preparation for cutting by milling
VIEW THE DOCUMENT4. Cutting by milling

2. Types of milling tools to be applied

Metal slitting saw blades used for metal working, having different sizes and order of cuts are applied for cutting by milling. The metal slitting saw blades are made of super high-speed steel, The selection and application of the respective metal slitting saw blades depend on:

- the size of the workpiece to be cut and thus the minimum diameter of the metal slitting saw blades is to be deduced.

- the breadth of the metal slitting saw blade from which the given cutting width is determined.

- the raw material of the workpiece to be cut whereby the selection of a coarse-tooth or fine-tooth metal slitting saw blade is determined.

· For tough raw materials (steel and steel alloys) a relatively fine-tooth metal slitting saw blade is applied.

· For brittle raw materials (e.g. grey cast iron) a coarse-tooth metal slitting saw blade is applied.

· For raw materials made of light metals (e.g. aluminium and aluminium alloys) coarse-tooth metal slitting saw blades are applied.

Concerning its constitution and construction the metal slitting saw blade is a tender milling tool. That is why you should take special care when handling and storing metal slitting saw blades. In the metal processing industry metal slitting saw blades being applied on milling machines of the following allowances are used having a

- width from 0.6 up to 6.0 mm, and a
- diameter from 50.0 up to 300.0 mm.

With the outer dimensions of the metal slitting saw blades (width and diameter) also the socket for the clamping means is changed. The sockets of the metal slitting saw blades refer to the standardized diameter of the cutter arbor which is used as clamping means.

The metal slitting saw blade refers in its basic form to the typical form of a cylinder as all milling tools. Only because of its width it gets the form of a very flat cylinder, a sheave. The flat sides of the metal slitting saw blades are hollow ground towards their centre to prevent a "fixing" (risk of breakage) in the workpiece during cutting by milling.


Figure 5 - Metal slitting saw blade

1 - lateral hollow grinding,
2 - metal slitting saw blade in the workpiece (enlarged hollow grinding)

The hollow grinding serves to reduce the occuring friction during the cutting process.

The cutting teeth are situated only upon the periphery of the metal slitting saw blade and are reciprocally provided with a bevel.


Figure 6 - Metal slitting saw blade

1 - reciprocal bevel grinding

Contrary to other milling tools the metal slitting saw blade has no slot for the feather key of the cutter arbor in its socket.

The connection between the cutter arbor and the metal slitting saw blade, i.e. the transmission of the torque is flexible.

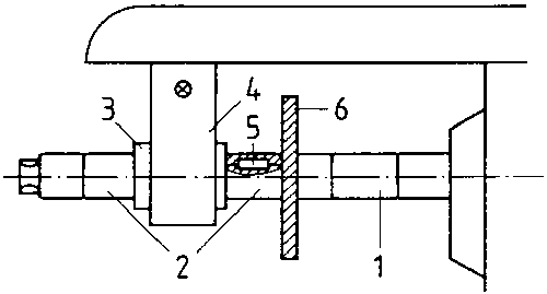
The feather key slot to be found in other milling tools is not present because of the small width of the metal slitting saw blades and the notch effect and the weakening of the cross section by the slot. In order to secure the metal slitting saw blade on the cutter arbor (long arbor) a feather key is placed into one of the arbor rings in the space between the metal slitting saw blade and the arbor bearing sleeve of the end support.


Figure 7 - Fastening of the metal slitting saw blade

1 - cutter arbor,
2 - arbor rings,
3 - arbor bearing sleeve,
4 - end support,
5 - feather key,
6 - metal slitting saw blade

With the application of a short cutter arbor the feather key is placed into an arbor ring between the metal slitting saw blade and the cross worm.

With the application of metal slitting saw blades of a large diameter the fixing of chuck flanges is recommended. They reduce occuring vibrations and provide a guide to the metal slitting saw blade.


Figure 8 - Chuck flanges

1 - metal slitting saw blade
2 - cutter arbor
3 - chuck flanges

There are manufactured coarse-tooth and fine-tooth metal slitting saw blades.


Figure 9 - Metal slitting saw blade

(1) coarse-tooth,
(2) fine-tooth

The coarse-tooth metal slitting saw blades are applied for the cutting by milling of workpieces made of

- aluminium, copper, steel, having
- a tensile strength of less than 600 MPa, and for
- non-metallic raw materials.

The fine-tooth metal slitting saw blades are mainly applied for

- steel, having
- a tensile strength of more than 600 MPa
- thin-walled workpieces
- angle sections, sheet metal
- tough raw materials.

Which milling tools are applied for cutting by milling?
________________________________________________________________________________

What types of metal slitting saw blades for cutting by milling are available?
________________________________________________________________________________________________________________________________________________________________________________________________________________________________________________

For what purpose are the metal slitting saw blades hollow ground at their sides?
________________________________________________________________________________________________________________________________________________________________________________________________________________________________________________________________________________________________________________________________________________________________________________________________________________

TO PREVIOUS SECTION OF BOOK TO NEXT SECTION OF BOOK