Back to Home Page of CD3WD Project or Back to list of CD3WD Publications

CLOSE THIS BOOKMilling of Grooves, Elongated Slots and Break-throughs - Course: Techniques for machining of material. Trainees' handbook of lessons (Institut für Berufliche Entwicklung, 24 p.)
VIEW THE DOCUMENT(introduction...)
VIEW THE DOCUMENT1. Purpose and importance of milling grooves, elongated slots and break-throughs
VIEW THE DOCUMENT2. Kinds of milling tools to be used
VIEW THE DOCUMENT3. Preparation of milling grooves, elongated slots and break-throughs
VIEW THE DOCUMENT4. Milling of grooves
VIEW THE DOCUMENT5. Milling of elongated slots
VIEW THE DOCUMENT6. Milling of break-throughs

2. Kinds of milling tools to be used

For milling grooves, elongated slots and break-throughs the following milling tools are applied:

- slotting mill, shank cutter, T-slot shank cutter
- twist drill fluting cutter (two-flute or three-flute cutter)
- cylindrical cutter, grooving cutter, interlocked cylindrical cutters
- angular cutter with parallel shank
- radius cutter for milling radius grooves.


Figure 5 - Cylindrical cutter (with staggered teeth)


Figure 6 - Grooving cutter (with straight teeth, relieved by turning)


Figure 7 - T-slot cutter


Figure 8 - Twist drill fluting cutter (two--flute cutter)


Figure 9 - Angular cutter with parallel shank


Figure 10 - Shank-type slotting mill

The milling tools mentioned shall be used with the corresponding tool clamping means and fixtures on the column-and-knee-type milling machine (horizontal or vertical milling machine) or on the groove or slot milling machine.

The milling tools used for milling grooves, elongated slots and break-throughs are mainly tools made of super high-speed steel. When tools of this material are applied it is absolutely necessary to use coolant during milling. The use of coolant also depends on the material of the workpiece. Cast materials, for example, do not require coolant.

Before using milling tools it is necessary, especially for milling grooves and elongated slots, to check

- the cutter width of cylindrical cutters or
- the cutter diameter of twist drill fluting cutters, slotting mills and shank cutters.

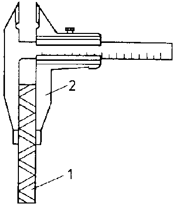
For checking the width of a cylindrical cutter a vernier caliper is suited and for the twist drill fluting cutter also a vernier caliper (if the cutter has two lips) or a limit gauge/bore gauge for cutters with an uneven number of lips (e.g. three-flute cutter) are suitable.


Figure 11 - Measuring of cutter width

1 - cylindrical cutter (with staggered teeth)
2 vernier caliper


Figure 12 - Measuring of cutter diameter with vernier caliper


Figure 13 - Checking of cutter diameter with plug gauge (in case of cutters with an uneven number of cutting edges, e.g. with three or five cutting edges)

TO PREVIOUS SECTION OF BOOK TO NEXT SECTION OF BOOK