Back to Home Page of CD3WD Project or Back to list of CD3WD Publications

CLOSE THIS BOOKSetting-up and Operating of Horizontal or Vertical Milling Machines - Course: Techniques for machining of material. Trainees' handbook of lessons (Institut für Berufliche Entwicklung, 25 p.)
VIEW THE DOCUMENT(introduction...)
VIEW THE DOCUMENT1. Purpose and importance of milling
VIEW THE DOCUMENT2. Types and design of milling machines
VIEW THE DOCUMENT3. Preparation for setting-up and operation of horizontal or vertical milling machines
VIEW THE DOCUMENT4. Setting-up and operation of horizontal or vertical milling machines
VIEW THE DOCUMENT5. Maintenance and servicing of milling machines

3. Preparation for setting-up and operation of horizontal or vertical milling machines

Prior to operating the milling machines, all tools and accessories are to be placed at disposal properly and conveniently and within easy reach observing the following rules:

- Working tools must not lay one above another.

- Measuring and testing tools are to be stored on suitable supports (soft supports: rubber and felt supports).

· Hammer and file handles must be firmly fixed and not be damaged.

· Spanners (open-ended, box and ring spanners), hand and vice cranks must be free from burrs and have the proper size for the purpose of use (bent up openings at spanners and too big spanners/cranks must not be used).

· Clamping tools (machine vices, fixtures, clamping elements) must be suitable for the purpose of locating and fixing.

· Clamping tools for milling cutters (cutter arbors, chucks, collets) must be complete and not be damaged (arbor collars, feather keys, bushings, cap nuts, etc.).


Figure 10. Clamping tools for milling cutters

(1) stub arbor (short arbor) 1 cross screw, 2 driver, 3 feather key

(2) cutter arbor (long arbor) 1 arbor, 2 arbor collars, 3 bush, 4 arbor nut, 5 machine taper (steep taper)

· Tools are to be stored in clean condition.

· All auxiliaries necessary are to be selected according to the work to be done and to be kept ready on proper supports.

Milling of workpieces necessitates firm fixing of the workpieces and cutters. Fixing of workpieces and cutting tools is called “clamping”.

Clamping of workpieces for milling

Clamping of workpieces serves two purposes:

- locating the workpiece, and
- fixing the workpiece.

Locating the workpiece means defining the position and direction of the workpiece depending on the cutter and on the dimensions and datum faces shown in the working drawings.


Figure 11. Machine vice located by sliding blocks

1 machine vice, 2 milling table (machine table), 3 sliding blocks, 4 clamping screws

Fixing of the workpiece serves the purpose of holding (retaining) the workpiece during milling in the position where it has been located.


Figure 12. Workpiece located by sliding blocks and stop

1 workpiece, 2 sliding blocks, 3 stop

There are several possibilities for clamping of workpieces which depend on various factors, such as:

- the geometrical form (e.g. cylindrical or prismatic) and the size of the workpiece and its rigidity (thin-walled, hollow casting or square steel part),

- the position of the face of the workpiece to be machined,

- the number and frequency of the workpieces to be machined,

- the selection of clamping tools available and the type of the milling machine used (horizontal or vertical milling machine).

Mostly used clamping facilities include:

- Machine vice (available in various versions).


Figure 13. Clamping in machine vice

1 workpiece, 2 machine vice, 3 parallel blocks, 4 machined surface

- A variety of holding clamps, clamping screws and set-up blocks.


Figure 14. Holding clamps

(1) flat clamp, (2) channel-type, (3) fork-type, (4) offset at one end, (5) offset at two ends

- Sliding blocks, for locating machine vices or directly locating workpieces.


Figure 15. Sliding blocks

1 sliding block with hole for fixing screw

- Angle plates of solid, rotary and swivelling types.


Figure 16. Angle plates

(1) angle plate (90°), (2) angle plate (clamping table), rotary and swivelling

- Chuck jaws with or without rotary base plate.


Figure 17. Jaw chuck

1 three-jaw chuck, 2 base plate with scale, 3 control lever

- Workholding fixtures for single or multi-component set-ups.


Figure 18. Workholding fixture in direct table clamping

1 workpiece face to be machined, 2 holding clamp, 3 first face machined, 4 support, 5 clamping screw with nut and washer

- Indexing attachments, direct-indexing attachments, universal indexing attachments, rotary indexing tables.

- Clamping auxiliaries, such as stop bars, Vee-jaws, pre-clamping angle plates and clamping mounts for rotary-table indexing.


Figure 19. Clamping accessories

(1) stop bar with holes for fixing screws, (2) Vee-jaws (horizontal vee), (3) Vee-jaws (vertical vee), (4) pro-clamping angle plates, (5) clamping mount for rotary indexing table and locating hole in workpiece

Workpiece clamping tools and auxiliaries must serve the following purposes:

- Firm holding (fixing) of the workpiece to secure them against displacement by forces applied during milling.

- Exact and definite location of the workpiece.

- Ensuring sufficient stability and rigidity to permit full utilization of the machine and cutter.

- Quick and easy change of workpieces without any danger.

When clamping the workpieces it is to be made sure that the workpieces, clamping auxiliaries (e.g. jaws of the machine vice) and clamping supports are clean and free from burrs.

Any impurities and burrs will result in deviations from the location and, consequently, from the dimensions of the workpiece and in damage to the workpiece surface.


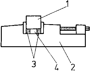
Figure 20. Impurities in clamping

1 chip under machine vice

When clamping thin-walled or instable components it is to be made sure that the clamping force will not deform the workpiece so that it becomes unusable.


Figure 21. Thin-walled, instable workpiece

1 wrong clamping area - workpiece becomes deformed, 2 favourable clamping areas

Why is it necessary to use serviceable tools and auxiliaries only?
________________________________________________
________________________________________________
________________________________________________

What are the criteria for the selection of workpiece clamping tools?
________________________________________________
________________________________________________
________________________________________________
________________________________________________

Clamping of milling cutters

Clamping tools for milling cutters differ with respect to the purpose of use and geometrical form:

- Cutter arbors, long or short (stub arbors)
- Cutter chuck, for straight-shank cutters


Figure 22. Clamping tools for milling cutters

1 cutter chuck, 2 collet, 3 cap nut


Figure 23. Straight-shank cutter (shank-type milling cutter)

- Cutter adaptor, for taper-shank cutters


Figure 24. Taper-shank cutter (shank-type milling cutter)

- Direct mounting of cutters on the milling spindle


Figure 25. Cutter directly clamped on milling spindle (face milling cutter)

Cleanliness must be ensured when clamping the milling cutters in the clamping tools. Impurities (e.g. chips, dust, sand, etc.) on the contact faces or between the arbor collars will adversely affect the cutting process by radial or axial runout.


Figure 26. Impurities between cutter and arbor collar

1 impurities, 2 radial runout

- When using long arbors on the horizontal milling machine, the counter bearing is to be placed as close to the cutter as possible to prevent or reduce vibrations generated during milling


Figure 27. Counter bearing directly at the cutter

1 overarm, 2 cutter, 3 counter bearing, 4 cutter arbor

Vibrations during milling result in deterioration of the surface finish of the workpiece, reduction of the feed rate and early wear of the cutter. The use of a second counter bearing (at the front and rear of the cutter) offers an additional possibility of further reducing vibrations generated, particularly in cases where thick chips are to be removed.


Figure 28. Use of two counter bearings

1 overarm, 2 cutter, 3 counter bearings, 4 cutter arbor

What can be done to reduce vibrations during milling with a long arbor?
________________________________________________
________________________________________________
________________________________________________
________________________________________________
________________________________________________
________________________________________________

TO PREVIOUS SECTION OF BOOK TO NEXT SECTION OF BOOK