Back to Home Page of CD3WD Project or Back to list of CD3WD Publications

CLOSE THIS BOOKBending - Course:Technique of working sheet metals, pipes and sections. Trainees' handbook of lessons (Institut für Berufliche Entwicklung, 33 p.)
VIEW THE DOCUMENT(introduction...)
VIEW THE DOCUMENTPreliminary Remarks
VIEW THE DOCUMENT1. Purpose of Bending
VIEW THE DOCUMENT2. Selected Tools, Appliances and Machines
VIEW THE DOCUMENT3. Processes within in the Material
VIEW THE DOCUMENT4. Fundamentals of Calculation
VIEW THE DOCUMENT5. Bending Techniques

5. Bending Techniques

Depending on the form of bend and material thickness, manual and mechanical techniques of cold and hot bending can be applied.

5.1. Folding of Sheet Metals

If sheet metals with as small a bending radius as possible are bent, this process is called "folding". In this procedure, bending angles are fabricated up to 90° on a fixed bending edge.

The sheet has to be clamped in such a way that hammer strikes are directed against the fixed vise jaw during bending.

So, the vise screw is not stressed too strongly.

Always scribe the internal side of the bending with the steel scriber, since the crack (mark) is pressed together after bending and has no fracture effect any more.

The sheet metal is correctly clamped, when the scribed line is in accordance with the fixed vise jaw upper edge.


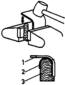
Figure 23 Bending procedure on a vise 1 scribed line, 2 moveable jaw, 3 fixed jaw

Thin, long sheet metals with short bending edges may be pie-bent by hand or with intermediate plates. Not until then do you strike with the hammer from the exterior towards the bending edge. To avoid the formation of cracks at me bending edge, you should not directly strike on the bending.


Figure 24 Bending of thin, long sheet metals 1 pre-bending by hand, 2 pre-bending with intermediate plates, 3 finish bending with a hammer

Wooden, rubber or light metal hammers are sufficient for most of the folding works. If, however, strong bending strikes are required, a machinist's hammer together with a hardwood intermediate plate has to be used in order not to damage the workpiece surface.


Figure 25 Bending of a thick sheet metal with hardwood intermediate plate and machinist's hammer

Thick sheets with short bending edges can be bent with the machinist's hammer in the vise. In case of hard and brittle sheets, however, a bending radius of at least 2½ times the sheet thickness is to be taken into consideration to prevent the sheet from breaking. This radius can be guaranteed by using appropriate intermediate plates.

Since sheet metals from 8 mm thickness onwards can only be bent with a great deal of manual energy, they are to be bent at a heated state.

If the sheet is to be bent several times, intermediate plates are to be used. The individual bending steps should be so stipulated that even the final bending step can be performed of in high quality.


Figure 26 Gradual bending of a workpiece with two bending edges 1 bending of the 1st edge, 2 bending of the 2nd edge with intermediate plate

Metal sheets with short bending edges may also be bent with the hand screw press. For that purpose, the sheet is to be put between punch and base. With the help of the screw the punch is run down and the sheet is pressed into a base corresponding to the shape.

To compensate spring-back, punch and base are so arranged that the sheet is slightly bent over during the process.


Figure 27 Bending of a sheet metal with the press 1 punch, 2 clamping fixture for the workpiece, 3 workpiece, 4 base I, II, III bending steps

Thin, soft sheets with long bending edges can be bent by hand with the help of a stable pressure plate. The bending edge should not be scribed with the steel scriber, but with a pencil to avoid formation of crack


Figure 28 Bending of a soft sheet metal with a pressure plate 1 pressure plate, 2 sheet

Thin, hard sheets can be bent manually with a hammer when they have long bending edges, by clamping them with additional clamping fixtures on the vise.

The sheet metal is either bent on an intermediate plate over the entire length or with hammer strikes directed from the vise towards the exterior. Finally, the bending edge can be smoothed with an intermediate plate by uniform hammer strikes.


Figure 29 Bending of a hard sheet metal on the vise 1 bending with intermediate plate and hammer over the entire length, 2 continued bending with the hammer, 3 smoothing with intermediate plate and hammer

Sheet metals with long bending edges can be bent on the folding press very well.

The sheet is put in the folding press in such a way that the scribed line can be seen from above.

The sheet is tightly clamped with the upper clamping cheek, while the bending cheek is so arranged that the sheet thickness is given special attention for bending. Subsequently, the bending cheek is aimed over according to the angle to be bent


Figure 30 Bending of a long sheet metal in the folding press 1 top clamping cheek, 2 changeable bending rail, 3 sheet, 4 bending cheek, 5 bottom clamping cheek

When sheets with several bending edges are bent, the respective intermediate plate must be used, with the sequence of bendings to be stipulated in advance so that the final bending edge can be made as to the requirement of good quality as well.


Figure 31 Bending of a sheet channel on the folding press 1 bending of the 1st edge, 2 bending of the 2nd edge with intermediate plate

Sheets with long bending edges can also be bent with folding presses. The punch presses down on the sheet lying between punch and base and presses the sheet into the respective base recess. According to the desired bending radius, different bending punches are employed.


Figure 32 Bending of sheet metals with several bending edges on the folding machine 1, 2, 3 sequence of bending steps

Sections are folded by separating material off the upsetting zone, with the workpiece being bent on the vise subsequently. Depending on the bending angle, the dimensions of the workpiece zone to be cut out are so stipulated that there will not remain a gap between the surfaces after bending.


Figure 33 Bending of angular section 1 sawing out the upsetting zone, 2 bending

To which side is the hammer to be stroken, if a sheet metal is to be folded on the vise?
_____________________________________________________________________________
_____________________________________________________________________________
_____________________________________________________________________________

From which sheet thickness onwards should workpieces be hot bent?
_____________________________________________________________________________
_____________________________________________________________________________
_____________________________________________________________________________

What significance have hardwood or metal shims for bending on the vise?
_____________________________________________________________________________
_____________________________________________________________________________
_____________________________________________________________________________

How are sheet metals with long bending edges to be clamped in the vise?
_____________________________________________________________________________
_____________________________________________________________________________
_____________________________________________________________________________

What must be done before sections are folded?
_____________________________________________________________________________
_____________________________________________________________________________
_____________________________________________________________________________

5.2. Turning-up of Sheet Metals

If angles are to be bent over 90° up to 180°, this procedure is called "turning up", with the workpiece mostly being remodelled in several bending steps.

Sheets are turned up in bending them by the folding technique to an angle of 90° and subsequently bringing them up to 180° with hammers or presses.

The minimum turning-up length depends on the sheet thickness. As for small sheet thicknesses, the sheet rests closely on after being turned up, while in case of bigger sheet thicknesses, a small bead is formed at the place of turn-up.


Figure 34 Turning up 1 thin sheet, 2 thick sheet

How are sheet metals turned up?
_____________________________________________________________________________
_____________________________________________________________________________
_____________________________________________________________________________

5.3. Flanging of Sheet Metals

If sheet rims are bent horizontally or at an angle to the sheet level, this procedure is called as flanging". One distinguishes between external flange and internal flange, both being fabricated manually or mechanically.

Manual flanging is effected by the hammering technique, with the sheet rims being turned up with hammers on respective striking bases (bordering tool and hardy tool). Subsequently, the folds are upset with the machinist's hammer. These two procedures are denominated as "initial flanging" and "finish flanging".


Figure 35 Manual flanging 1 initial flanging, 2 finish flanging

From the mechanical point of view, flanging is effected with crimping and flanging machines or with flanging devices. The sheet is turned up in several bending steps between a pair of rolls with external and internal roundings until there is the finished rim.


Figure 36 Mechanical flanging 1 initial flanging, 2 finish flanging

How is a sheet cylinder flanged manually?
_____________________________________________________________________________
_____________________________________________________________________________
_____________________________________________________________________________

5.4. Seaming of Sheet Metals

If sheet metals to be joint with each other are turned up or flanged, this procedure is called "seaming". According to the function of the scarf joint, there are different kinds) of seaming.


Figure 37 Selected kinds of seaming 1 body seaming, 2 casing seaming, 3 bottom seaming, 4 corner seaming

Seaming is effected in several working steps. After being folded, turned in or flanged, the sheets are joined by hooking in.

Subsequently, the scarf joint is pressed together and even upset, if need be. To fabricate tight scarf joints, packing rubber may be incorporated or the scarf joint is soldered subsequently.


Figure 38 Fabricating a plane seam 1 turning-up with packing rubber, 2 hooking in, 3 pressing together, 4 upsetting

The following blank lengths are needed for scarf (seamed) joints:

- With single turn-up

3 times the seaming width

- With double turn-up

5 times the seaming width

Sheet thickness

Seaming width

Blank width




Single turn-up

Double turn-up

in mm

in mm

in mm

in mm

Sheet steel:

0.3 to 0.5

5

16

28

0.5 to 0.7

6

19

34

0.8 to 1.2

8

26

45

Light metal sheets:

to 0.5

6

16

34

0.6 to 0.7

8

26

45

0.8 to 1.4

10

33

56

Mechanically, scarf joints with longitudinal seams can be fabricated on folding presses and folding benches as well as on rolling devices. Round seams on containers and cases are prepared on crimping and flanging machines.

By which working steps is seaming marked?
_____________________________________________________________________________
_____________________________________________________________________________
_____________________________________________________________________________

5.5. Crimping of Sheet Metals

If curl-like recesses are made in plane or rounded sheets, which run from edge to edge or only inside the sheet metal, this procedure is called "crimping".

Manually, crimping is done with a swaging hammer by placing the sheet on the anvil creasing stake and striking it uniformly. So, the hammer strikes the sheet into the creasing stake recesses.


Figure 39 Manual crimping 1 swaging hammer, 2 creasing stake, 3 anvil

Mechanically, crimping is effected on crimping and flanging machines or crimping devices. The sheet metal is placed between the crimping rolls and formed by turning the rolls.


Figure 40 Mechanical crimping 1 seam rollers, 2 sheet, 3 finished piece

What does the "crimping" process mean?
_____________________________________________________________________________
_____________________________________________________________________________
_____________________________________________________________________________

5.6. Rounding of Sheet Metals

If sheet metals are bent with a bending radius bigger than the smallest possible one, this process is called "rounding" or "bending round". Here, the sheet metal is bent around a bending axis respectively far away from the workpiece surface. The bending angle may be up to 360°.

Short sheets can be bent round on the vise, if the bending die, depending on its kind, is clamped alone or jointly with the sheet The radius of a bending die can be enlarged, when an intermediate plate is put on the bending die and the workpiece is bent over this plate.


Figure 41 Rounding on the vise 1 sheet, 2 intermediate metal plate for enlargening the bending radius, 3 bending die

Sheets can be bent round with presses, when bending punches and bases, formed according to the bending radius, are available. The punch is the bending die in this case. Should the need arise, the sheet would have to be bent in several bending steps.


Figure 42 Rounding on the press 1, 2, 3 sequence of bending steps

Sheets can be rounded on the folding press, when a bending rail (e.g. round sections) with the respective radius is mounted on the upper clamping cheek.

The lower clamping cheek and the bending cheek must be so adjusted that they are away from the bending rail centre of rotation by bending radius plus sheet thickness. In case of bigger bending angles, the sheet has, if need be, to be rounded in several bending steps. However, the bending angle is limited by the adjustibility of clamping and bending cheeks.


Figure 43 Rounding on the folding press 1 top clamping cheek, 2 changeable bending rail, 3 sheet, 4 bending cheek, 5 bottom clamping cheek

Long sheet metal can be bent up to the complete circle on the rounding device. Bending force is applied by a pressure roll, pushing the sheet away from the bottom roll and bending it around the top roll. Depending on the bending radius, one or several bending steps are necessary. When the three-roller bending machine is used, the sheet ends are to be pre-bent, otherwise they remain straight by half the length of the distance between bottom roll and pressure roll


Figure 44 Rounding on the rounding device 1, 2, 3 sequence of bending steps

How can sheet metals be bent on the vise?
_____________________________________________________________________________
_____________________________________________________________________________
_____________________________________________________________________________

5.7. Rounding of Sections

Thin round sections may be bent manually or with bending devices. When bending dies are used, attention has to be paid to the fact that, due to spring-back, the radii of bending dies should be smaller than the desired bending radius requires it.

Smaller roundings can be made by turning the workpiece end, gripped with the round nose plier, around the jaws of plier. Bigger roundings are bent on respective bending mandrels of bending devices.


Figure 45 Rounding of thin round sections with the round nose plier 1, 2, 3, 4, 5 sequence of bending steps

Sections such as flats, angles, tees, and channels may be bent on devices or section bending machines.

Depending on the form of section, the workpieces to be bent are rounded between special profile rolls.

Distortions are avoided by special counter rollers.

According to the kind of profile and size of bending radius, bending has to be effected in cold or hot state.


Figure 46 Rounding of angular section with the section bending machine

In bending with bending dies, the workpiece must be tightly clamped at one end and rounded around the bending die with auxiliary tools or hammers. Frequently, this is followed by straightening work.


Figure 47 Rounding of angular section with a bending die 1 bending die, 2 bracing, 3 heating zone, 4 welding torch

Rounding may also be performed over bending dies on swage blocks. The workpiece is tightly clamped in a mounting support and rounded with relevant tools around the contact faces.


Figure 48 Rounding of round sections on the swage block 1 swage block, 2 bracing, 3 dogs

Rounding with mechanical bending devices is possible in case of round, square and rectangular cross-sections. The workpiece is fixed in a mounting support and bent with a slide roller to the angle desired.


Figure 49 Rounding of sections with bending devices 1 flat section, 2 round section

Which devices and tools are needed to round sections?
_____________________________________________________________________________
_____________________________________________________________________________
_____________________________________________________________________________

5.8. Rounding of Pipes

Rounding of pipes requires special measures to prevent them from being flattened at the bending point Counter measures would be:

- Heating to be locally changed on the pipe wall at the bending point during the bending procedure

- Filling the pipe (quartz sand, resin, lead).

Steel pipes having a diameter of more than ½" are to be bent in a heated state with filler. In case of welded pipes, attention has to be paid to the fact that the welding seam is lateral to the bending radius, because the neutral axis is there and thus, the welding seam cannot rupture.


Figure 50 Rounding of pipes 1 steel pipe, 2 sand filler, 3 stopper, 4 position of welding seam lateral to the bending

Only use dry sand as filler for hot bending.

When being heated, moist sand forms water steam ejecting the locking stopper - risk of getting injured.

Manually, filled pipes can only exactly be bent with pipe bending and other bending devices.

Bending mandrels and bending rollers of appliances and devices should be adapted to the pipe diameter.


Figure 51 Rounding of pipes with: 1 pipe bending device, 2 bending appliance

When pipes are hot bent, the pipe zone to be bent is locally heated to a light-red heat (approx. 900°C). In case of thin-walled pipes the inside of the bending is more heated than the outside so that upsetting at the internal side can be done more easily.

As for pipes with larger diameters, one partial area of the bending zone after the other is heated and bent

Note:

When pipes are bent, a definite minimum bending radius should be adhered to.

Empirical values for steel pipes:

For hot bending:

radius = 2 to 4 × diameter

For cold bending:

radius = 10 × diameter

For hot bending, the bend length is to be calculated previously. It is calculated from the circumference with about 1.5 times the radius, with a bending angle of 90°.

Example:

A steel pipe is to be bent with a bending radius of 75 mm to 90°. The bend length to be heated is calculated as follows:

L

=

1.5 × R


L

=

1.5 × 75 mm


L

=

112.5 mm

120 mm selected

The bend length to be heated is divided into two measuring ranges being in a certain relation to each other.

Band length

=

dimension leg

+

bending leg

The dimension leg corresponds to , of the bend length, while the bending leg is , of the bend length.

To mark the bend length on the pipe, one has to proceed from the pipe's dimension length being the measure from the pipe beginning to the centre of the pipe end to be bent. Proceeding from the dimension length on the unbent pipe, the dimension leg is scribed to one side and the bending leg to the other one.

Thus, the bend length to be heated has been established.


Figure 52 Dimensions on the 90° pipe knee 1 stretched length. 2 dimension length, 3 bending length, 4 dimension leg, 5 bend leg, 6 bend length to be heated, 7 bending radius

By which means can pipes be rounded?
_____________________________________________________________________________
_____________________________________________________________________________
_____________________________________________________________________________

What is to be noted when pipes of more than ½" in diameter are founded?
_____________________________________________________________________________
_____________________________________________________________________________
_____________________________________________________________________________

What is to be noted when welded pipes are rounded?
_____________________________________________________________________________
_____________________________________________________________________________
_____________________________________________________________________________

Which length is to be exactly calculated prior to hot bending?
_____________________________________________________________________________
_____________________________________________________________________________
_____________________________________________________________________________

How is the bend length scribed?
_____________________________________________________________________________
_____________________________________________________________________________
_____________________________________________________________________________

5.9. Rolling of Sheet Metals

If sheet metals arc so far rounded at their rims that they have a bending angle of 360° and more, this procedure is called "rolling" (or beading). The bending radius is constantly small. Sheet metals may be rolled over a round section manually. For that purpose, they are to be pre-bent over the round section and then brought to the final form over the round section with uniform hammer strikes. If wire is used as a round section, it remains as insert in the bead.

However, it is better to roll sheets on devices.

The device is adjusted to the diameter of the bead and the beaded bar with the respective diameter is inserted (overall bead diameter minus twice the sheet thickness).

Subsequently, the sheet is pushed into the holding slit of the beaded bar and the latter is turned.


Figure 53 Rolling of sheet rims with a beading device 1 sheet, 2 beaded bar, 3 appliance with control dial

Sheet metals can also be rolled with presses, if the punch takes over the rolling process by the respective shape arrangement and the sheet is clamped in a fixed base. The sheet metal has to be pie-bent by a small size before the punch is lowered.


Figure 54 Rolling of sheet rims with presses 1 punch, 2 sheet, 3 base

By which means can sheet metal rims be rolled?
_____________________________________________________________________________
_____________________________________________________________________________
_____________________________________________________________________________

5.10. Rolling of Sections

Flat sections are manually rolled with the rolling mandrel or on the rolling device. It is important to slightly sharpen the flat section prior to rolling so that after rolling the end sits close and shows a closed eye. After being sharpened the section is pre-bent and then finish rolled. These processes are performed like those for rolling sheet metals.

A special rolling technique is the winding of spiral springs from round sections. For that purpose, steels rich in carbon and having a tensil strength of 700 MPa are used. Mechanically, winding is effected on lathes around a winding mandrel.


Figure 55 Mechanical winding of a compression spring on the lathe 1 lathe chuck, 2 winding mandrel, 3 compression spring, 4 tailstock with live centre

Manually, winding is performed on a vise by employing wood clamping screw stocks and winding mandrels.

Tension and compression springs are made by winding spring wire in turns of a coil on a winding mandrel.

Procedure of fabricating a compression spring:

- Threading the spring wire through the winding mandrel hole.

- Clamping the winding mandrel in the wood clamping screw stock on the vise - the winding mandrel can be just turned with the spring wire. When the wire is paid off, its tension must be released, i.e. it is wound in opposite direction to the tension.


Figure 56 Manual winding of a compression spring 1 wood clamping screw stock, 2 wire tension contrary to winding direction, 3 bevel protractor, 4 winding mandrel

- Winding the spring - when the spring wire is applied in axial direction, the angle determines the spring lead of helix.

- Carefully open the vise to prevent the spring from bursting open heavily.

- The spring is fitted on a mandrel and face-ground on a grinding wheel - the fully annealed dead coils lie against the springy coils.


Figure 57 Face-grinding and close-setting of dead coils 1 grinding wheel, 2 spring, 3 mandrel, 4 grinding rest

Contrary to compression springs, tension springs are closely wound so that the coils are closely-spaced. As for the eyelets, 2 additional coils have to be taken into consideration. When the wire is paid off, its tension is utilized, i.e. it is wound in direction of tension.


Figure 58 Winding a tension spring in direction of wire tension

After winding, the eyelets are bent off in a clamp.


Figure 59 Bending of tension spring eyelets on the clamping plate

Calculation of the compression spring:

A compression spring with 10 active coils with 22 mm medium spring diameter and 30 mm in length is needed.

Hie spring wire is 2 mm thick.


Figure 60 Compression spring 1 medium spring diameter Dm, 2 internal spring diameter Di, 3 external spring diameter, 4 spring wire diameter D, 5 length of active coils

First the internal spring diameter must be calculated:

Di = Dm - D
Di = internal spring diameter
Dm = medium spring diameter
D = wire diameter

Calculation example:

Di - Dm - D - 22 mm - 2 mm = 20 mm

Afterwards, the diameter of the winding mandrel is to be calculated: Dw = 0.8 · Di

The winding mandrel, due to the wire spring-back, must be smaller than the internal spring diameter:

Dw = winding mandrel diameter

Calculation example:

Dw = 0.8 · Di = 0.8 · 20 mm = 16 mm

Then the wire length is to be calculated:

L =

p · Dm(W + Z)

In addition to the active coils, 2 times 0.75 of dead coils are to be considered:


L =

wire length



= 3.14 (constant)


W =

number of active coils


Z =

extra for dead coils =1.5

Calculation example:

L = p · Dm(W + Z) = 3.14 · 22 mm (10 + 1.5) = 794.5 mm

To be able to hold the wire in the clamp jaw, this length has to be given an extra.

Calculation of a tension spring:

A tension spring of 2 mm spring wire with 25 mm medium spring diameter and 30 active coils is to be wound. 2 coils are additionally needed for the suspension loops.


Figure 61 Tension spring 1 hang-up eyelets, 2 length of active coils

Internal spring diameter

Di = Dm - D = 25 mm - 2 mm = 23 mm

Diameter of the winding mandrel:

Dw = 0.8 · Di = 0.8 · 23 mm = 18.4 mm

Wire length:

L = p · Dm(W + Z) = 3.14 · 25 mm (30 +2) = 2512 mm

By which means can springs be wound?
_____________________________________________________________________________
_____________________________________________________________________________
_____________________________________________________________________________

TO PREVIOUS SECTION OF BOOK