Back to Home Page of CD3WD Project or Back to list of CD3WD Publications

CLOSE THIS BOOKManual Sawing - Course: Technique for manual working of materials. Instruction examples for practical vocational training (Institut für Berufliche Entwicklung, 31 p.)
VIEW THE DOCUMENT(introduction...)
VIEW THE DOCUMENTIntroduction
VIEW THE DOCUMENTInstruction example 4.1. Spacers and pin drifts
VIEW THE DOCUMENTInstruction example 4.2. Stands and supports
VIEW THE DOCUMENTInstruction example 4.5. Container
VIEW THE DOCUMENTInstruction example 4.4. Vee-shaped attachment
VIEW THE DOCUMENTInstruction example 4.5. Steel square
VIEW THE DOCUMENTInstruction example 4.6. Angle-steel frame table
VIEW THE DOCUMENTInstruction example 4.7. Wall-shelf bracket

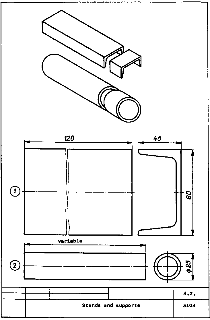
Instruction example 4.2. Stands and supports

To practise straight saw-off cuts in several steps on U-sections and tubes. U-sections may be used as basic bodies for drill stands, tubes as supports (table legs), training example 4.6.

Material

U-sections of steel (340 MPa)
Web width: 80 mm
Flange height: 45 mm
Steel tube (340 MPa)
25 mm diameter


Figure

Hand tools

Steel scriber, hand hacksaw (saw blade of normal tooth pitch), smooth-cut file 200 mm (flat), mark-out punch, engineers’ hammer.

Measuring and testing tools

Steel measuring tool, try square.

Accessories

Vice, surface plate, spacer (wooden block) for clamping of U-section, horizontal Vee-shaped attachment suitable for tube diameter, cutting oil.

Required previous knowledge

Reading of drawings, measuring and testing, scribing and prick-punching.

Sequence of operations

Comments

1. Arrange the working place, prepare the working materials.

- Check for completeness.

2. Scribe U-section for 120 mm length using try square and steel measuring tool, prick-punch scribed line.

- File datum edge, if end face is not flat.

3. Clamp workpiece in vice at web using suitable attachment and file guiding kerf at upper face (flange).

- Part (1)

4. Saw until upper face (flange) is cut off, then re-clamp and saw web, then re-clamp and saw off other flange, remove burrs.

- Use total length of saw blade.

5. Clamp steel tube in vice in horizontal position using Vee-shaped attachment. Scribe length as specified and file guiding kerf.

- Length to be specified by the instructor.

6. Saw until saw blade cuts off inner wall, then slightly turn tube and continue sawing.

- Part (2)

7. Saw off the tube constantly turning it.


8. Final inspection.

- Straightness of cut.

To continue practising, if necessary

Prepare several U-sections for different drill stands (training examples 2.3 and 7.4).

Saw off additional tubes for supports (training example 4.6).


Stands and supports

TO PREVIOUS SECTION OF BOOK TO NEXT SECTION OF BOOK