Back to Home Page of CD3WD Project or Back to list of CD3WD Publications

CLOSE THIS BOOKLe Séchage Solaire à Petite Échelle des Fruits et Légumes. (GRET, 1996)
Deuxième partie
Créer une petite entreprise de produits séchés
VIEW THE DOCUMENT(introduction...)
I. Vendre pour produire, la démarche marketing
VIEW THE DOCUMENT(introduction...)
VIEW THE DOCUMENT1. Connaître son marché et sa clientèle
VIEW THE DOCUMENT2. Définir son produit et ses circuits de distribution
2. Gérer les aspects financiers et l'organisation de l'entreprise
VIEW THE DOCUMENT1. Financer son activité
VIEW THE DOCUMENT2. Pour une activité rentable
3. Des exigences accrues pour la transformation
VIEW THE DOCUMENT1. L'importance de l'hygiène
VIEW THE DOCUMENT2. Le stockage de la matière première
VIEW THE DOCUMENT3. Les pré-traitements
VIEW THE DOCUMENT4. Le conditionnement
4. Gérer la qualité des produits séchés
VIEW THE DOCUMENT(introduction...)
VIEW THE DOCUMENT1. Qualité et consommateur
VIEW THE DOCUMENT2. Quels sont les problèmes les plus fréquents?
VIEW THE DOCUMENT3. Comment améliorer la qualité des produits séchés
5. Choisir son système de séchage
VIEW THE DOCUMENT(introduction...)
VIEW THE DOCUMENT1. Les séchoirs solaires indirects
VIEW THE DOCUMENT2. Les séchoirs hybrides
VIEW THE DOCUMENT3. Combiner séchage naturel et séchage hybride
6. Etudes de cas
VIEW THE DOCUMENT1. Le cercle des sécheurs au Burkina Faso
VIEW THE DOCUMENT3. L'exportation de bananes séchées par la Khochalita en Bolivie

Le Séchage Solaire à Petite Échelle des Fruits et Légumes. (GRET, 1996)

Deuxième partie

Créer une petite entreprise de produits séchés

Pratiquer le séchage des fruits selon une logique d'entre prise renvoie à deux types d'organisation:

- L'entreprise individuelle

Le principal avantage de l'entreprise individuelle est que toutes les décisions sont prises par la même personne. Elle emploie de la main-d'oeuvre salariée. Le choix des employés, des périodes de travail, de la répartition du bénéfice sont prises par le gérant. D'autre part, le propriétaire a tendance à travailler très dur pour assurer la réussite de son affaire. Mais lorsque les problèmes techniques ou financiers se présentent, il lui est parfois difficile de faire face seul.

- La coopérative

Lorsque les débouchés semblent importants et qu'il faut produire de grosses quantités, les producteurs peuvent se regrouper pour accroître leur capacité de production. L'objectif principal de l'association est dans ce cas l'approvisionnement d'un marché d'envergure régionale, nationale, ou encore l'exportation vers des d'autres pays. Par contre, une structure collective de ce type génère de nouveaux frais comme le stockage de la production, des frais administratifs pour la gestion et la comptabilité,

Engager un directeur expérimenté pour organiser le travail, la commercialisation et l'approvisionnement est une option souvent négligée. Elle permet pourtant aux membres du groupe de confier la responsabilité des tâches courantes à une personne très compétente tout en gardant la maîtrise des décisions.

Travailler en groupe génère parfois des conflits de personnes, notamment lorsqu'il faut prendre des décisions importantes. Les membres d'une coopérative ont souvent des idées différentes sur la gestion de l'entreprise, certains s'investissent plus que d'autres et prétendent ainsi à une rémunération plus importante. L'utilisation des bénéfices engendre des tensions, enfin chacun voit le développement de l'entreprise différemment. Les mésententes entre les associés conduisent parfois à l'abandon de l'activité.

Aussi, avant de se regrouper, il convient de se poser un certain nombre de questions: comment diriger le groupe, payer le matériel, répartir les tâches, utiliser le revenu, partager le bénéfice, étendre l'activité? Tout cela peut être formalisé dans un règlement qui comportera les éventuelles sanctions auxquelles s'exposent les membres en cas d'infractions.

Lorsqu'on se lance dans la fabrication à l'échelle artisanale de produits séchés - ou que l'on apporte un appui à un petit entrepreneur -, la première étape ne consiste pas à résoudre les questions techniques de production. Il faut avant toute chose analyser le marché pour s'assurer que la production trouvera des débouchés à un prix suffisant pour couvrir les coûts d'investissement et de fabrication. C'est dans un deuxième temps seulement, après avoir défini la clientèle visée et le type de produit qui lui convient, que l'on va adopter le procédé de fabrication le plus adapté et choisir un système de séchage.

Le produit doit satisfaire un besoin du consommateur. Cette idée centrale conduit tous les choix techniques, commerciaux et financiers. Dès lors que l'on rentre dans cette optique il faut organiser son travail, maîtriser l'hygiène et la qualité de ses produits, connaître ses clients, se former, gérer les recettes et les dépenses.

Nous proposons dans cette partie quelques conseils simples, à la fois méthodologiques et techniques, qui permettent de guider les entrepreneurs dans leur démarche et d'éviter les erreurs courantes.

I. Vendre pour produire, la démarche marketing

Nous entendons par marketing l'ensemble des moyens dont dispose une entreprise pour vendre ses produits de manière rentable. Avant d'être un outil, le marketing est une attitude: mieux connaître ses clients pour s'adapter à leurs attentes et ainsi mieux vendre.

1. Connaître son marché et sa clientèle

a. Etudier l'environnement: les études de marché

Analyser le marché peut paraître bien compliqué et inutile aux petits entrepreneurs qui ont souvent une connaissance intuitive de leur clientèle. Mais lorsque l'on souhaite étendre son activité, il devient nécessaire de recueillir par tous les moyens dont on peut disposer, des informations répondant aux questions suivantes:

- Qui sont les consommateurs, q u'aiment-ils, que consomment-ils, à quel prix? Quels sont les interdits alimentaires éventuels?

- Qui sont les concurrents: que vendent-ils, par quels circuits, à quel prix, sous quelle présentation (étiquette, conditionnement) avec quels arguments?

La démarche marketing

J'étudie mon environnement à l'aide d'une étude de marché:

- Je réalise une typologie des consommateurs potentiels;

- Je repère les produits concurrents et les caractéristiques de leurs produits (gamme, conditionnement, prix, lieux de vente, contenance, quantité vendue...);

- Je recense les circuits de distribution (marchés, grossistes, restaurateurs, boutiques, supermarchés...).

ß

Je choisis la clientèle à qui je vais vendre mon produit. Le pouvoir d'achat est le principal facteur limitant. Les produits séchés sont relativement chers et donc peu accessibles pour les classes pauvres ou populaires.

ß

J'adapte le produit à leurs exigences à l'aide de tests. Couleur, saveur, présentation, facilité de préparation, conditionnement.

ß

Je fixe un prix. A partir du prix de revient du produit, des prix des concurrents et du prix subjectif que le consommateur est prêt à payer.

ß

Je choisis le circuit de vente le plus adapté pour atteindre ma clientèle.

- Quel circuit de distribution convient le mieux?

Les réponses à ces questions permettront de définir:

- la cible: les personnes auxquelles on va proposer le produit;

- le prix de vente;

- la quantité que l'on va vendre. Cette évaluation, même approximative est indispensable pour apprécier la viabilité du projet;

- les circuits de distribution possibles.

La démarche marketing peut s'effectuer de façon informelle. On commence par tester quelques produits fabriqués avec les moyens du bord, on interroge ses amis, ses relations personnelles, des personnes de différents milieux sociaux avec lesquels on est soi-même en contact. On visite les marchés, les boutiques.

Pour les entreprises de plus grande taille, comme les groupements de femmes qui vendent à un plus grand nombre de personnes et dont les marchés s'étendent sur une ville ou une région, il faut aller au-delà de cette approche relationnelle. Cerner les attentes des consommateurs de façon précise devient indispensable. Pour cela deux grandes techniques sont utilisées: les réunions de groupe (10 à 15 participants) pour obtenir des données qualitatives et les études statistiques par questionnaire (100 à 1000 questionnaires) pour des données quantitatives. Ces techniques dépassent le cadre de cet ouvrage. Sachez toutefois que des bureaux d'études existent dans certains pays. Ils peuvent réaliser des études légères et mobiliser facilement des enquêteurs locaux pour un coût raisonnable. On peut aussi organiser soi-même des réunions de groupe ou mener des enquêtes de terrain en faisant appel à des professeurs, des étudiants, des organismes de développement.

Pour une petite unité de fabrication, le principal intérêt de cette étude de marché est de confronter le producteur à ses clients. C'est aussi l'occasion de recueillir des intentions de commande. Aussi, autant que possible, le promoteur du projet a intérêt à s'investir personnellement au maximum dans l'étude de marché.

A partir des résultats de l'étude de marché, on doit pouvoir répondre aux points qui suivent.

b. Etablir une typologie des consommateurs ciblés

Après avoir décrit le marché, il convient de choisir la clientèle à qui l'on souhaite vendre sa production. Les études de marché permettent de classer les consommateurs potentiels dans différentes catégories. C'est ce que l'on appelle une typologie. Le facteur important ici est le pouvoir d'achat des consommateurs. Tout le problème consiste à trouver le juste compromis entre le coût du produit et les possibilités financières de la clientèle.

Le choix de la "cible" impose en grande partie les caractéristiques des produits séchés. Par exemple, les fruits séchés sont des produits chers. Aussi, ils s'adressent à une clientèle moyenne ou aisée. En conséquence, il faut que les produits soient de qualité irréprochable, et présentés dans des emballages attirants.

A titre d'exemple, l'AFDI a mené dans le cadre de son projet "fruits secs en Casamance", au Sénégal, une typologie des consommateurs de mangues séchées sur les marchés urbains.

- Les consommateurs à pouvoir d'achat potentiel élevé. Ils sont intéressés par les variétés de mangues greffées et locales, à condition que ces dernières gardent leur couleur orange. Pour eux, la mangue séchée est un produit concurrentiel de la mangue fraîche. Il peut donc être consommé à la fois en saison et hors saison de production des mangues. Leurs préférences vont vers une consommation sans réhydratation. Les personnes interrogées sont prêtes à payer ce produit dit «de bouche» 2000 Fcfa le kg de mangues séchées.

- Les consommateurs à pouvoir d'achat potentiel moyen. Ils sont plus particulièrement attirés par la consommation des variétés locales, hors saison de production et sont prêts à préparer le produit. Les recettes possibles sont la réhydratation à l'eau chaude et l'adjonction de sucre ou de miel pour constituer une bouillie. Les mangues séchées peuvent aussi être pilées et la poudre obtenue est mélangée au lait caillé.

- Les transformateurs (restaurateur, pâtissier, glacier, laitier...). Ils sont uniquement intéressés par les mangues greffées de grande qualité hors saison de production.

Finalement, on se trouve en présence de deux demandes et donc de deux produits: un produit de qualité courante pour les consommateurs à pouvoir d'achat moyen et un produit de qualité supérieure destiné aux classes aisées et aux transformateurs.

Lorsque l'on travaille sur quelques villes, on peut également réaliser une classification par quartier qui est plus commode. D'autres critères peuvent être pris en compte. Par exemple, certaines ethnies consomment traditionnellement des légumes séchés. C'est le cas par exemple de l'ethnie Zarma au Niger avec l'oignon séché.

c. Fixer un prix pour son produit

Il s'agit d'établir un prix réaliste qui tienne compte du prix de revient du produit, des tarifs pratiqués par les concurrents et du prix subjectif que le consommateur est prêt à payer. Psychologiquement dans l'esprit des acheteurs, il existe un prix minimal en-dehors duquel le produit est considéré comme de mauvaise qualité, et un prix maximal au-dessus duquel il est vraiment trop cher.

Par exemple, au Niger, l'oignon obtenu par la technique de séchage solaire doit être vendu 400 Fcfa/kg pour que l'activité soit rentable. Après une mini-étude sur les marchés locaux, le consommateur estime le prix de l'oignon "solaire" à 200 Fcfa/kg seulement! Il y a donc incompatibilité entre le prix de revient et le prix que l'acheteur est prêt à payer. Dans cette situation, il faut trouver un marché où la qualité soit mieux valorisée, comme par exemple les magasins d'alimentation, qui visent une autre clientèle. Une autre solution est de sensibiliser les consommateurs, sur les marchés locaux, aux atouts de l'oignon "solaire" par des dégustations, des animations, des promotions.

2. Définir son produit et ses circuits de distribution

Le choix des produits à sécher est à étudier au cas par cas. Sur la base des différentes expériences de séchage solaire menées à ce jour, on peut dire que globalement les produits ayant le plus grand succès sont les fruits comme la mangue, la pagaye, la banane, l'ananas.

En effet, le prix de vente élevé et l'existence d'un marché potentiel important, notamment à l'export dans les pays européens, assurent la viabilité économique des entreprises. Par contre, pour les légumes, les résultats sont plus nuancés. Si l'autoconsommation permet aux familles rurales d'améliorer leur alimentation, les résultats économiques à la vente sont décevants.

Pourtant les procédés techniques de séchage de l'oignon, de la tomate, de la pomme de terre, du chou, des haricots verts sont parfaitement au point. Mais pour ces produits de consommation courante, le consommateur n'est pas prêt à payer plus cher le surplus de qualité. De plus, il ne sait pas toujours comment utiliser les nouveaux aliments séchés comme le chou. Enfin, quand le consommateur achète 1 kg de produit sec, il a l'impression d'avoir beaucoup moins de marchandise que s'il achetait 1 kg de produit frais. Quand en plus, le prix est multiplié par 10, on comprend que le consommateur ait du mal à accepter cette différence.

Ces difficultés soulignent l'importance de bien démarquer ses produits par rapport à ses concurrents et de cibler de bons circuits de distribution.

a. Comment distinguer son produit des autres?

A partir des enseignements de l'étude de marché, deux possibilités s'offrent au producteur:

- le créneau du positionnement concurrentiel par rapport aux produits séchés traditionnels. L'enjeu est alors de se démarquer afin de faire accepter au consommateur un prix supérieur;

- le créneau du nouveau produit, pour lequel il faut à la fois créer une demande, c'est-à-dire informer les consommateurs potentiels et créer une image de marque.

Faire mieux que les produits concurrents

Les produits directement concurrents des fruits et légumes séchés sont les aliments traditionnellement transformés par séchage au soleil. Mais les aliments utilisés d'une manière similaire représentant également des concourants indirects (confiture, beurre, miel, jus de fruits).


Faire mieux que les produits concurrents

Pour s'imposer sur le marché, le produit devra présenter des avantages comparatifs par rapport aux concurrents. Les produits séchés étant relativement chers, la différence repose sur la qualité du produit (meilleure saveur, durée de conservation plus longue), du service rendu (facilité de préparation, proximité du lieu de vente...).

Par exemple, au Sénégal, l'avantage de l'oignon séché par rapport à l'oignon frais et aux autres épices est d'être disponible en saison sèche, il se conserve environ 6 mois, il est prêt à l'emploi, et son goût est plus fort.

Commercialiser de nouveaux produits, oui, mais attention!

Le cas de l'oignon sec au Niger.

L'oignon séché, appelé gabou, est un produit de consommation courante dans la cuisine familiale zarma au Niger. Le gabou est utilisé comme condiment pour relever le goût des sauces qui accompagnent les plats traditionnels. Il est cuit à l'étouffée ou dans l'huile avant d'être pillé.

Le séchage se pratique de manière simple. Durant la saison sèche, les bulbes d'oignon sont concassés puis étalés en couches. Ils sèchent ainsi au soleil, à même le sol pendant 7 à 15 jours. Une fois sec, ils sont mis en sacs puis vendus sur les marchés locaux.

Pour améliorer cette technique traditionnelle, le groupement de producteurs d'oignons de Madoua souhaitait utiliser le séchoir solaire. Avec ce nouveau procédé, le produit conserve mieux le goût de l'oignon frais et sa qualité hygiénique s'améliore nettement. D'autre part, sa présentation en rondelle est plus attrayante et les déchets à la cuisson sont moins importants.

Malgré ces atouts, le marché urbain de Niamey ne semble pas ouvert à un nouveau gabou. En effet, la forme traditionnelle convient parfaitement, à la fois sur le plan gustatif et hygiénique. L'amélioration de la qualité par le séchage solaire paraît donc superflue au consommateur. Elle ne justifie pas le prix élevé de l'oignon sec. Les premiers tests de vente se sont révélés catastrophiques.

Face à cette situation, le groupement de producteurs de Madaoua décide de mieux cibler le produit. Des tests commerciaux auprès de ménagères sont réalisés afin de préciser la meilleure façon de préparer l'oignon sec. En définitive, il apparaît beaucoup plus intéressant de positionner l'oignon sec comme un substitut de l'oignon frais dans les ragoûts.

Cet exemple montre à quel point il est important de tester le marché et les réactions du consommateur face à un nouveau produit.

Source: Fabrice Thuillier , Evaluation technico-economique d'un séchoir artisanal au Niger (Madoua). Mémoire de fin d'études, Siarc, Geres, Bit, 1992

Mettre en marché de nouveaux produits

L'élaboration de nouveaux produits suppose deux préalables: être à l'écoute pour s'adapter aux besoins des clients et tester le marché.

La commercialisation en circuit court (marché, vente à l'atelier) qui privilégie le contact direct avec le consommateur permet de suivre l'évolution de la demande et de récolter ses remarques. Les intermédiaires (grossistes, commerçants, restaurateurs...) sont aussi une source d'information sur les attentes du consommateur. L'objectif est d'identifier un besoin par forcément formulé comme tel par le futur client. Il s'agit ensuite de mettre en marché le produit qui répond effectivement à cette demande encore non satisfaite.

Par exemple, les femmes recherchent de "bons produits" pour nourrir les enfants en bas âge. De "bons produits" signifie que les aliments doivent avoir une valeur nutritive importante et contenir beaucoup de vitamines. Le séchage solaire permet de proposer des fruits riches en éléments nutritifs en période de pénurie. A partir de ce besoin flou, "de bons produits", on peut donc identifier une demande précise, des fruits séchés de bonne qualité nutritionnelle, sur une clientèle cible, les femmes ayant des enfants en bas âge.

Quelques échantillons seront fabriqués afin de tester le marché. Il importe d'organiser rapidement des tests de dégustation, de recueillir l'avis des clients et commerçants potentiels. Ces tests permettent d'évaluer:

- le goût, la saveur et l'aspect du produit séché (couleur, texture);
- sa présentation (emballage, étiquette, couleur);
- son prix de vente.

Ces tests assurent une mise au point rapide du produit. Mais seule la vente permet d'évaluer l'intérêt réel des clients. Si possible, il est souhaitable de réaliser un test de commercialisation avec un petit questionnaire (cf. encadré page suivante). L'échec, même partiel, d'une première mise en vente implique d'adapter le produit, voire de l'abandonner. Dans ce dernier cas, la décision, certes difficile, vaut mieux qu'une coûteuse persévérance.

Une procédure d'enquête pour tester un nouveau produit

On fabrique quelques échantillons.

- On teste le produit auprès de quelques personnes de son entourage avec une fiche d'enquête. Le choix des personnes est très important, il faut veiller à sélectionner un échantillon représentatif des différentes catégories sociales ou ethniques.

Voici un exemple de fiche d'enquête:

1. Nom et Prénom (personne interrogée)

- Lieu d'enquête
- Age
- Profession

2. Comment trouvez vous le produit?

- odeur - couleur
- aspect - impression à la dégustation
- goût - présentation de l'emballage

3. Quel est son intérêt? (Facilité d'emploi, gain de temps, nouveauté, bon aliment...). Quels sont ses défauts?

4. A quel prix souhaitez-vous le trouver dans le commerce? Prix minimal et prix maximal?

5. Où souhaiteriez-vous acheter ce produit?

6. Pensez-vous en acheter souvent (une fois par semaine, une ou deux fois par mois...)? En quelle quantité?

- Au vu des résultats, on modifie son produit, sa présentation, son prix en fonction des remarques formulées. Si le produit reçoit un très mauvais accueil, il vaut mieux laisser tomber plutôt que de s'obstiner sur un produit qui n'est pas apprécié, donc qui ne sera pas acheté.

Source: Soriba Bangoura (CRAC de Foulaya, Guindée) ,
Denis Lochmann (Atlantique coopération a Kindia, Guinée),
Daniel Pesche (ENITA de Nantes, France). Bulletin n° 7 du réseau TPA, février 1993, page 9

Lancer un nouveau produit nécessite une campagne d'information plus lourde. On peut choisir de miser sur le public expatrié pour démarrer un produit noble destiné à la clientèle aisée. On peut aussi se placer dans le cadre des campagnes "consommer africain" qui ont suivi la dévaluation du franc cfa pour atteindre la clientèle des classes moyennes.

Au niveau du séchage solaire des fruits et légumes, quelles sont les possibilités d'innovation?

- Les produits composés

Les denrées alimentaires sont rarement consommées telles quelles. Elles sont le plus souvent mélangées entre elles. D'où l'idée de les mélanger à l'avance et de les présenter en sachet prêt à l'emploi. Pour cela il importe de cibler les objectifs par rapport aux modes d'alimentation des consommateurs. En milieu urbain, ils tendent à s'uniformiser. Ainsi on distingue le repas principal familial, des repas intermédiaires comme le goûter des enfants, les apéritifs, les fêtes... Des produits spécifiques peuvent être destinés à chacun de ces moments de la consommation.

Pour l'apéritif ou les encas dans la journée, des sachets contenant des arachides agrémentés de quelques cubes d'ananas, papaye, mangue, banane, coco séchés apporteront une note colorée et aromatique.

Pour les gens pressés, des sachets de préparation culinaires, manioc ou riz précuits avec des morceaux de patates, de tomates, d'oignons et de piments.

Pour le goûter, des joues de mangues semi-confites séchées avec de la papaye, de la banane... La liste est loin d'être exhaustive.

- La facilité d'emploi

Une autre voie pour l'innovation est de faciliter le travail de la ménagère. Par exemple, pour la préparation des tubercules (pomme de terre, manioc, patate douce, igname), le râpage est une opération très contraignante. D'où l'idée de proposer un produit prêt à l'emploi.

En outre la réhydratation du produit au moment de l'emploi est facilitée par la réduction de la taille des particules qui se dispersent facilement dans l'eau bouillante. Autre amélioration encore possible, la précuisson du produit qui évite à la ménagère une ébullition préalable du conte nu de sa marmite. Pour le consommateur, un tel produit présente un triple avantage: un gain important de temps, de travail et d'énergie.

Promouvoir les produits séchés

Bien souvent, les produits locaux ne bénéficient pas d'une bonne image de marque. Les fruits et légumes séchés ont une image de produits de "brousse", hétérogènes, de qualité médiocre. Pour inverser cette opinion, un gros effort d'information des consommateurs est indispensable. Cela peut se concrétiser sous la forme d'une marque commerciale avec un logo. Le nom doit être simple, attractif, facile à prononcer et associé à des images valorisantes. Les couleurs, les dessins doivent être testées auprès des clients pour savoir ce qui est le plus apprécié. Une étiquette doit mentionner la composition du produit, une date limite de consommation, les contrôles sanitaires.

Toute politique de communication doit impérativement s'accompagner d'un effort de qualité très important. Une action de promotion pour des produits au goût désagréable est vouée à l'échec.

Avec l'introduction des séchoirs solaires, des produits non traditionnels peuvent être séchés (mangue, ananas, chou, haricots verts, carotte). D'autre part, les aliments se présentent sous une autre forme. C'est le cas de l'oignon: le gabou est concassé puis pilé, alors que le séchage solaire aboutit à un oignon coupé en lamelles de couleur blanche.

Mais pour le consommateur qui voit ces nouveaux produits sur les étalages, une question se pose: comment les utiliser? Ce point est important car il constitue un frein énorme pour la vente.

C'est donc au producteur de faire l'effort d'informer ses clients sur l'utilisation des produits séchés par la promotion. Pour cela, plusieurs moyens sont à la disposition du producteur:

- des animations sur les marchés ou les foires pour présenter les produits et montrer comment ils s'utilisent. On pourra fabriquer devant les yeux des consommateurs des compotes ou des sauces qu'on leur fera goûter ensuite;

- des livrets de recettes pour suggérer des idées;

- des échantillons gratuits que l'on donne sur les marchés, dans les hôtels, les restaurants, les magasins d'alimentation;

- des annonces sur les radios locales pour vanter les qualités des produits

- des informations sur l'étiquette sur la façon de cuisiner le produit. Par exemple, pour les choux on pourra indiquer la durée de réhydration dans l'eau (30 minutes) et l'équivalent en produit frais (100g de choux séchées équivaut à 1 ka de choux frais).

Au Burkina Faso, la promotion de la marque "Palsec" s'est appuyée sur des films publicitaires, des livrets de recettes, des animations sur les marchés. Depuis le lancement des produits Palsec, on constate une nette augmentation de la demande en séchoirs domestiques preuve que le consommateur accueille favorablement cette démarche.

Pour la promotion des produits séchés, on peut notamment penser au créneau "campagne sanitaire" et valoriser les produits séchés en faisant valoir leur intérêt dans l'alimentation des enfants. On peut également faire valoir le gain de temps pour les femmes dans la préparation des repas et le fait qu'elles gardent néanmoins la maîtrise de la recette et de la préparation.

En ville, la distribution peut viser les petits restaurants et les "fast food" africains, auxquels les produits séchés peuvent permettre de gagner du temps.

b. Les circuits de distribution

On peut distinguer deux grands marchés: le marché national et le marché d'exportation.

Le marché national

Les circuits de distribution des produits séchés varient en fonction du pays, des catégories de population (toutes ne fréquentent pas les mêmes lieux de vente) et des produits. Ils doivent permettre d'atteindre une clientèle à pouvoir d'achat moyen ou élevé.

- Les supermarchés d'alimentation. Leurs clients sont en grande majorité des ménages urbains à hauts ou très hauts revenus. Les produits proposés doivent présenter une qualité irréprochable.

- Les hôtels restaurants, pâtissiers, bars de luxe, fréquentés par les ménages urbains et les expatriés à haut revenus. Leurs exigences sur la qualité des produits sont très fortes. La meilleure façon de connaître leurs besoins est de contacter directement les plus importants.

- Les ventes à l'atelier. C'est un moyen de vendre sans avoir à livrer. Il est possible de consentir des remises pour inciter les gros clients à se déplacer. Toutefois, ce système n'est possible que si l'entreprise est située en ville. Pour les entreprises rurales isolées, mieux vaut se déplacer.

- Les marchés, où la clientèle est diversifiée. Dans les zones rurales, c'est souvent l'unique lieu de vente.

- Les grossistes. Ils permettent d'écouler une grande partie de la production des entreprises de produits séchés. La vente peut se faire par le producteur lui-même ou par l'intermédiaire des "bana-banas", qui achètent pour revendre en ville chez les grossistes.

- Les boutiques de proximité. Dans chaque quartier, il existe des boutiques où l'on trouve un peu de tout. Ces boutiques constituent un débouché potentiel mais leur dispersion et leur faible vente sont de lourds inconvénients.

Un mot sur l'exportation vers Europe

Exporter vers les pays européens tente souvent les entreprises. Attrait des devises, promesses de prix plus rémunérateurs dans des pays plus riches... Mais l'exportation est difficile car les exigences de qualité, le respect des délais, les contraintes d'emballage et d'étiquetage sont très importantes. Toutefois deux marchés s'ouvrent pour les produits séchés.

- Les marchés de consommation finale, où le produit est vendu directement au consommateur. C'est le débouché le plus important pour les fruits séchés. Les fournisseurs de ce marché sont principalement les pays d'Asie du Sud-Est, Taiwan en tête; l'Afrique reste très minoritaire. Les seules opportunités couvrait sur les marchés dits «de solidarité» sui sont déconnectés des mécanismes concurrentiels mais où les volumes et la demande sont faibles (quelques tonnes), voire occasionnels.

Autre débouché: les produits biologiques. De plus en plus d'entrepreneurs africains se tournent vers ce marché. C'est le cas de l'entreprise Bio Guinée qui produit des mangues et des bananes séchées. Ces produits répondent à un cahier des charges 1 qui fixe de fortes contraintes sur la production et la transformation: aucun agent chimique ne doit être utilisé (cf. encadré page suivante). Un organisme de contrôle accorde l'agrément de «produit biologique» et vérifie régulièrement que les conditions de fabrication correspondent au cahier des charges. En contrepartie, le prix du produit est plus rémunérateur. Ce marché est en pleine expansion en Europe. La mangue, la papaye, l'ananas, la tomate, l'oignon y trouvent leur place. Ce marché est très intéressant pour les pays africains parce que la concurrence de l'Asie du Sud-Est n'existe pas.

1 Vous trouverez toutes les informations nécessaires dans le règlement CEE N°2092/91 du Conseil du 24 juin 1991 (Journal officiel CE du 22 juillet 1991) en vous adressant aux organismes de certification (cf. Annexe 3, adresses utiles).

- Le marché de l'industrie de seconde transformation, également en pleine expansion. Les barres énergétiques à base de céréales, les céréales pour le petit déjeuner contiennent de plus en plus souvent des fruits tropicaux. La demande pour ce genre de produit double en France chaque année. La biscuiterie et les crèmes glacées utilisent de plus en plus de fruits «naturels», frais, congelés ou séchés.

2. Gérer les aspects financiers et l'organisation de l'entreprise

1. Financer son activité

a. Les investissements dans le matériel de production

La mise en place d'une activité de séchage solaire nécessite des investissements souvent lourds à supporter par les petites entreprises rurales. Les sommes à investir sont très variables suivant l'échelle de l'entreprise. Dès que l'activité prend de l'ampleur, il devient très intéressant de se regrouper avec d'autres producteurs pour partager l'achat du matériel. Chacun conserve son autonomie de production mais les charges sont communes. Cela permet d'acquérir des équipements qu'une personne seule ne pourrait payer ou rentabiliser. On peut distinguer trois postes importants:

- Le séchoir

C'est un investissement important. Il varie énormément suivant le type de matériel. De 10000 Fcfa à 1000000 de Fcfa selon les séchoirs et leur capacité. Il est donc particulièrement important de trouver le juste compromis entre performances techniques et coût d'achat.

- Les équipements et le petit matériel

La préparation des fruits et légumes séchés ne requiert pas de moyens sophistiqués. L'équipement se limite souvent aux ustensiles de cuisine. Mais dès que l'on commercialise sa production, l'emballage prend une importance considérable. La plupart des fruits séchés sont conditionnés dans des sachets plastiques en polyéthylène et l'achat de la thermosoudeuse représente un investissement élevé qui nécessite un certain volume de production pour être rentabilisé.

Le matériel de fabrication et de conditionnement utilisé par l'entreprise artisanale de Koalba à Ougadougou au Burkina Faso se compose de:

Equipements
(capacité mensuelle de séchage: 3600 kg)

Prix en Fcfa
après dévaluation (1992)

Table de parage et de découpage inox

85000

Bac en ciment deux passages

72000

Table de conditionnement

35000

Bassin de 2 demi barriques

17500

Bacs de stockage

20000

Thermosoudeuse

50000

Régulation de gaz

30000

Bouteille de gaz

15000

Pesons

15000

Thermomètre

12000

Tenue de travail

6000

Seaux

3000

Bassine

3000

Couteaux

1000

Cet équipement acheté neuf est très complet. La possibilité de trouver du matériel d'occasion permet de réaliser de grosses économies. Pour les petits producteurs, le matériel de préparation se résume à un réchaud à gaz et à quelques couteaux, bassines, seaux.

- Le bâtiment

La plupart des petits producteurs utilisent leur propre maison pour préparer les produits séchés. Cela tient à leur faible capacité d'investissement.

Cependant, dès que l'activité prend de l'ampleur, il est préférable pour des raisons hygiéniques et pratiques de travailler dans un local spécialement aménagé. Le coût de ce local varie donc très fortement en fonction des contraintes d'hygiène que l'on se fixe (ou sont fixées par la réglementation). Pour un producteur travaillant à petite échelle, une grande pièce suffira. Par contre, pour l'artisan qui commercialise des produits de grande qualité, il faut prévoir différentes pièces pour les opérations de préparation, de traitement, de conditionnement, avoir un branchement d'eau potable et d'électricité, etc.


Le bâtiment

b. Prévoir le fonds de roulement

Le fonds de roulement est la somme d'argent nécessaire pour l'achat des fournitures de fonctionnement. En effet, il faut prévoir de quoi acheter les matières premières, les produits de traitements (soufre, métabisulfite de sodium, sucre...), les emballages et toutes les charges récurrentes au fonctionnement de l'atelier (eau, électricité, personnel, etc.). La somme d'argent correspond à peu près aux dépenses courantes d'un cycle de fabrication. Il est utile de prévoir en plus une réserve de sécurité pour faire face aux imprévus: fortes pertes, conditions climatiques défavorables, dégâts sur le séchoir...

2. Pour une activité rentable

a. Maîtriser les coûts

Acheter une matière première à faible prix, disponible en quantité suffisante

Ce sont des critères très importants pour la rentabilité de l'activité car l'achat de la matière première représente parfois 60% des charges totales. En Ouganda, certains artisans ont fait faillite parce qu'ils payaient trop cher les mangues qu'ils transformaient ou bien parce qu'ils ne trouvaient pas assez de fruits.

Les prix des fruits et légumes varient selon la saison. Ils sont très faibles en pleine période de production et remontent fortement en période de pénurie. Il faut donc s'approvisionner lorsque les prix sont les plus bas tout en gardant à l'esprit qu'il vaut mieux payer un peu plus cher des produits de qualité.

On peut s'approvisionner sur les marchés ou, moins cher, chez l'agriculteur directement. Pour diminuer encore les coûts, on peut grouper les commandes de plusieurs sécheurs afin d'obtenir des rabais. Il est souhaitable de s'approvisionner chez plusieurs fournisseurs pour obtenir des quantités régulières à faible prix en faisant jouer la concurrence.

Le transport des fruits jusqu'au lieu de transformation doit être ajouté au coût de la matière première. Cela peut représenter un surcoût important si l'entreprise est loin des lieux d'approvisionnement.

Utiliser au maximum le séchoir dans l'année

Pour assurer la rentabilité d'un séchoir solaire, il est souvent nécessaire de sécher plusieurs fruits ou légumes dans l'année en fonction des dates de récolte. Dans ce cas, il est souhaitable de transformer également d'autres produits. Pour cela, il faut comparer les époques pendant lesquelles les fruits et légumes sont disponibles en grandes quantités à un faible coût et les périodes où les conditions climatiques permettent le séchage solaire. Pour être rentable, le séchoir solaire doit fonctionner 6 à 9 mois par an.

Comparaison des périodes de récolte et des conditions climatiques en Ouganda

Mois

Approvisionnement en fruits et prix

Conditions climatiques

Possibilité de séchage solaire

Janvier

bon

bon

oui

Février

bon

moyen

oui

Mars

bon

mauvais

non

Avril

Moyen

bon

oui

Mai

moyen

moyen

oui

Juin

moyen

mauvais

non

Juillet

mauvais

bon

non

Août

mauvais

moyen

non

Septembre

mauvais

mauvais

non

Octobre

bon

bon

oui

Novembre

moyen

moyen

non

Décembre

mauvais

mauvais

non

Nombre de mois où le séchage solaire est possible: 6 mois.

Source: NRI, Producing solar dried fruit and vegetables for small-scale rural entreprise development in Uganda, Handbook 1, 1995.

Etudier le besoin en main-d'œuvre

Un petit séchoir solaire peut très bien être utilisé par une seule personne. Cependant, lorsque l'activité se développe et que l'on utilise plusieurs séchoirs, l'entrepreneur est amené à embaucher du personnel. C'est un changement très important dans la gestion de l'activité et cela a des répercussions sensibles sur les bénéfices, Cette décision est donc à étudier sérieusement en estimant le coût de la main-d'oeuvre.

Engager du personnel suppose la formation et un entraînement des employés, un accord préalable sur le mode de paiement des salaires et la durée d'embauche, un responsable pour diriger les opérations.

Les opérations qui demandent le plus de main-d'oeuvre sont celles liées à la préparation des fruits et légumes notamment l'épluchage, la découpe et le chargement du séchoir. Il faut environ 7 heures de travail pour remplir de mangue un séchoir de 10 m² par une personne seule. Deux heures suffisent à trois ouvriers. Plus le séchage des produits commencera tôt dans la journée, plus ils sécheront vite. La productivité du séchoir sera alors améliorée.

Raisonner son implantation pour diminuer les coûts de transport

Le coût des transports peut réduire sensiblement le profit. Le choix du lieu d'implantation de l'entreprise est donc une donnée très importante.

Le nombre d'éléments à prendre en compte montre la complexité du problème: prix des transporteurs pour l'approvisionnement en produits frais et la vente des produits séchés, état des pistes, régularité et sécurité des expéditions, proximité des services annexes (artisans pour l'entretien du séchoir, poste, fournitures diverses...), mobilité des installations existantes.

Il n'y a pas de réponse toute faite et la solution du problème dépend du contexte local. La diversité des situations entrains la diversité des solutions.

Cependant, du point de vue du transport, l'atout majeur des produits séchés reste leur faible poids et leur longue durée de conservation par rapport aux produits frais. Cela donne la possibilité à certaines zones enclavées et marginalisées de commercialiser des produits qu'elles ne pourraient pas vendre en frais. Le séchage peut ainsi constituer une activité économique pour des zones éloignées des marchés.

Pour les coopératives villageoises et les petites entreprises rurales qui sont, de fait, dans les zones de production, le coût du transport peut s'alourdir en raison du mauvais état des pistes. Il faut alors rentabiliser au maximum chaque voyage, c'est-à-dire transporter de grosses quantités à chaque livraison, en profiter pour vendre d'autres produits ou bien rapporter au retour des marchandises qui pourront être commercialisées dans le village. Il est également souhaitable d'anticiper les problèmes en stockant une partie des intrants pour faire face aux imprévus. Le partage des coûts de transport entre plusieurs producteurs permet également de diminuer ces frais.

b. Le budget prévisionnel

Le budget prévisionnel est un outil de gestion permettant le pilotage et la prise de décisions. Il s'agit simplement de prévoir ses recettes et ses dépenses sur plusieurs années pour estimer le bénéfice dégagé. Bien sûr, son niveau de complexité et son intérêt varie en fonction de l'échelle de l'entreprise.

Pour un producteur rural qui souhaite conserver ses produits afin de les autoconsommer, le budget prévisionnel permet simplement de calculer le temps de retour, c'est-à-dire le temps nécessaire pour rembourser le matériel. Dans le cas d'une entreprise artisanale, cet outil valide les choix techniques et commerciaux décidés en amont. Le budget prévisionnel se présente sous la forme d'un tableau à deux colonnes: les recettes et les dépenses. La différence détermine les bénéfices ou les pertes.

Au niveau des dépenses, il est important de distinguer:

- les frais proportionnels ou charges variables. Ils sont liés au volume de l'activité. Plus on produira et plus ces charges seront importantes. Ils comprennent:

- les intrants: matière première, emballage pour le conditionnement, gaz, électricité ou fuel en cas de séchoir hybride, produits de nettoyage, matériel de fabrication, main-d'oeuvre saisonnière, ingrédients divers. Les emballages plastique et surtout l'énergie représentent souvent des coûts très importants dans les charges proportionnelles. Ils doivent donc être correctement estimés dans le budget prévisionnel;

- les frais commerciaux (promotion, publicité, déplacements sur les marchés);

- les frais fixes. Ils restent identiques quelle que soit la quantité produite. Ils comprennent:

- la main-d'oeuvre;

- le remboursement de l'emprunt si l'achat du matériel se fait à crédit et les frais financiers;

- l'amortissement du matériel.

Pour évaluer au plus juste les charges de fabrication, il faut compter l'amortissement du matériel de fabrication.

Le budget prévisionnel de l'entreprise de Koalbe au Burkina Faso

L'unité de Koalba est une entreprise familiale qui s'est engagée dans l'activité de séchage des mangues en 1993 avec l'appui du CEAS. Koalba a exporté un peu moins d'une tonne en 1993 et 2,8 tonnes en 1994. Cette expérience encourageante pousse aujourd'hui Koalba à envisager une amélioration de son unité. En effet des problèmes se posent au niveau de l'hygiène des locaux de préparation et de l'insuffisance des équipements. Après avoir trouvé des solutions techniques, l'entreprises dresse un budget prévisionnel pour vérifier la validité du projet.

En milliers de Fcfa

Année 1

Année 2

Année 3

Recettes:

38880

38880

46656

Exportation

34560

34560

41472

Vente intérieure

4320

4320

5184

Charges:

31011

30862

35542

Proportionnelles




mangues

8100

8100

9720

emballage export

2764

2764

3317

emballage vente int

540

540

648

soufre

324

324

388

gaz

2268

2268

2721

divers et imprévu

1080

1080

1296

frais CDS

2592

2592

3110

transport en Europe

8640

8640

10368

Fixes




main d'oeuvre

2330

2330

2330

entretien

432

432

518

amortissement crédit

1493

1493

1493

frais financiers

447

298

149

Bénéfice

7868

8017

11113

L'unité de Koalba vend en Europe les mangues de premier choix à un prix de 4000 Fcfa/kg. Le deuxième choix est commercialisé localement à un prix de 2000 Fcfa. L'emballage est différent suivant la destination du produit. A l'exportation les sachets ont une plus grande contenance et sont de meilleure qualité que ceux destinés au marché local. Leur coût est donc plus élevé (70 Fcfa contre 40 Fcfa).

Le plan de production prévoit une augmentation de 10 tonnes à 12 tonnes à partir de la 3e année ce qui explique l'accroissement des recettes mais aussi des charges proportionnelles.

Koalba adhère au Cercle des sécheurs. Cette structure regroupe l'ensemble des unités de séchage et assure l'approvisionnement et la commercialisation des produits. Le coût de l'adhésion s'élève à 240 Fcfa/kg.

Enfin le crédit contracté pour l'achat des séchoirs, du matériel et l'aménagement du bâtiment d'un montant de 4479000 Fcfa sera remboursé sur 3 ans avec un taux de 100%. Les annuités comprennent le remboursement du capital constant sur les 3 ans (1493000 Fcfa) et les intérêts dégressifs que l'on retrouve dans le compte frais financier du budget prévisionnel.

D'après les documents de Charles Yvan Tougouma, coordinateur du Cercle des sécheurs, Ougadougou, Burkina Faso.

La notion d'amortissement permet de prendre en compte l'usure du matériel au fil du temps. L'argent mis de côté permettra de changer le séchoir lorsque celui-ci sera hors d'usage. Pour cela, on divise le prix d'achat des équipements par leur durée de fonctionnement estimée. Par exemple, il faut changer un séchoir coffre d'une valeur de 10000 Fcfa au bout de 5 ans. L'amortissement sera donc de 10000/5 soit 2000 Fcfa par an.

Une fois l'activité lancée, le budget réel est établi de la même façon en fonction des recettes et des dépenses effectivement réalisées. Il est important de tenir cette comptabilité à jour pour connaître les performances et la rentabilité de l'activité.

3. Des exigences accrues pour la transformation

1. L'importance de l'hygiène

Lorsque l'on commercialise des produits alimentaires, la moindre des choses est de ne pas rendre malades les consommateurs. C'est pourquoi, l'hygiène doit être une préoccupation de chaque instant, à tous les stades de la transformation.

En outre, le manque de propreté dans les opérations réduit la durée de conservation car les risques de développement de micro-organismes sont plus importants.

Enfin, la qualité des produits contribue grandement à leur notoriété. Les fruits et légumes présentant une mauvaise qualité peuvent écarter définitivement le consommateur.

Les règles de base présentées dans la première partie sont valables dans le cas d'une entreprise. Mais la formation reste un élément déterminant. Un personnel sensibilisé aux règles d'hygiène et formé aux techniques de transformation est beaucoup plus apte à préserver la qualité sanitaire des produits finis.

Lorsque l'on envisage de développer l'activité de séchage et de construire ou d'aménager un atelier, le respect de l'hygiène impose des contraintes:

- choisir des plans de travail suffisamment grands et un matériel bien dimensionné,

- agencer les pièces et le matériel de manière fonctionnelle facilitant les tâches et l'élimination rapide des déchets. Il faut prévoir: une pièce pour stocker les ingrédients qui se conservent (sucre, sel, métabisulfite...), une pièce pour la préparation et une pièce pour le conditionnement;

- un point d'eau en dehors du circuit;

- une pièce pour le conditionnement;

- l'atelier doit être étudié pour faciliter le nettoyage. Les sols en ciment, le matériel en inox (cuve, table) se lavent sans difficultés;

- retenir un emplacement propre pour l'atelier, loin de toute source de contamination (élevage, latrines...) et proche des séchoirs;

- il est fortement recommandé de réaliser quelques analyses de produits finis pour vérifier leur qualité sanitaire.

Pour une information précise, nous vous conseillons de consulter le «code d'usages international recommandé en matière d'hygiène pour les fruits séchés» 1. Cet ouvrage présente les règles à respecter tout au long de la chaîne de transformation, du suivi de la culture au stockage des produits finis. L'installation d'un atelier de préparation représente un investissement parfois plus élevé que le séchoir.

1 Publié par le secrétariat du programme mixte FAO/OMS sur les normes alimentaires FAO, Rome - Réf.: n° CAC/RCP 3-1969.


Stockage des produits finis et frais

2. Le stockage de la matière première

Etre capable de stocker une partie des produits frais offre l'avantage de pouvoir sécher à tout moment malgré une rupture d'approvisionnement. Il est préférable d'acheter des fruits et légumes pas tout à fait mûrs car ils supportent beaucoup mieux le transport, ils sont souvent moins chers et ils se conservent plus longtemps au stockage. Toutefois, maîtriser la maturation s'impose et la présence de chambres froides peut s'avérer nécessaire.

Cependant, il convient de ne pas constituer des stocks trop importants car les fruits et légumes sont des denrées très périssables qui pourraient pourrir avant d'être séchées. Le volume du stock dépend de la rapidité avec laquelle le produit mûrit et de la capacité de séchage. D'une manière générale, il est conseillé de ne pas entres poser plus de deux fois la capacité du séchoir.

Lorsque les conditions climatiques ne permettent pas le séchage solaire pendant plusieurs jours, il vaut mieux essayer de vendre les produits stockés en frais au lieu de les sécher dans de mauvaises conditions.

Le lieu de stockage doit être soigneusement choisi. Une pièce fraîche, sèche, bien ventilée est la solution idéale. Un nettoyage régulier du lieu de stockage est nécessaire car les fruits et légumes frais attirent les insectes et les rongeurs. Certains fruits, comme la banane ou l'ananas, doivent être stockés sur des claies.

Quand les stocks deviennent importants, leur gestion est indispensable pour adapter le volume entreposé au rythme de séchage. Il est nécessaire de pratiquer la rotation des stocks: les produits emmagasinés depuis longtemps doivent être séchés en premier et remplacés par des approvisionnements plus récents. Ainsi, les fruits et légumes ne sont pas stockés pendant une longue période.

Sélectionner la matière première: un gage de qualité pour la Samaria (Colombie)

La Samaria est une entreprise artisanale colombienne de bananes séchées. La production est destinée quasi exclusivement au marché international. Les principaux clients sont le Chili, les Etats Unis, la France, la Suisse, l'Allemagne, la Tchécoslovaquie. Pour se positionner sur ces marchés, la Samaria accorde une attention toute particulière à la qualité de ses produits et notamment à la qualité de la matière première.

Les bananes récoltées sont d'abord triées grossièrement au champ avant de subir un examen plus minutieux à l'entreprise. Les critères de sélection sont:

- La taille des bananes

Les bananes trop petites sont inutilisables et sont écartées.

- Le degré de maturité

La banane pelée doit présenter une texture ferme, ni trop dure, ni trop molle. Les fruits trop murs sont jetés tandis que les bananes vertes sont stockées pour arriver au degré de maturité optimum. Une chambre de maturation artificielle pour réguler la maturité a été mise en place.

- L'état des bananes

Suite au transport et au déchargement, certaines bananes s'abîment. La pulpe présente des parties lésées qui brunissent rapidement. Lors du séchage, ces tissus vont avoir tendance à brûler et à former des tâches noires. Aussi, les bananes très abîmées sont jetées. De même, les fruits présentant des tumeurs sont écartés.

Lors de ce triage, 5 à 20% des bananes sont détournées du séchage. La rigueur de cette sélection garantit pour une grande partie la qualité et la renommée des produits de la Samaria.

Source: Optimisation de la ligne de séchage de banane à la Samaria, Colombie (Coopération technique Cirad-Flhor, Samaria). Jean Luc CATTIN, mémoire de fin d'étude ENSIA/SIARC, septembre 1993.

3. Les pré-traitements

Toutes les opérations de préparation des produits présentées dans la première partie sont valables à l'échelle de la petite entreprise: lavage, triage, épluchage, parage et découpage.

Plus importants que dans le cadre d'une activité familiale, les moyens disponibles dans les entreprises aurotisent des traitements plus poussés, des techniques plus élaborées, des matériels plus performants.

Le blanchiment

Pour les artisans et les petites entreprises, le blanchiment à la vapeur peut être intéressant. Le système de claies permet de supprimer les manipulations manuelles des légumes pour les transférer au séchoir. Les conditions de travail sont plus hygiéniques. A petite échelle, la claie est placée au-dessus d'une cuve contenant l'eau portée à ébullition. Il faut couvrir le tout d'un couvercle.


Le blanchiment

Les avantages et inconvénients du blanchiment à l'eau et à la vapeur


EAU

VAPEUR

AVANTAGES

Simplicité du matériel et coût d'achat peu élevé.

Eau réutilisable 5 à 6 fois.



Utilise beaucoup moins d'eau.


Traitement de grandes quantités facile. Il est aisé de trouver de grosses cuves.




Evite les pertes de nutriments solubles.


Plus rapide que le blanchiment à la vapeur.


INCONVENIENTS

Perte importante de nutriments solubles.

Le nettoyage des paniers métalliques est difficile.


Forte consommation d'eau même si celle ci est réutilisable plusieurs fois.

Difficile d'obtenir un traitement uniforme.



Ne permet pas de traiter de grandes quantités parce que les couches de produits doivent être minces, ce qui demande beaucoup de place.

- Conseils pratiques

Une adjonction d'acide citrique ou de jus de citron (antioxydants) dans la solution de blanchiment permet de mieux conserver la couleur du produit traité.

Le sulfitage des légumes

Le sulfitage consiste à appliquer aux légumes un traitement à base de soufre. Celui-ci s'utilise comme agent chimique de conservation:

- il protège la couleur naturelle des fruits;
- il augmente la durée de conservation;
- il détruit les micro-organismes et repousse les insectes pendant le stockage.

Le sulfitage peut s'effectuer en même temps que le blanchiment à l'eau dans la même cuve ou la même marmite

Une attention particulière est à porter au type de récipient que l'on utilise (le sulfite est corrosif).

Le produit le plus couramment utilisé est le métabisulfite de sodium ou de potassium. Sa concentration se mesure en partie pour million (ppm) ou en mg par kg. Le coût de ce traitement reste faible car les doses employées sont infimes. La concentration et la durée du traitement varient en fonction du produit. Ces données sont précisées dans les fiches produits en fin d'ouvrage. Les valeurs sont données à titre indicatif. Il convient à chacun d'adapter les doses en fonction des caractéristiques locales de production à partir d'essais.

Utilisé en concentrations élevées, le soufre est toxique. Dans certains pays, il existe des normes fixant la concentration maximale admissible. Dans le cas où les légumes sont vendus à l'expert, il est essentiel de se renseigner sur la réglementation des pays acheteurs. Par exemple, aux Pays-Bas, l'utilisation de soufre comme agent conservateur n'est pas acceptée. Les normes internationales (OMS) fixent la teneur maximale en soufre résiduel à 0,05% dans le produit.


Sulfitage à sec

- Conseils pratiques

Il convient de contrôler le sulfitage avec précision. Appliqué en trop grande quantité, le soufre donne une couleur foncée et une mauvaise odeur aux légumes les rendant invendables. A titre indicatif, une cuillère à café de métabisulfite correspond à 5 g de soufre.

Le soufrage des fruits

Pour les fruits, le traitement au soufre s'effectue à part dans une chambre de "soufrage". Cette opération consiste à brûler du soufre en poudre ou en bandelette. Le gaz qui se dégage traite le produit.

Le soufrage a exactement le même objectif que le sulfitage pour les légumes. Mais le blanchiment entraîne de grandes pertes de jus. La valeur nutritive diminue fortement. C'est pourquoi il est préférable de traiter les fruits avec cette méthode.

Le soufrage présente l'avantage d'utiliser du soufre en poudre, plus facile à se procurer que le métabisulfite de sodium.

La dose de soufre employée pour traiter les fruits est deux fois moins importante que pour les légumes, en moyenne 100 à 200 g de soufre pour 100 kg de fruits. La quantité de soufre à utiliser et le temps d'exposition varient en fonction du produit, de sa teneur en eau, des traitements antérieurs et de la dose maximale autorisée.

Encore une fois, ces valeurs sont données à titre indicatif. Elles doivent être adaptées aux conditions de transformation locale à partir d'essais.


Soufre en poudre

- Conseils pratiques

Comme pour les légumes, il convient de maîtriser la dose de soufre et de respecter les réglementations. Si la dose est insuffisante, le traitement ne pourra pas éviter les fermentations microbiennes. Si la dose est trop élevée, on observera des brûlures superficielles, un goût de soufre et le produit pourra être toxique.

La chambre de soufrage est munie d'ouvertures réglables et contient des claies empilées les unes sur les autres. Le soufre est enflammé et brûlé dans la chambre pendant 1 à 3 heures.

L'imprégnation de sucre

C'est une opération facultative qui n'est pas obligatoire pour obtenir des produits de qualité. Il est très important de noter que l'imprégnation de sucre modifie le produit final par rapport à un séchage normal. Les fruits sont plus doux, plus suaves car ils absorbent une petite quantité de sucre. Cet élément est à percevoir à la fois comme un avantage et un inconvénient. Les réactions des consommateurs face à un nouveau produit diffèrent fortement. Ils peuvent aussi bien apprécier que bouder les fruits ayant subi le sucrage. Il est donc important de réaliser des tests auprès de consommateurs sur les marchés avant de se lancer dans ce type de produits.

L'imprégnation de sucre élimine une partie de l'eau du produit par osmose. En plaçant les fruits dans un milieu concentré en sucre, un échange se produit à travers les membranes cellulaires. L'eau des fruits est entraînée vers le milieu extérieur tandis qu'une petite quantité de sucre pénètre à l'intérieur des aliments.

Comme les membranes cellulaires sont beaucoup plus perméables à l'eau qu'au sucre, le résultat final se traduit par un séchage partiel des fruits. Cet échange se poursuit jusqu'à ce qu'un équilibre soit atteint.


1 Trempage (18h)


2 Second trempage (1h)


3 Rinçage à l'eau froide, puis


4 Séchage à l'ombre

L'imprégnation de sucre présente d'autres avantages:

- il garantit une couleur agréable sans sulfitage, il permet de réduire les altérations de la couleur et des arômes;

- le produit fini contient une teneur élevée en eau qui donne une texture plus proche de celle des fruits frais.

En revanche, cette opération augmente le temps de travail et le coût de production. Dans certains pays, le sucre est une denrée chère, ce qui accroît considérablement les coûts de fabrication. Le produit traité sera-t-il valorisé à la vente? Les perspectives de débouchés et d'accroissement de la valeur ajoutée sont certainement les deux points clés à étudier avant de mettre en place cette opération.

- Deux méthodes

La méthode la plus simple consiste à saupoudrer du sucre fin (saccharose) sur les fruits juste avant de sécher. Le produit final présentera un enrobage sucré.

Une autre technique consiste à plonger les morceaux de fruits dans un sirop de sucre concentré. La concentration de la solution et le temps d'immersion varient en fonction du produit et du degré d'évaporation désiré. Le principal problème de cette technique reste le recyclage de la solution de sucre diluée. Sa réutilisation est limitée en raison des risques de contamination microbienne au bout d'un certain temps. La fabrication de nectars, sirops ou de confitures représente une solution intéressante permettant d'élargir la gamme des produits. Cette technique a été testée sur la banane, les mangues et les pagayes.

Le choix de l'une de ces deux techniques dépend avant tout des préférences des consommateurs mais aussi de leur coût.

- Conseils pratiques

Une fine couche de sucre adhérant à la surface des fruits provoque parfois un «collant» indésirable. Pour l'éliminer, on procède à un rinçage rapide après l'osmose ou à un glaçage des fruits après séchage. L'imprégnation de sucre dans une solution concentrée peut très bien s'effectuer dans la marmite ou la cuve de blanchiment.

4. Le conditionnement

Les emballages "modernes" présentent de bonnes garanties contre la réhumidification et les chocs. Le plus utilisé est le polyéthylène. Ce plastique souple présente l'avantage d'être disponible partout, de mieux protéger de l'humidité que les emballages traditionnels, il est facilement thermocellable (il se ferme à la chaleur) et son coût reste modéré.

Par contre, il se perce et se déchire facilement Il ne garantit qu'une conservation limitée dans le temps (36 mois selon les produits) car les produits se réhumidifient malgré tout progressivement. Il est important de noter qu'il existe plusieurs épaisseurs de polyéthylène: de 50 m à 100 m. Il existe également du polyéthylène double densité que l'on trouve dans les villes importantes. Plus le plastique est épais et plus il est étanche à la vapeur d'eau. La conservation sera d'autant meilleure.

Il existe d'autres films plastique plus performants que le polyéthylène, comme le polyamide, le Triplax ou le polypropylène mais leur coût est plus élevé: 70 à 100 Fcfa le sachet de 250g. D'autant plus qu'ils sont importés des pays industrialisés et la dévaluation du franc cfa a fait doubler leur prix. De plus, il est difficile de se procurer ces films plastique dans les pays en développement.


Le conditionnement


Le conditionnement

Qu'est ce qu'un bon emballage?

Un bon emballage doit:

- assurer une barrière efficace entre le produit et le milieu extérieur: vapeur d'eau, lumière, pollution, microbe, air, perte d'arômes;

- être inerte par rapport au produit;

- ne pas laisser d'odeur résiduelle ou de goût;

- mettre le produit en valeur pour attirer le consommateur;

- renseigner le consommateur sur le produit: composition, poids, durée de conservation...;

- être d'emploi facile pour l'utitisateur tout en étant inviolable:

- être facilement recyclable et ne pas faire beaucoup de déchets


Pour améliorer encore la protection des produits, les sachets peuvent être placés dans des paniers ou des bidons. Ils protègent efficacement contre les chocs et isolent correctement de l'air ambiant. Enfin, ils préservent le produit de la lumière qui altère la couleur.

Dans tous les cas, il convient de stocker les produits séchés dans un endroit propre, frais, sec et à l'abri de la lumière.

Le choix de l'emballage dépend de plusieurs facteurs:

- Les types de conditionnement disponibles sur place

Bien qu'il existe une très grande diversité d'emballages, les pays en développement n'ont accès qu'à un panel restreint. Le polyéthylène reste de loin le plastique le plus utilisé, en zone urbaine comme en zone rurale.

- La valeur du produit à emballer

Pour les produits à haute valeur ajoutée comme la mangue, on peut utiliser des films plastique plus résistants car la marge est confortable. Il est beaucoup plus facile de dépenser 280 Fcfa d'emballage pour la mangue, vendue 4000 Fcfa/kg que pour la tomate, vendue 900 Fcfa/kg.

- La destination du produit

Selon que le produit est destiné à l'autoconsommation, aux marchés régionaux ou à l'exportation, l'importance de l'emballage n'est pas la même. Dans le cas de l'autoconsommation, cette fonction se résume à la protection contre les agents de détérioration extérieurs (humidité, lumière, rongeurs, insectes...).

Par contre, à l'exportation, l'emballage joue un rôle extrêmement important. En plus de la protection, il doit attirer le consommateur, solide et facile à manipuler pour les transporteurs, apporter des informations sur le produit (ingrédients, poids, date limite de consommation). Des lois fixent dans chaque pays les informations qui doivent être mentionnées obligatoirement sur les emballages. Pour l'exportation, le recours aux sachets Triplax (multicouche) est recommandé.

Adapter l'emballage à son marché

L'unité de Koalba au Burkina Faso produit des mangues séchées. Elle commercialise sur deux créneaux différents. Les mangues de premier choix sont destinées à l'exportation pour le marché suisse. Les mangues déclassées sont vendues sur le marché national.

L'entreprise module l'emballage en fonction de la qualité et du prix de vente du produit. Les mangues de première qualité sont conditionnées dans des sachets polyamide de 250 g stockés dans des cartons de 10 kilos. Le sachet revient à 70 Fcfa et le carton revient à 400 Fcfa ce qui porte à 320 Fcfa le coût de l'emballage par kg de mangues exportées. Le kilo est vendu 4000 Fcfa, l'emballage représente donc 8% du prix de vente.

Les mangues de deuxième qualité sont conditionnées dans des sachets polyéthylène de 200 g revenant à 40 Fcfa l'unité et stockes dans des cartons de 10 kilos à 400 Fcfa. Le coût de l'emballage s'élève donc à 240 Fcfa, ce qui représente, le kilo de mangue étant vendu 2000 Fcfa, 12% du prix du produit. Si les mangues de deuxième choix avait été conditionnées de la même façon que celles de premier choix, le coût de l'emballage représenterai 16% du prix du produit. Pour 2,2 tonnes de mangues de deuxième qualité commercialisées, cela représente une économie de 176000 Fcfa

- Le coût de l'emballage

Il est important d'adapter l'emballage à son marché. Pour les produits destinés aux magasins d'alimentation où à l'exportation vers l'Europe, l'emballage doit être d'excellente qualité. Il ne faut pas hésiter à investir dans un emballage cher comme le plastique polyamide (70 Fcfa le sachet de 250g) pour satisfaire les exigences d'une clientèle aisée. Sur les marchés locaux, les consommateurs sont moins regardants. Le polyéthylène, peu cher (50 Fcfa le sachet de 250 g), est alors bien adapté.

- La période de stockage

En fonction de la saison, le climat est plus ou moins humide. Si le stockage des produits a lieu en saison des pluies, il faudra veiller à choisir un emballage bien étanche pour protéger correctement les aliments séchés de la réhumidification.

4. Gérer la qualité des produits séchés

Les enjeux de la qualité sont différents suivant l'échelle de l'entreprise et la destination des produits.

Lorsque la production est destinée à l'autoconsommation, l'objectif est d'obtenir des produits plus sains, sans sable ni poussière, plus nutritifs et qui se conservent mieux que les produits traditionnels.

Lorsqu'il s'agit de commercialiser sur les marchés locaux, le produit doit avoir en plus d'autres atouts comme une présentation attractive, la facilité d'utilisation.

Enfin, lorsqu'il s'agit d'exporter sa production dans les pays industrialisés, les exigences de qualité sont accrues mais le prix de vente permet de la valoriser largement.

La qualité peut donc se définir comme l'aptitude du produit à satisfaire le besoin de l'utilisateur. Selon que celui ci est autoconsommé, vendu directement au consommateur, à des grossistes ou à des industries de transformation, les critères qualitatifs seront différents.

1. Qualité et consommateur

Les exigences s'expriment à différents niveaux et on peut les regrouper en plusieurs catégories:

- La qualité sanitaire et physico-chimique:

Elle est mesurée par le nombre et la nature des germes microbiens (bactéries et moisissures) mais aussi par les résidus de produits chimiques, notamment le soufre. A ce niveau, intervient un acteur particulier: l'Etat. En effet, les gouvernements ont en charge la protection de la santé publique. Aussi, chaque pays établit des normes sanitaires spécifiques à chaque produit. Il convient de se renseigner sur les réglementations en vigueur avant de produire. Lorsque l'on exporte, les normes changent en fonction des pays. En Europe, elles sont particulièrement contraignantes.

- La qualité organoleptique

Le goût, la texture, les arômes, l'acidité, la couleur et l'aspect des produits caractérisent la qualité organoleptique.

- La qualité nutritionnelle

La richesse du produit en vitamines et en éléments nutritifs détermine la qualité nutritionnelle.

- La qualité de service

Cet aspect regroupe l'ensemble des facilités qu'offre l'utilisation du produit. Par exemple, le manioc précuit permet à la préparatrice de gagner du temps. Pour le grossiste, un conditionnement dans des emballages solides facilitant la manutention sera apprécié. Enfin, pour l'industrie de transformation, la régularité des approvisionnements est un élément important.

Pour les ateliers de taille artisanale ou semi-industrielle, il ne faut pas hésiter à fabriquer des produits de qualité différentes pour répondre aux besoins de chaques utilisateurs. Par exemple, pour la mangue, on peut proposer un produit semi-confit, découpé en petits cubes pour les apéritifs ou pour les enfants, mais aussi une mangue séchée nature sans sucre, présentée dans un emballage attractif pour répondre au marché de solidarité européen. Pour un même produit, on peut alors proposer plusieurs présentations constituant une gamme, chaque élément de la gamme s'adressant à un utilisateur spécifique.

Cette stratégie est difficile à mettre en oeuvre pour les petits producteurs qui, souvent, n'ont pas les circuits de distribution spécifiques et ne possèdent pas toujours les moyens techniques et financiers d'adapter la qualité de leur produit.

Lorsqu'il s'agit de commercialiser sur les marchés locaux, la valorisation de la qualité pose un problème car la référence du consommateur est le produit traditionnel. Avec un prix parfois 5 fois plus élevé, le client n'est pas prêt à acheter un produit séché de meilleure qualité.

Une question se pose alors: pourquoi fabriquer des produits de qualité si elle n'est pas valorisée par un prix de vente plus élevé? En fait, on rejoint ici les aspects développés lors de la démarche marketing: quel produit vendre, à qui et comment. La réaction du consommateur sur les marchés locaux peut s'expliquer de plusieurs façons. Soit le produit séché ne correspond pas au pouvoir d'achat de la clientèle, on s'est alors trompé de cible. Soit le consommateur ne connaît pas le produit, et il faut envisager une opération de promotion et de communication. Soit le produit ne répond pas aux besoins des acheteurs.

Los créatures qualité do la mangue en fonction des utilisateurs pour une entreprise semi-industrielle

- Pour les consommateurs européens, les trois critères les plus importants sont, dans l'ordre:

- l'aspect: forme, taille, couleur;
- la texture et la valeur gustative;
- la présence ou non de colorant.

On remarquera que la valeur gustative n'est pas le premier critère d'évaluation de la qualité du consommateur. La touche d'exotisme prime sur les autres considérations. Par ailleurs, le goût des fruits frais n'est pas toujours familier au consommateur.

- Pour les industriels utilisateurs:

Les fruits tropicaux secs sont utilisés dans la préparation de biscuits, pâtisseries, confiseries, crénais glacées ou déjeuners aux céréales. Les deux critères de qualité sont:

- la fabrication des produits cuits ou enrobés;
- la tenue des produits aux traitements industriels (texture, couleur).

- Pour les importateurs, conditionneurs et distributeurs, la qualité des fruits séchés répond à 4 critères:

- bonne tenue et bonne couleur;

- régularité d'approvisionnement sur l'année;

- homogénéité des lots;

- un service à la vente, à savoir le rappel de l'origine du traitement employé, des additifs utilisés, la mention de la composition chimique et de la valeur calorique du produit commercialise mais aussi une commodité et une souplesse d'emploi (par exemple l'utilisation du code barre sur les lots expédiés).

Source: SIARC, Pierre Hamelin, Fruits déshydratés thaïlandais, mémoire de fin d'études, septembre 1991

2. Quels sont les problèmes les plus fréquents?

- Une qualité sanitaire pas toujours satisfaisante

Les produits séchés sont détériorés par les microbes qui s'y développent. Les causes de contaminations sont multiples: l'eau d'arrosage fortement polluée des plantations maraîchères, l'eau utilisée dans l'atelier, le manque d'hygiène lors des étapes de préparation, un temps de séchage insuffisant, le conditionnement et le stockage des denrées dans de mauvaises conditions. Les attaques des insectes, notamment des mouches, sont aussi responsables de détériorations.

- Des problèmes d'aspect et de couleur

La qualité organoleptique des produits séchés est dégradée par la poussière qui pénètre dans les séchoirs. Les aliments qui prennent la poussière et le sable ne présentent pas un bon aspect.

Les séchoirs traditionnels améliorés et les séchoirs solaires directs ne permettent pas de conserver la couleur originelle des produits car ils ne les protègent pas des rayons du soleil. De plus, les séchoirs solaires ne permettent pas de réguler la température. Lorsque celle ci dépasse une certaine valeur, variable suivant les aliments, le produit se dégrade, la couleur se modifie, les vitamines sont détruites, la texture devient dure ou caoutchouteuse.

Par exemple, pour la patate douce, si la température dépasse 75°C à l'intérieur du séchoir, elle noircit et il se produit un phénomène de croûtage (formation d'une croûte sur les morceaux qui empêche le produit de sécher correctement et lui donne un aspect et un goût peu agréables).

3. Comment améliorer la qualité des produits séchés

L'organisation et la formation sont les deux points essentiels pour maîtriser la qualité.

Organiser son travail permet de réduire le temps qui s'écoule entre le moment où les produits sont récoltés et le moment où ils sont mis à sécher. Plus ce temps est long et plus le produit se dégrade. Lorsque l'on travaille à plusieurs, il est nécessaire d'organiser le groupe pour répartir les tâches en fonction des compétences de chacun et du temps de travail. Certains membres peuvent compenser les périodes où d'autres ne sont pas disponibles.

La formation revêt elle aussi une grande importance car elle sensibilise aux problèmes d'hygiène. De plus, elle permet de profiter de l'expérience des autres et ainsi de progresser plus rapidement.

Il faut aussi prendre conscience que la qualité des produits se joue à chaque étape de transformation depuis la récolte, jusque sur l'étalage du commerçant. Il convient de prendre des mesures au niveau de toutes les phases de fabrication. Le respect des règles d'hygiène et les conseils donnés dans le chapitre 3 (Des exigences accrues pour la transformation), vous permettrons d'amélioré la qualité de vos produits.

Comment déterminer le critère de fin de séchage de la mangue

On réalise plusieurs lots en faisant varier le temps de séchage. Pour chaque lot, on établit une description précise des produits finis: couleur, texture, aspect.

On analyse les échantillons en laboratoire pour mesurer leur teneur en eau. La mangue séchée stable a une teneur en eau de 12 à 15%.

A partir de la description des lots ayant une teneur en eau conforme, on établit les critères de fin de séchage. Dans notre cas, les mangues ont une consistance élastique, souple et une couleur brun doré. Elle ne se collent pas les unes aux autres.

Ces informations permettent de juger rapidement si les produits sont suffisamment secs pour arrêter le séchage.

Par mesure de prudence, il convient de réaliser de temps en temps une analyse pour surveiller la teneur en eau des produits finis


Sélectionner une bonne matière première


Acheminer rapidement les livraisons.


Utiliser des séchoirs en bon état et les charger complètement.


Empêcher la réhydratation par un stockage bien adapté

- Les critères de fin de séchage

Lors du séchage, il est primordial d'identifier le moment où la teneur en eau du produit est suffisamment faible pour assurer sa conservation. La déshydratation des fruits et légumes s'accompagne d'une modification de leur couleur, de leur aspect, de leur texture. On peut ainsi identifier des critères de fin de séchage spécifiques à chaque denrée. L'intérêt est de pouvoir sortir les produits du séchoir ni trop tôt car dans ce cas le produit ne se conserve pas, ni trop tard car le produit perd de la couleur, durcit et s'appauvrit en vitamines.

Une fois ces critères déterminés, le séchoir doit fonctionner entièrement chargé, toutes les claies doivent être garnies correctement. La densité varie en fonction des produits et se détermine au cas par cas par expériences successives, selon les conditions climatiques locales, les caractéristiques de la matière première et du séchoir.

Lorsque l'on vend sa production, il est nécessaire de réaliser une analyse régulièrement pour vérifier la qualité sanitaire et le taux d'humidité du produit. Les universités, les écoles, les instituts de recherche sont susceptibles de rendre ce genre de service.

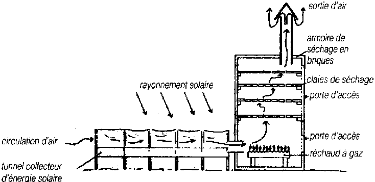
5. Choisir son système de séchage

Outre le séchage au soleil et les séchoirs solaires directs présentés dans la première partie, deux autres types de séchoirs solaires peuvent être utilisés: les séchoirs solaires indirects et les séchoirs hybrides.

1. Les séchoirs solaires indirects

Ces systèmes sont plus performants que les matériels décrits précédemment. Ils présentent l'avantage de mieux préserver les caractéristiques de l'aliment: sa couleur, son aspect, sa valeur nutritive. Ils sont donc particulièrement adaptés au séchage des produits alimentaires. Cependant, ils imposent une plus grande complexité de conception, de construction et de conduite. Inévitablement, le coût du matériel est plus important. Les produits séchés avec ce matériel doivent donc être vendus à un prix élevé pour couvrir ces frais.

- Principe de fonctionnement

Le séchoir solaire indirect se compose de 2 parties: un collecteur qui convertit le rayonnement solaire en chaleur et une chambre de séchage qui contient le produit. L'air pénètre dans le collecteur; il est chauffé, sa température augmente. L'air chaud monte par convention naturelle jusqu'à la chambre de séchage. La durée de séchage est très variable selon les conditions climatiques et la ventilation du séchoir.

Le séchage solaire indirect

Caractéristiques

Produit parfaitement protégé.
Préservation de la qualité des aliments.
Séchage assez rapide.
Coût et complexité plus importants.

Commentaires

L'air est chauffé dans le collecteur par les rayons solaires.
L'air chaud remonte jusque dans la chambre de séchage où le produit sèche sur des claies


Séchoir armoire

Avantages

Inconvénients

- Le produit n'est pas exposé directement au soleil. Il conserve mieux sa couleur et sa valeur nutritionnelle (notamment les vitamines A et C).

- Coût important.


- Rapidité du séchage très variable suivant les conditions climatiques et la conception du séchoir.


- Fragilité des matières polyéthylène qu'il faut changer régulièrement.


- Conception et construction nécessitant une personne qualifiée.


- Formation nécessaire du personnel.

Utilisation

Ce système de séchage présente l'avantage de mieux respecter les caractéristiques des aliments: couleur, aspect, valeur nutritive. C'est pourquoi il s'avère très performant pour sécher les fruits et légumes destinés à la vente.

Ces séchoirs sont à recommander pour les artisans ou les petites entreprises. Le prix du matériel est important. L'activité n'est alors rentable que si l'on est capable de trouver un marché où les produits seront vendus à un bon prix: par exemple les magasins d'alimentation dans les grandes villes

2. Les séchoirs hybrides

Après une vingtaine d'années d'expériences, le séchage exclusivement solaire montre ses limites et ses inconvénients.

- Malgré les améliorations techniques apportées, le processus de séchage n'est pas réellement contrôlable. Le producteur reste tributaire des conditions météorologiques. Les performances des séchoirs diminuent fortement en cas de pluie ou de temps nuageux.

- Le temps de séchage dépasse fréquemment une journée. Comme le matériel ne fonctionne pas la nuit, les produits encore humides s'exposent aux attaques microbiennes.

- Certains séchoirs, en particulier ceux qui utilisent des feuilles plastique, sont fragiles.

Pour palier ces inconvénients, les recherches se sont orientées vers des séchoirs hybrides utilisant une énergie d'appoint: fuel, électricité, bois, gaz, sous-produits végétaux... L'apport d'énergie supplémentaire peut se situer à deux endroits différents du séchoir:

- maintien d'une température constante dans le séchoir par un brûleur à gaz, une résistance électrique, un feu de bois. Dans ce cas, l'énergie solaire devient secondaire. Elle permet simplement de préchauffer l'air. Le CEAS a mis au point un séchoir hybride solaire/gaz de grande capacité qui assure le séchage de 100 kg de produits frais en 24 heures pour une consommation énergétique de 2 kWh/kg;

- augmentation de la circulation de l'air par des ventilateurs électriques. Ici l'énergie solaire reste la source de chaleur mais le séchoir a une capacité d'évaporation plus importante grâce à une meilleure ventilation. Le séchoir hybride mis en place par le groupement de femmes Bajane Producer Association aux Iles Barbades utilise un ventilateur d'une puissance de 120 W/h pour un débit de 520 m³ d'air par/h. Il sèche en 4 heures 7 kilogrammes de mangues fraîches.

Le séchage hybride

Caractéristiques

Séchage très rapide et contrôlable
Qualité des aliments préservée
Coût d'investissement et de fonctionnement important

Commentaires

L'énergie d'appoint permet de maintenir une température constante à l'intérieur du séchoir quelles que soient les conditions climatiques.
Le ventilateur assure.
La circulation de l'air.


Séchoir mixte solaire/gaz

Avantages

Inconvénients

- Affranchissement par rapport aux conditions climatiques.

- Coût de production et d'investissement élevé.

- Meilleur contrôle du séchage.

- Nécessité d'approvisionnement local en carburant, électricité, gaz, pièces de rechange

- Forte augmentation de la productivité par rapport au. Séchoir solaire car le matériel peut fonctionner la nuit ou en saison des pluies si besoin.

- Personnel qualifié pour la maintenance.

Utilisation

Ce type de matériel s'adresse à des promoteurs proches des centres urbains. Pour les zones rurales, l'approvisionnement en énergie reste très difficile. Il permet de résoudre les difficultés de séchage rencontrées dans les zones climatiques humides.

En raison de leur prix très élevé, ces matériels s'adressent à des artisans ou des groupements qui transforment régulièrement de grosses quantités.

Certains séchoirs hybrides combinent les deux principes: un chauffage de l'air au gaz avec un ventilateur pour assurer une bonne circulation de l'air. Ces systèmes très coûteux trouvent une application dans les moyennes et les grosses unités de transformation à vocation commerciale qui sont soumises à des impératifs de qualité et de régularité de production.

3. Combiner séchage naturel et séchage hybride

Un séchage naturel sur claies surélevées et bien ventilées est parfois intéressant à coupler à un séchage solaire de finition.

En effet au début du séchage, il faut éliminer rapidement une grande quantité d'eau pour éviter les altérations du produit. Un séchage naturel utilisant les vents dominants est plus efficace qu'un séchoir solaire où les courants d'air sont faibles.

Par contre en fin de séchage, il faut une température élevée pour éliminer l'eau restante. C'est à ce niveau que le séchoir solaire s'avère très performant sur des produits «préstabilisés».

La mise en place de petits ventilateurs à photopile permet en outre d'optimiser le séchoir solaire; les petits panneaux à cellules photovoltaïques se banalisent et leur coût les rend de plus en plus accessibles.

CONCLUSION

Lorsqu'il s'agit de commercialiser sa production, le choix du séchoir est fonction de la quantité de produit à vendre, en d'autres termes du marché. A l'échelle d'une petite entreprise ou d'une coopérative, le séchage simple au soleil n'est plus envisageable: il est trop aléatoire, trop lent et ne permet pas de garantir une qualité suffisante des produits.

Si le marché reste local et peu important, le grand séchoir coquillage et le séchoir tente sont bien adaptés. Ils possèdent une capacité de 3 à 6 kg de produits secs par cycles et leur coût varie de 20000 à 50000 Fcfa. Le séchoir tente est moins cher à l'achat que le séchoir coquillage mais il est plus fragile car sa grande surface plastique se déchire rapidement avec le vent, l'usure du soleil.

Si le marché devient important, régional, national, voire international, le grand séchoir cabane et les séchoirs hybrides permettent de transformer de grandes quantités, jusqu'à 10 kg de produits secs par cycle. Au delà une étude au cas par cas est nécessaire en calculant en particulier la rentabilité économique de l'opération. Les coûts des matériels varient très fortement, de 50000 Fcfa pour un grand séchoir cabane à 1000000 de Fcfa pour le séchoir hybride solaire/gaz.

Le «tout solaire», convient rarement à l'échelle de l'entreprise: pour assurer une production constante et de qualité régulière, les séchoirs solaires doivent être associés à d'autres systèmes fonctionnant au gaz ou à l'électricité. En revanche, le solaire permet de réaliser des économies d'énergie non négligeables.

La fabrication de produits séchés est une bonne idée à priori pour créer une entreprise ou élargir la gamme d'activité d'une coopérative rurale. Néanmoins, la rentabilité n'est pas assurée: le créneau est assez étroit et les investissements onéreux. La prudence s'impose donc avant de pousser des producteurs ou des entrepreneurs vers cette activité. Une étude économique est indispensable. Mais il existe des opportunités sur les marchés nationaux et à l'exportation que doivent pouvoir saisir des individus ou des groupements dynamiques et bien organisés. Les études de cas qui suivent en fournissent des exemples.

6. Etudes de cas

1. Le cercle des sécheurs au Burkina Faso

Le Burkina Faso est un gros producteur de fruits et particulièrement de mangues. Pendant les mois de mai et de juin, la récolte de mangue dépasse très largement la demande et les pertes sont énormes, entre 50000 et 80000 tonnes/an.

En 1989, le CEAS, une ONG suisse, trouve un marché en Europe pour les mangues séchées par l'intermédiaire d'une organisation suisse de commerce de solidarité: OS3. Il finance quatre séchoirs banco pour trois groupes de transformateurs motivés par cette expérience. De fil en aiguille, la production se développe et, sous l'impulsion du CEAS, le Cercle des sécheurs voit le jour pour organiser, former et encadrer les producteurs.

Le CDS regroupe huit unités de séchage, cinq membres fondateurs et trois usagers:

- l'entreprise Bassenère (Groupement féminin 6S à Ouahigouya);
- l'entreprise Mayaboutil (privée, à Bobo Dioulasso);
- le Groupement de séchage de Bérégadougou GSBE à Banfora;
- l'entreprise Koalba (privée, située à Ouagagougou);
- l'entreprise Dogori (privée, située à Bobo Dioulasso);
- l'UCAB, Unité de conservation alimentaire de Bobo Dioulasso;
- la Coopake à Kénédougou;
- la ferme de Bassoma à Toussiana.

Le CDS est structuré en groupement d'intérêt économique (GIE) avec des statuts et un règlement intérieur légalisé. Il est inscrit au registre du commerce depuis janvier 1995. Une assemblée générale composée de tous les producteurs élit un conseil d'administration et un président. Un organe exécutif avec un coordonnateur des activités gère directement les affaires du CDS sur délégation du Conseil d'Administrations.

Le financement de la structure est assuré par une cotisation que verse chaque adhérent en fonction de sa production: 240 Fcfa/kg de mangues séchées produit.

Le CDS s'occupe uniquement des activités dont la mise en commun présente un avantage indéniable: l'approvisionnement en fourniture, la commercialisation des produits ainsi que la formation des adhérents.

Le CDS prospecte le marché national et le marché européen

Le CDS organise la collecte de la production de chaque unité et vérifie la qualité des produits avant de les vendre. Un planning de production permet de répartir et de coordonner les arrivages de mangues séchées. Le CDS commercialise sur deux marchés différents:

- Le marché national

Il reste encore peu important car les produits séchés sont chers. Le CDS a mis en place deux logos pour la commercialisation au Burkina Faso: "Régaldise" pour les fruits (mangues, ananas, papaye, coco râpé) et "Aromandise" pour les légumes (oignon, tomate, citronnelle, haricot, pomme de terre). Ces logos permettent une meilleure présentation des produits. La commercialisation se fait par l'intermédiaire des supermarchés intérieurs au Burkina Faso et des magasins d'alimentation.

Pour pénétrer le marché national, le CDS souhaite installer une boutique de vente dans chacune des 8 unités de séchage actuelles. A partir de ces points de vente privilégiés, le CDS envisage un plan de promotion et de publicité pour lancer véritablement les produits séchés.

- Le marché européen

C'est le principal débouché pour la mangue. En l'espace de 5 ans, de 1989 à 1994, la production est passée de 0.1 tonne à 14 tonnes pour un chiffre d'affaires de 56 millions de francs cfa (après la dévaluation).

La stratégie du CDS a deux volets. En premier lieu, conforter et développer son activité avec les organisations de commerce solidaire européennes: OS3, Magasin du monde en Suisse, Tropical Whole Foods en Angleterre, Artisans du monde en France, ORFAN en Belgique, GERA en Allemagne. Mais le CDS cherche également à élargir ses débouchés sur d'autres secteurs. Il s'intéresse notamment au marché des produits biologiques. Une étude des conditions de passage au label "biologique" au sein des unités de séchage du CDS est prévue pour 1996. Le marché "grand public" européen reste une cible privilégiée pour le Cercle des sécheurs mais à ce niveau un grand nombre de difficultés se présentent. La mise en place d'une unité pilote s'avère indispensable pour tester le marché sur des produits ciblés comme la mangue, la tomate, les oignons. Mais sur le marché européen, les produits asiatiques constituent des concurrents sérieux avec des prix très bas. Il faut donc se distinguer par la qualité des produits.

Le CDS assure la formation de ses adhérents

Le CDS accorde une importance particulière à la formation de ses adhérents. Cette action permet de sensibiliser les producteurs sur les problèmes de qualité: celle-ci est un enjeu crucial pour développer les exportations. Le CDS propose donc des formations techniques sur la maîtrise du séchage et sur les normes de qualité. Des formations sur la comptabilité et la gestion de l'entreprise sont également mises en place pour aider les entrepreneurs à s'organiser et à améliorer la rentabilité de leur activité.

Pour assurer au mieux cette mission de formation, le CDS sollicite l'appui du CEAS qui organise les programmes et réalise l'enseignement. Elles sont gratuites pour les adhérents. Le CDS les finance à partir de la cotisation des adhérents.

Le CDS regroupe les commandes d'approvisionnement des unités de séchage

Le CDS commande les fournitures, c'est-à-dire les emballages en plastique et en carton, les produits de traitements comme le soufre et le petit matériel (balance, thermomètre, moustiquaire).

En fait, le CDS passe ses commandes par l'intermédiaire du CEAS en Suisse car la majorité de ces fournitures ne sont pas disponibles sur place, notamment le soufre et les sachets plastique très résistants constitués de deux couches en polyéthylène/polyamide. Ces sachets sont destinés aux marchés européens solidaires. Un client en Angleterre fournit lui-même les sachets plastique correspondant aux quantités qu'il achète. Le prix des sachets est déduit lors des paiements. Seuls les cartons de 10 kg sont commandés à une société burkinabé.

Pour l'approvisionnement en mangues fraîches, chaque unité de séchage est indépendante. Elle organise son plan d'approvisionnement en relation avec les producteurs de mangues et les transporteurs. L'achat de mangues n'est pas un problème car la très forte production fait que l'on trouve toujours la quantité et la qualité souhaitée. Par contre, les unités de séchage rencontrent des difficultés dans l'organisation de leur approvisionnement.

Les clefs du succès

Si le CDS et ses huit unités adhérentes rencontrent aujourd'hui un succès commercial indéniable, ils le doivent à une série de facteurs:

- Une approche prudente et réaliste du marché

L'exportation semblait la meilleure solution car le marché local de la mangue est saturé de produits frais et les prix de vente ne permettaient pas la rentabilité des entreprises. Avant de se lancer dans une production importante, le CEAS a tout d'abord réalisé un test commercial en Suisse dans la chaîne de magasins OS3. Ce n'est qu'après le succès de ce test et l'assurance d'obtenir des débouchés que le CEAS a soutenu le développement de la production de mangues séchées.

- Une commercialisation collective

Chaque unité de séchage prise individuellement est incapable de répondre aux besoins du marché de solidarité car leur production est trop faible. Le Cercle des sécheurs permet le regroupement de la production et une commercialisation dynamique. En effet, le CEAS a doté le CDS d'un agent commercial qui s'occupe de l'exportation, du contrôle de qualité (couleur, analyse microbiologie, teneur en eau) et de la recherche de nouveaux marchés. Le salaire de ce cadre est entièrement assumé par le CDS.

- La spécialisation sur les produits porteurs

La mangue, mais également l'oignon et la tomate, sont trois produits très consommés au Burkina Faso et qui intéressent les marchés européens.

Cette expérience a valeur d'exemple. Le Cercle Des Sécheurs est une structure unique d'auto-promotion de petites entreprises de séchage solaire. Son action permet aux producteurs de trouver un appui pour la commercialisation, la formation et l'approvisionnement. Cette structure collective apporte des solutions à un grand nombre de problèmes rencontrés individuellement par chaque unité de séchage.

D'après les contributions de M. Tougouma, coordinateur du Cercle des sécheurs et de Pierre Guissou, CEAS.

3. L'exportation de bananes séchées par la Khochalita en Bolivie

La Khochalita est une coopérative qui réunit aujourd'hui près de 500 adhérents dont 25 producteurs de bananes. La réussite de la Khochalita est due à sa capacité à suivre les évolutions du marché. Avec le développement du mouvement écologique en Europe, les activités de la coopérative se sont diversifiées. Il y eut d'abord les textiles en laine d'alpaga teintée avec des couleurs naturelles, puis la fabrication de verre à partir de bouteilles recyclées. Enfin, les fermiers de la coopérative souhaitaient conserver leurs bananes et ne pas les vendre seulement en frais. Ils décidèrent alors de les sécher.

Une première expérience sur les marchés locaux fut concluante. Lorsque les représentants allemand de la GEPA (German Society for the promotion of Partnership with the Third World) vinrent en Bolivie pour acheter des textiles, ils goûtèrent les bananes séchées. La GEPA accepta de référencer ce nouveau produit dans son catalogue. Depuis 1994, les bananes séchées sont commercialisées dans les magasins de solidarité en Allemagne.

L'étape la plus importante a été de développer de nouvelles méthodes de séchage de la banane à l'échelle semi-industrielle pour fabriquer un produit correspondant aux exigences du marché allemand. La Khochalita s'est tournée vers l'Université de Cochabamba qui a conçu le séchoir. Trois séchoirs solaires cabanes de grande capacité (100 tonnes de matière fraîche par an) ont été achetés. Le coût de chaque séchoir s'élève à 3500 dollars. Ils ont été construits par Sistematica, une entreprise locale qui les a adaptés aux conditions locales.

Pour des raisons climatiques, la production a été transférée des plaines humides de Chapare à Cochabamba à 2200 m d'altitude. Toujours pour des raisons climatiques, Sistematica a opté pour un séchage en deux temps qui combine le séchage solaire et le séchage électrique. Le séchoir électrique permet un pré-séchage de 2 à 3 jours et le séchage solaire termine l'opération en 1 à 2 jours suivant les conditions climatiques. Cette méthode assure la sécurité de la production en évitant au maximum les pertes, améliore la qualité sanitaire des produits finis et permet des économies d'énergie.

Dans le cas de la Khochalita, le séchage solaire seul n'est pas assez performant pour deux raisons:

- le temps de séchage varie fortement en fonction des aléas climatiques et les clients européens exigent d'être livrés dans les délais fixés;

- les produits séchés sont très sensibles aux attaques microbiennes durant les premiers jours de séchage. S'il pleut durant cette période, les pertes peuvent être très importantes et la qualité des produits est médiocre. C'est pourquoi le pré-séchage dans le séchoir électrique s'avère une solution particulièrement intéressante.

Une autre étape particulièrement importante du projet a été d'ajuster la production aux normes européennes. L'université a mis en contact la Khochalita avec FAKT, une ONG allemande, pour adapter la qualité des produits aux exigences microbiologistes et gustatives des consommateurs allemands. Des standards ont ainsi été définis au niveau de la fabrication et de l'emballage des produits. Par exemple, l'eau utilisée dans le processus de transformation est purifiée. Aucun additif n'est utilisé, le trempage des bananes dans un jus de citron est suffisant pour préserver la couleur et la saveur des fruits. Les aménagements réalisés pour satisfaire aux critères européens s'avèrent très contraignants et très coûteux.

La Khochalita prévoit de démarrer la production à 10 tonnes par an: pour les 25 producteurs locaux, cela représente un débouché sûr et des prix supérieurs à la moyenne.

D'après Focus n° 11, bulletin édité par Fakt:
No road too far with dried bananes.

TO PREVIOUS SECTION OF BOOK TO NEXT SECTION OF BOOK