Back to Home Page of CD3WD Project or Back to list of CD3WD Publications

CLOSE THIS BOOKAmplifier Teaching Aid (DED Philippinen, 86 p.)
Bipolar Transistor II
Lesson Plan
VIEW THE DOCUMENT(introduction...)
VIEW THE DOCUMENTIntroduction
VIEW THE DOCUMENTCollector curves (output)
VIEW THE DOCUMENTTransistor power dissipation
VIEW THE DOCUMENTTransistor test
VIEW THE DOCUMENTWorksheet No. 3
VIEW THE DOCUMENTExperiment No. 3

Amplifier Teaching Aid (DED Philippinen, 86 p.)

Bipolar Transistor II

Lesson Plan

Title: Bipolar Transistor II

Objectives:

- Able to analyze a base biased CE configuration
- Able to name the regions of operation in a collector curve
- Know how to test a transistor


Figure

Introduction

Base Curve (Input)


Fig. 3 - 1: Input curve, base biased CE connection

Calculate the Base Current: (see Fig. 2-7)


Fig. 3 - 2: Base biased CE connection

Approximation: VBE = 0.7 V

Ex: Silicon Transistor

VBE = 0.7V, VBB = 10V, RB = 100 KW

Collector curves (output)


Fig. 3-3: NPN transistor collector curve (2N3904)


Fig. 3-4: PNP transistor collector curve (2N3905)

Recall Kirchhoffs voltage law: (see Fig. 2-7)

VCE = VCC - IC * RC

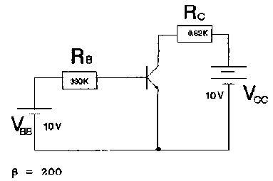
Ex: Analyse the following circuit


Fig. 3-5: Base biased CE connection, b=100

IC = bdc * IB = 6.2 mA

VCE = VCC - IC * RC = 15V - (6.2 mA * 1 KW) = 8.8V

Regions of Operation


Fig. 3-5: Regions of operation

Active region :

Normal operation
Emitter diode forward biased
Collector diode reverse biased
===> horizontal part of the curve

Breakdown region:

Transistor should never operate in this region

Saturation region:

VCE between 0V ----> 1V
===> rising part of the curve

Cutoff region:

IC approximately zero

Transistor power dissipation

PD = VCE * IC

This power causes the junction temperature of the collector diode.

Important information from a data sheet:

Maximum power rating: PD (max.)

Transistor test

- Out of circuit: With an ohmmeter.

* resistance between collector and emitter should be high in both direction.

===> diodes are back to back in series (see also Fig. 2-3)

* reverse and forward resistance of emitter collector diode (reverse/forward ratio) should be more than 1000: 1 (silicon)

- In circuit: With a voltmeter

* measure VE and VC, the difference VE - VE should be more than 1V but less than VCC.

If VCE is less than 1V:


----> transistor may be shorted


If VCE equals VCC:

---- > transistor may be open

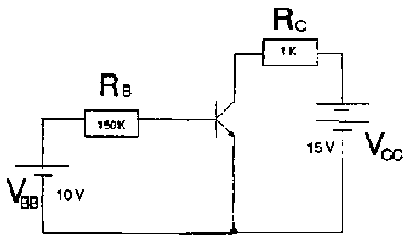
Worksheet No. 3


Figure

No. 1 What is the base current ?

No. 2 If the current gain decreases from 200 to 100 what is the base current?

No. 3 What are the collector-emitter voltage and the transistor power dissipation?

No. 4 Suppose we connect a LED in series with the collector resistor. What does the LED current equal?

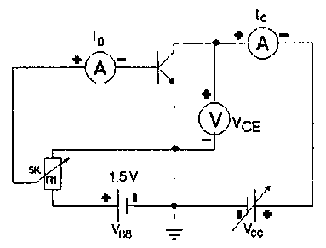
Experiment No. 3


Figure

Procedure:

Adjust VCC in turn to every value of VCE shown in the table. Observe and record the value of IC for each value of VCE. Monitor IB, and readjust R1 if necessary.

From the data in the table, plot the collector characteristic curve (IC over VCE).

IB mA

IC mA


VCE volt


0

2.5

5

7.5

10

15

20

25

30

10










20










30










40










50










TO PREVIOUS SECTION OF BOOK TO NEXT SECTION OF BOOK