Back to Home Page of CD3WD Project or Back to list of CD3WD Publications

CLOSE THIS BOOKHandling and Connection of Cables and Lines for Fixed Laying - Course: Basic skills and knowledge of electrical engineering. Trainees' handbook of lessons (Institut für Berufliche Entwicklung, 17 p.)
3. Connection of Cables and Lines for Fixed Laying to Electrical Equipment
VIEW THE DOCUMENT(introduction...)
VIEW THE DOCUMENT3.1. Making Screw Joints
VIEW THE DOCUMENT3.2. Criteria for Clamped Joints in Electrical Installations
VIEW THE DOCUMENT3.3. Pressed Joints
VIEW THE DOCUMENT3.4. Making Wire-wrap Joints
VIEW THE DOCUMENT3.5. Making Soldered Joints

Handling and Connection of Cables and Lines for Fixed Laying - Course: Basic skills and knowledge of electrical engineering. Trainees' handbook of lessons (Institut für Berufliche Entwicklung, 17 p.)

3. Connection of Cables and Lines for Fixed Laying to Electrical Equipment

Cables and lines of up to 4 mm2 (inclusive) are to be laid with a spare loop at the points of connection so that the conductor can be re-adjusted.

The cross section of conductors must not be reduced at their points of connection and joints. Points of the connection and joints must be easily accessible!

The colour of the core must comply with the function of the conductor!

Example for making of lines for use in heavy current installations of up to 1 kV

Function of the conductor

Colour of the insulation

Main circuits

also auxiliary circuits for industrial controls

black


preferably, however, as middle wire (neutral wire) with no protective function

blue


also auxiliary circuits having switch contacts

brown

Protective wires (neutral wires, auxiliary earth wires), potential equalization wires

green-yellow

3.1. Making Screw Joints

- Before the lines are fed into and connected in the electrical equipment, it is recommended to strip (remove) the insulation as per section 2 hereof.

- For the stripping length, the arrangement of the connections in the equipment is important.

- The connecting lines are to be fed into the connection area of the electrical equipment with their entire sheathing.

- The sheathing of the line must project into the equipment approximately 3 mm.

- When feeding-in lines into equipment with screw joints (e.g. moisture-proof equipment), correct assembly of the screw joint is of utmost importance.

Feeding-in the line with the sheathing prevents the conductor insulation from being worn through by sharp edges of the equipment and, consequently, eliminates possible sources of faults!


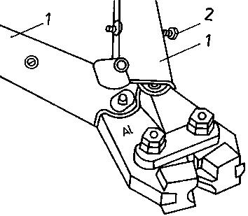
Figure 9 Arrangement of the elements when assembling a gland screw joint

1 sealing ring, 2 pressure ring, 3 plug

- The conductor insulation must end 1 mm before the point of clamping.


Figure 10 Connection of a conductor to a terminal

1 terminal, 2 conductor

Clamping of the conductor insulation might be detrimental to the function of the connection!

Conductors stripped too much may result in short circuits!

When are lugs to be bent for clamped connections?
__________________________________________________________________________
__________________________________________________________________________
__________________________________________________________________________

- One conductor only is to be connected to terminals of installation switches, sockets and electrical equipment

- Points of connection and joints must not be covered by other conductors.

- Conductors are to be connected only in the direction of rotation of the clamping screw.


Figure 11 Connection of 4 conductors to one terminal with distributor plate

1 direction of rotation of the screw, 2 distributor plate

- Aluminium conductors are slightly to be greased with acidless grease (anti-corrosive grease) before they are clamped.

- If Cu and Al conductors are to be jointly clamped to one joint, it is to be made sure that the two conductors are not in direct contact.


Figure 12 Connection of a Cu conductor and Al conductor to one terminal

1 Cu conductor, 2 Al conductor, 3 terminal

- The clamped conductor must be supported by the whole contact area of the point of connection or joint.

- If several conductors are connected to one connection bolt, it is to be made sure that a washer is inserted between the conductors and a lock washer at least after every three conductors.


Figure 13 Connection to a connection bolt

1 cable eye, 2 conductor with lug, 3 connection bolt, 4 washer, 5 lock washer

- For connections of protective conductors or middle conductors one conductor per point of connection is admissible only.

- Series connection of the protective conductor from built-in unit to built-in unit is admissible only if the protective conductor is looped.


Figure 14 Looping of a line over a terminal

Looped lines are admissible only within one assembly (e.g. from lamp to lamp within one luminous band).

- When connecting a cable eye and a lug to a connection bolt, the cable eye and lug must be separately connected. (See also Figure 15)

- When connecting conductors to cap screws without clamping saddle or distributor plate, no more than three conductors, which may differ by up to two cross-sectional steps, must be connected with one washer each to be inserted between the conductors.


Figure 15 Connection to a connection strap with cap screw without clamping saddle

1 pressure elements (cap screw, lock washer, washer), 2 conductor, 3 washer, 4 connection strap

- When connecting conductors to cap screw with clamping saddle, one conductor only must be connected per saddle side. (The conductors may differ by one cross-sectional step.)


Figure 16 Connection to cap screw terminals with clamping saddle

- When connecting conductors to cap screws with distributor plate, one conductor only must be connected per distributor plate. (The conductors must have the same cross section).


Figure 17 Connection with cap screw and distributor plate

- Conductors to be connected to connection bolts or screws with no connection facilities must have at least the following cross sections:

Screw/bolts

Minimum cross section




M 3 to M6

1

mm2

M 8

1.5

mm2

M 10

4

mm2

M 12

6

mm2

M 16

10

mm2

Washers used for connection of conductors to screws or bolts must cover at least two thirds of the conductor!

Screw slots must not be damaged by wrong-size or defective screwdrivers!

3.2. Criteria for Clamped Joints in Electrical Installations

- For clamped connections of lamps it is important that the neutral conductor is always connected to the ring contact and the switch-lamp-wire always to the floor contact.

- Disconnection through switches is allowed for phase conductors only.

- Switches are to connected so that the so-called TRR rule is observed, i.e. the circuit is closed when the switch is in

· top position
· rear position
· right-hand position.

- For connection of switches, attention is to be paid to switch connection marks. (Always connect phase conductors to the terminals marked accordingly.)

- For connection of sockets, the phase conductors are to be clamped at the left-hand side and the neutral conductor with protective conductor function (PEN) or the neutral conductor and protective conductor at the right-hand side.

- The phase conductor sequence (e.g. in the order black, blue, brown) is to be observed when connecting power sockets and other installation units.


Figure 18 Connecting of a power socket

1 conductor 1, 2 conductor 2, 3 conductor 3, 4 PEN, phase conductor sequence, for example, black, blue, brown, green/yellow starting with conductor 1

Non-observance of the correct phase sequence within an installation will result in malfunctions, such as wrong direction of rotation of motors etc.

- In branch or conduit boxes, the phase conductors are to be connected on the left-hand top and the neutral conductor or neutral conductor with protective function on the right-hand bottom.

- If branch or conduit boxes have a fifth connection terminal, the protective conductor only is to be connected to that terminal.


Figure 19 Examples for terminal connections in branch boxes

What are the advantages of a consistent system of clamped connections in electrical installations?
__________________________________________________________________________
__________________________________________________________________________
__________________________________________________________________________

3.3. Pressed Joints

Criteria for connections by means of press-sleeves

- Hand pressing plier required.


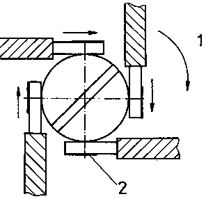
Figure 20 Pressing plier

1 grips with pawl bolt, 2 setscrew for mechanical end stop

- Applicable for Al and AlCu conductors only.

- Applicable only for three or four conductors with a cross section of 2.5 mm2. (If two conductors are to be connected only, a third or fourth conductor is to be pressed in as filler).

- Shorter assembly time.

- Clamping inserts are not required.

- Longer lasting contact than that of other types of joints.

Sequence of operations

- Conductor length to permit three times re-adjustment. (150 mm are sufficient)

- Strip conductor ends and remove any oxide or other contamination layers.


Figure 21 Branch box prepared for pressing

- Slip press-sleeve over stripped conductor ends with rotary motion. Make sure that all conductor ends contact the bottom of the sleeve!

- Distance between sleeve opening and beginning of conductor insulation should not be more than 3 mm!

- Apply pressing plier at front and compress up to stop.

- Slip insulation sleeve onto pressed sleeve until conical end of insulation sleeve closely fits on press-sleeve.


Figure 22 Finished pressed-joint

1 press-sleeve, 2 insulation sleeve, 3 distance sleeve opening to conductor insulation


Figure 23 Pressed joint in a branch box/conduit box, made and insulated

What are the advantages of pressed joints over clamped joints?
__________________________________________________________________________
__________________________________________________________________________
__________________________________________________________________________

3.4. Making Wire-wrap Joints

3.5. Making Soldered Joints

For these two types of joints see “Trainees’ Handbook of Lessons - Making Permanent Joints”.

What operations are required for making wire-wrap joints?
__________________________________________________________________________
__________________________________________________________________________
__________________________________________________________________________

What operations are required for making soldered joints?
__________________________________________________________________________
__________________________________________________________________________
__________________________________________________________________________

TO PREVIOUS SECTION OF BOOK