Back to Home Page of CD3WD Project or Back to list of CD3WD Publications

CLOSE THIS BOOKMaking Fastening Joints - Course: Basic skills and knowledge of electrical engineering. Trainees' handbook of lessons (Institut für Berufliche Entwicklung, 15 p.)
3. Making Detachable Electrical Joints (Connectors)
VIEW THE DOCUMENT(introduction...)
VIEW THE DOCUMENT3.1. Direct Connection
VIEW THE DOCUMENT3.2. Indirect Connection
VIEW THE DOCUMENT3.3. Plug-type Joints (Plug-and-socket Connectors)

Making Fastening Joints - Course: Basic skills and knowledge of electrical engineering. Trainees' handbook of lessons (Institut für Berufliche Entwicklung, 15 p.)

3. Making Detachable Electrical Joints (Connectors)

Conductive electrical joints are made by connecting (clamping) the wires to a connection element (screw connector). Depending on the material and cross section of the wire, such connection is of direct or indirect type.

With direct connection the wire is held by the screw connector without any additional means. For large cross sections indirect connection is used, i.e. cable eyes are fixed to the wire ends by soldering, pressing or clamping.

Another way of making conductive electrical joints are plug-type joints (plug-and-socket connectors).

They are mainly used to connect non-stationary electrical appliances or to connect plug-in units in devices, appliances and installations. Plug connectors permit the interchange of assemblies and devices in case of repair.

3.1. Direct Connection

Direct connection is done in two ways:

Connection of the conductor by means of a wire lug to be bent or straight-line connection. Flexible conductors must be tin-coated before they are connected.

Connection of wire lugs

The following rules for connection are to be observed:

- A maximum of two aluminium conductors differing in up to two cross-sectional steps can be connected.

- A maximum of three copper conductors differing in up to two cross-sectional steps can be connected.

- Several conductors can be connected to connection bolts if a pressure piece is inserted after every two aluminium conductors or after every three copper conductors.

- A washer is to be inserted between the individual conductors.

- For connection of protective conductors or neutral conductors one conductor per connection point is admissible only.

- Each connection point is to be secured by a lock washer.

Why must no more than two aluminium conductors be connected to a connection bolt?
______________________________________________________________________________
______________________________________________________________________________
______________________________________________________________________________
______________________________________________________________________________

Sequence of operations for making wire lugs

Wire lugs are bent on copper or aluminium conductors of up to 16 mm2 cross section. For flexible copper conductors the maximum cross section is 4 mm2.

Stripping of the conductor

The stripping length of the conductor depends on the diameter of the screw joint used.

It can be calculated to:


Figure 8 - Representation of a wire lug - 1 length to be stripped, 2 lug diameter, 3 distance from beginning of lug to conductor insolation

1 = (d + 0.5) + a
1 = length to be stripped in mm
p = 3.14
d = bolt diameter in mm
a = distance from beginning of lug to conductor insulation
(d + 0.5) = lug diameter

What tools are used for stripping of conductors?
______________________________________________________________________________
______________________________________________________________________________
______________________________________________________________________________

Bending of the wire lug

The wire lug is bent by means of a round nose plier in the direction of rotation of the fastening screw.


Figure 9 - Bending of a wire lug - 1 applying the round nose plier, 2 closing the wire lug, 3 bending of the lug to the centre of the conductor

The wire end is slightly pre-bent with the round nose plier. The conical plier noses are to be applied so as to give the correct lug diameter required. The round nose plier is then to be re-applied for finish-bending of the lug, preferably in one pass.

The lug should be tested on the screw joint to be used. If the lug does not have the required diameter, the plier noses are to be applied at a point where their diameter is slightly bigger to re-bend the lug. If the required diameter is reached, the lug is bent to the centre of the conductor.

Why must the wire lug be bigger than the connection bolt?
______________________________________________________________________________
______________________________________________________________________________
______________________________________________________________________________

Sequence of operations for connecting wire lugs by means of screw connectors


Figure 10 - Construction of a screw connector - 1,2 conductor, 3,4 washer, 5 lock washer, 6 screw

Unscrewing of the fastening screw

What tool is used for unscrewing a slotted screw and a hexagon-head screw?
______________________________________________________________________________
______________________________________________________________________________
______________________________________________________________________________

Composing the screw assembly

The screw assembly is to be composed in the following order:

- lock washer
- washer
- wire lug conductor 1
- washer
- wire lug conductor 2

The lugs of the conductors are to be inserted so that the bending direction of the wire lug complies with the direction of rotation of the screw.

Tightening of the fastening screw

The complete fastening screw is screwed into the thread by hand and then tightened with the respective tool.

What is the sequence of operations for making a bolt joint with 4 aluminium conductors?
_____________________________________________________________________________
_________________________________________________________________________
_____________________________________________________________________________


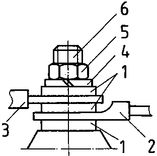
Figure 11 - Construction of a bolt joint with four aluminium conductors - 1 washer, 2 conductor, 3 lock washer, 4 nut, 5 bolt, 6 pressure piece

Straight-line connection

If lateral escaping of the conductor is limited by the screw head, bending of lugs is not necessary. The conductor is prevented from escaping by clamping saddles, distributor plates and connector blocks.

For straight-line connection attention is to be paid to the following:

- If conductors are fixed at the point of connection by means of clamping saddles, one conductor per saddle side must be connected only. The conductors may differ by one cross-sectional step.


Figure 12 - Clamping saddle connections - 1 clamping saddle

- If conductors are fixed by means of cap screw and distributor plate, one conductor per distributor plate must be connected only. The conductors must have the same cross section. The conductor(s) is (are) to be inserted so that it (they) will be drawn into the point of clamping when the screw is tightened.


Figure 13 - Connection of conductors by means of cap screw and distributor plate - 1 distributor plate, 2 washer

- If conductors are fixed by means of connector blocks, no more than two conductors, which have been soldered first, must be connected at each side.


Figure 14 - Connection by means of connector block

Sequence of operations for straight-line connection

The sequence of operation for connection by clamping saddles, distributor plates and connector blocks is the same:

Stripping of the conductor

The stripping length depends on the size of the clamped joint.

To avoid clamping of any conductor insulation, the stripping length must be approx. 1... 2 mm longer than the clamped joint.


Figure 15 - Determination of the stripping length - 1 size of the clamped joint, 2 1... 2 mm in excess

Unscrewing of the fastening screws

The fastening screws are unscrewed just as much as necessary to feed in the conductor.

Feeding in of the conductor into the clamped joint

The conductor is fed in under available washer or clamping saddles.

Why must the wire be applied at the left-hand side of a distributor plate?
______________________________________________________________________________
______________________________________________________________________________
______________________________________________________________________________
______________________________________________________________________________

Tightening of the fastening screw

The fastening screw is firmly tightened by a screwdriver suitable for the size of the screw.

3.2. Indirect Connection

Large conductor cross-sections render the bending of lugs difficult and would require big screw joints for direct connection. Therefore, the conductor ends are provided with cable eyes by soldering, pressing and squeezing.

Connection of cable eyes

For connection of cable eyes the same rules apply as for connection of lugs.

Sequence of operations for connecting cable eyes to a bolt joint

- Slackening of the fastening nut
- Composing of the bolt assembly


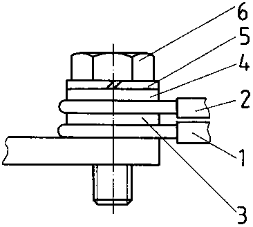
Bild 16 - Construction of a bolt joint - 1 washer, 2 cable eye, 3 lock washer, 4 nut, 5 bolt

The bolt assembly is to be composed in the following order:

- washer
- cable eye 1
- washer
- cable eye 2
- washer
- lock washer
- fastening nut

Tightening of the fastening nut

The fastening nut is screwed on by hand and then firmly tightened by a wrench.

What is the sequence of operations for connecting a protective conductor with cable eye to a screw connector?
______________________________________________________________________________
______________________________________________________________________________
______________________________________________________________________________
______________________________________________________________________________

Combined connection of cable eyes and lugs

It is possible to fasten cable eyes and lugs together to a screw connector. For connection the same rules and the same sequence of operations apply to the two types. When composing the bolt assembly, the lug is always to be put on the cable eye.


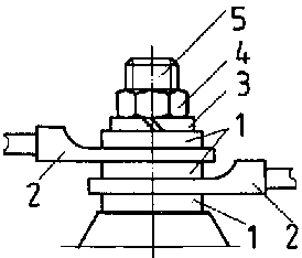
Figure 17 - Construction of a bolt joint - 1 washers, 2 cable eye, 3 wire lug, 4 lock washer, 5 nut, 6 bolt

3.3. Plug-type Joints (Plug-and-socket Connectors)

Plug-and-socket connectors consist of two components, the plug and the socket. The connections to plug-and-socket connectors (wire connection or printed circuit conductors) are made by soldering, wrapping, squeezing or clamping. Plug-and-socket connectors are used in various forms as panel connectors (flat plug connector) and circular connector as well as single-pole (tip plug) and multi-pole (multi-point) connectors.


Figure 18 - Single-pole connector - 1 flat socket (quick-connect receptacle), 2 flat plug


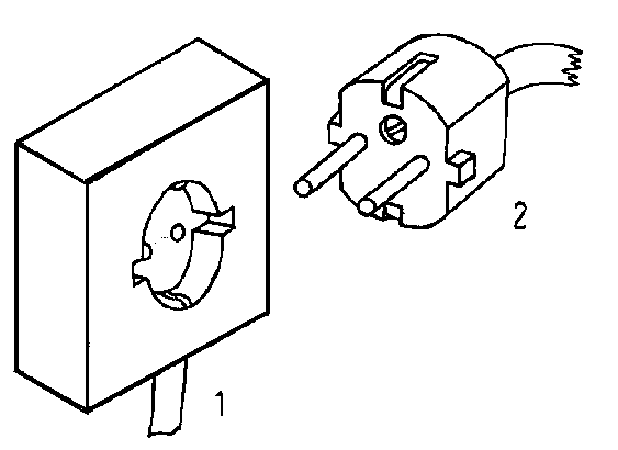
Figure 19 - Heavy-current plug-and-socket connector - 1 plug, 2 socket


Figure 20 - Multi-pole plug-and-socket connector - 1 printed circuit board, 2 multi-point connector, 3 socket board

When working with plug-and-socket connectors the following rules are to be observed:

- Do not tilt plug-and-socket connectors when connecting or disconnecting them.

- Do not disconnect plug-and-socket connectors by pulling at the cable or line.

- Plug-and-socket connectors of plug-in units or printed circuit boards are to be disconnected by means of the appertaining pulling mechanism.

- Attention is to be paid to guides for plug-in units and printed circuit boards when inserting such units/boards.

TO PREVIOUS SECTION OF BOOK