Back to Home Page of CD3WD Project or Back to list of CD3WD Publications

CLOSE THIS BOOKCircuits, Formulas and Tables Electrical Engineering - Basic vocational knowledge (Institut für Berufliche Entwicklung, 201 p.)
7. Measurement Circuits
VIEW THE DOCUMENT7.1. Measurement Circuits in Direct-current Installations
VIEW THE DOCUMENT7.2. Measurement Circuits in Alternating-current Installations
VIEW THE DOCUMENT7.3. Measurement Circuits in Three-phase Installations

Circuits, Formulas and Tables Electrical Engineering - Basic vocational knowledge (Institut für Berufliche Entwicklung, 201 p.)

7. Measurement Circuits

7.1. Measurement Circuits in Direct-current Installations


Voltage measurement (A)


Voltage measurement (B)

By connecting in series of a resistor (Rv), an extension of the measuring range of the voltmeter is obtained


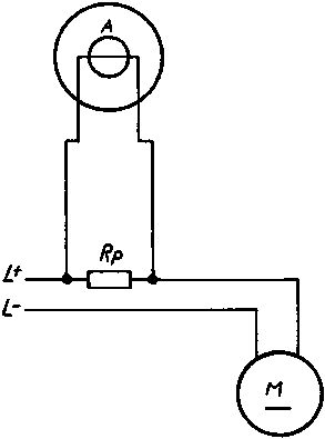
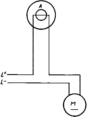
Current measurement (A)


Current measurement (B)

By connecting in parallel a shunt resistor (Rp), an extension of the measuring range of the ammeter is obtained.


Voltage and current measurement for the determination of the resistance

The current-exact connection is used when the resistance (Rx) to be determined, is very high.


Current and voltage measurement for the determination of the resistance

The voltage-exact connection is used when the resistance (Rx) to be determined is very small if the resistance Rx is calculated according to the following equation:

7.2. Measurement Circuits in Alternating-current Installations


Voltage measurement (low voltage)


Voltage measurement (high-voltage - voltmeter with voltage transformer)


Current measurement


Current measurement (amperemeter with current transformer)


Power measurement (low voltage)


Power measurement (high voltage)


electric meter connections


electric meter connections

7.3. Measurement Circuits in Three-phase Installations


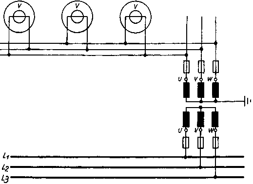
Voltage measurement


2 voltage transformers in V-connection


Current measurement


Current measurement


Power measurement

Single wattmeter method

use:

equal phase loading, accessible PEN-conductor

result:

total power = 3 × measuring result


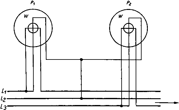
Power measurement

Two-wattmeter method

use:

unequal phase loading, non-accessible PEN-conductor;
measuring instruments of the same type have to be used

result:

total power = P1 + P2,
when P1 > P2, the total power = P1 - P2


Power measurement

Two-wattmeter method
2 movements combined into one instrument


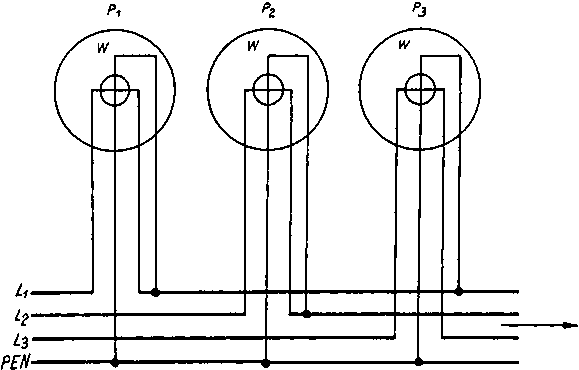
Power measurement

Three-wattmeter method

use: unequal phase loading, accessible PEN-conductor
result: total power = P1 + P2 + P3


Power measurement

Three - wattmeter method
3 movements combined into one instrument


Meter circuit (three-wire meter)


Meter circuit (four-wire meter)


Measurement of the power factor (cos j)


Measurement of the frequency (single frequency meter)


Measurement of the frequency (double frequency meter)


Measurements in a High-voltage Power Plant

TO PREVIOUS SECTION OF BOOK TO NEXT SECTION OF BOOK