Back to Home Page of CD3WD Project or Back to list of CD3WD Publications

CLOSE THIS BOOKIntroduction to Electrical Engineering - Basic vocational knowledge (Institut für Berufliche Entwicklung, 213 p.)
4. Electrical Energy
VIEW THE DOCUMENT4.1. Energy and Power
VIEW THE DOCUMENT4.2. Efficiency
VIEW THE DOCUMENT4.3. Conversion of Electrical Energy into Heat
VIEW THE DOCUMENT4.4. Conversion of Electrical Energy into Mechanical Energy
4.5. Conversion of Electrical Energy into Light
VIEW THE DOCUMENT4.5.1. Fundamentals of Illumination Engineering
VIEW THE DOCUMENT4.5.2. Light Sources
VIEW THE DOCUMENT4.5.3. Illuminating Engineering
VIEW THE DOCUMENT4.6. Conversion of Electrical Energy into Chemical Energy and Chemical Energy into Electrical Energy

Introduction to Electrical Engineering - Basic vocational knowledge (Institut für Berufliche Entwicklung, 213 p.)

4. Electrical Energy

4.1. Energy and Power

The electrical energy is used advantageously for the drive of machines, for lighting and other purposes. Here, a study is made to find out how the quantities current, voltage and resistance discussed above can be used to determine the converted electrical energy or the available electrical power. For this purpose we should remember the comparison of the electrical circuit and the circulation of water. When a pump is used to pump water from a vessel arranged at a lower level into a vessel at a higher level, energy must be expended. When the water is allowed to flow from the upper to the lower vessel, the energy expended originally, actually fed into the water, will be released. The magnitude of the energy of the water is dependent on the weight of the water and the difference between the two levels. The following holds

W = G · h

(4.1.)

where:

G

weight

h

difference in height

When comparing the weight G with the quantity of electricity Q and the height with the voltage U, we have for the electrical energy

W = Q · U

Since Q = I · t, we have for the electrical energy

W = U · I · t

(4.2.)

The energy stored in the upper water basin can flow down in different times. The energy conversion related to time is called power.

P = W/t = (U · I · t)/t
P = U · I

(4.3)

This is illustrated by an example. When I fill the upper water basin by means of a hand pump, so I can do this during a long period of time without particular effort or in a very short time exerting myself. The shorter the time, the greater the energy I have to expend or, in other words, the higher the power attained.

The unit of power is expressed as

[P] = [U] · [I]
[P] = V · A and from 1V · A = 1W follows
[P] = W

The product V · A is called watt in honour of the English physicist James Watt (1736 - 1819).

Thus, for the unit of the electrical energy we have

[W] = [U] · [I] · [t]
[W] = V · A · s
[W] = W · s

The energy unit Nm used in mechanics and the energy unit J used in heat engineering are of the same magnitude as the Ws

1 Ws = 1 Nm = 1 J

where:

W

watt

s

second

N

Newton

m

metre

J

joule

Since a watt-second is a very small energy unit and in most cases the operating times of electrical equipment amounts to many hours, the kWh (kilowatt-hour) is also used as energy unit. Thus, we have

1 kWh = 3,600,000 Ws = 3.6 MWs

With the help of Ohm’s law, the equations (4.2.) and (4.3.) can be written in the following form

W = U · I · t = I2 · R · t2 = (U2/R) · t
P = U · I = I2 · R = U2/R

In accordance with the great variety of electrical devices used in practice, the magnitude of the power input ranges from very small values to very great values. Table 4.1. shows some examples.

Table 4.1. Power Input to Selected Electrical Devices

Device

mean power input

electronic pocket computer

µW

headphone

mW

loudspeaker

5 W

incandescent lamp

60 W

ventilator

100 W

motors at machines

1 kW

motor of electric locomotive

1 MW

power station generator

100 MW

Example 4.1.

In the supply line for a soldering iron connected to 220 V, a current of 0.2 A is measured. What is the power input to the soldering iron? What is the amount of energy converted within 8 hours?

Given:

U = 220 V
I = 0.2 A
t = 8 h

To be found:

P in W
W in kWh

Solution:

P = U · I
P = 220 V · 0.2 A
P = 44 W

W = U · I · t
W = 220 V · 0.2 A · 8 h
W = 352 Wh
W = 0.352 kWh

The energy input to the soldering iron is 44 W. Within 8 hours, an energy of 0.552 kWh is converted.

Example 4.2.

An electrical hardening furnace having a resistance of 20 W requires a current input of 5 A. Calculate the electrical energy consumed within a period of 24 h.

Given:

R = 20
I = 5 A
t = 24 h

To be found:

W in kWh

Solution:

W = I2 · R · t
W = 5A · 5A · 20W · 24h
W = 12 kWh

Within 24 hours, the hardening furnace consumes 12 kWh of electrical energy.

Example 4.3.

The circuit of a washing machine with the rating-plate markings P = 2 kW and U = 220 V is to be provided with fuses. Find out whether a fuse with the rated current of 6 A will be sufficient.

Given:

P = 2 kW
U = 220 V

To be found:

I in A

Solution:

P = U · I
I = P/U
I = 2000 W/220V
I = 9.09 A

The current input to the washing machine is 9.09 A; therefore, a fuse with the rating of 6 A will not suffice. A fuse having a rated, current of 10 A must be used.

The electrical energy is calculated, according to W = U · I · t and the electrical power according to P = U · I. As unit for the energy, the Ws has been laid down, while the greater unit kWh may be used when required. The unit of power is W. The relation with other energy units is 1 Ws = 1 Nm = 1 J.

Questions and problems:

1. Derive from the relations P = U · I and W = U · I t further formulas, taking the resistance into account.

2. Gather information about the price of 1 kWh.

3. How great is the energy in Nm corresponding to one kWh?

4. Using the markings on the rating-plate of various technical devices (P and U), determine the resistance of these devices.

5. What is the current input to a washing machine connected to 220 V having a power input of 2.2 kW?

6. What is the time for which the washing machine mentioned in problem 5 has been operated when the electric meter indicates a consumption of 5 kWh?

4.2. Efficiency

A conversion of energy without loss is not possible. For example, the electrical energy fed to a motor is converted not only into mechanical energy but also in heat due to the rise in temperature of the motor. Since this heating is not desired, this portion of the fed electrical energy which is converted into heat energy is called energy loss or lost energy. The efficienca is defined as the ratio of the energy delivered by the device to the energy supplied to it.

h = We/Wi = (Pe · t)/(Pi · t) = Pe/Pi

(4.4.)

where:

h 1)

efficiency

We

effective energy (energy delivered)

W1

indicated energy (energy supplied)

Pe

effective power

Pi

indicated power

Since the delivered energy is always smaller by the lost energy than the supplied energy, the efficiency is always smaller than 1. According to equation (4.4,), the same statement applies to power. When the losses are small, the efficiency will have a high value. The developmental level of a device is substantially determined by the magnit de of the efficiency. Great efforts are made to further improve the efficiency in order to convert the supplied energy into the desired energy with losses a small as possible.

Table 4.2. shows a few typical examples of the values involved.

Table 4.2. Efficiency of Selected Technical Equipment

Equipment

mean efficiency

incandescent lamp

0.05

steam locomotive

0.2

small electric motor

0.5

large electric motor

0.85

transformer

0.95

power station generator

0.98

1) h Greek letter eta

In many cases, several devices having a certain efficiency each are connected together and then the total efficiency of the arrangement is of interest. Fig. 4.1. shows an example. The arrangement shown may be, for example, a motor generator where device A is the electric motor, which takes up Psupplied 1 as electrical power and delivers Pdelivered 1 as mechanical power. At the same time Pdelivered 1 is the drive power supplied to the generator (device B) designated as Psupplied 2. The power delivered by the generator is designated as Pdelivered 2. The motor has the efficiency h1 and the generator the efficiency h2. The total efficiency is expressed as

h = Pdel2/Psupp1


Fig. 4.1. Interaction of two technical devices

P = Pzu; P = Pab

When inverting the relation

h2 = Pdel2/Psupp2 for Psupp2 and h1 = Pdel1/Psupp1 for Psupp1, we obtain

Pdel2 = h2 · Psupp2 and

Psupp1 = Pdel1/h1

Substituted into the initial equation we obtain

h = (h2 · Psupp2 · h1)/Pdel1

Since, however, Pdel1 = Psupp2, it follows that

h = h1 · h2

(4.5)

This shows that the total efficiency is equal to the product of the individual efficiencies and, thus, always smaller than the smallest individual efficiency.

Example 4.4.

The motor of a motor generator has an efficiency of 0.8 and the generator an efficiency of 0.75. What is the total efficiency?

Given:

h1 = 0.8
h2 = 0.75

To be found:

h

Solution:

h = h1 · h2
h = 0.8 · 0.75
h = 0.6

The total efficiency is 0.6.

In any energy conversion process, losses occur. This fact is described, by the efficiency. The conversion losses should be as small as possible; this is expressed by a value of the efficiency near 1. The efficienca is always smaller than 1. The total efficiency is the product of the individual efficiencies.

Questions and problems:

1. Why calls technical progress for an increase in the efficiency?

2. Give proof of the fact that for three devices connected together the total efficiency is: = h1 · h2 · h3.

3. A motor delivers a mechanical power of 650 W. What is its efficiency when the current input is 3.5 A at a voltage of 220 V?

4. A motor generator has an input of 3 A while connected to a voltage of 220 V and delivers a voltage of 48 V to the generator. The motor has an efficiency of 0.8 and the generator of 0.78. What is the current drawn from the generator?

4.3. Conversion of Electrical Energy into Heat

The electrical energy in a resistor through which current passes (W = I2 · R · t) is converted, into heat energy. According to the law of conservation of energy, the consumed electrical energy is equal to the generated heat energy. This correlation is also clearly described by the energy units of the international system of units SI. For the heat energy, the unit J (joule) 1) is used.

1) Joule, English physicist 1818 - 1889

The following holds

1 Ws = 1 J
1 kWh = 3.6 MJ

The formerly used unit for heat energy, cal (calorie), is no longer permitted; 1 Ws = 0.239 cal.

Since any conductor (wire) has a resistance, in every conductor through which current passes electrical energy is converted in heat energy and, consequently, the conductor is heated. This phenomenon is a disturbing factor in supply lines to electrical equipment and in windings of motors and transformers. Therefore, lines included in an electrical installation should not be subjected to high currents or any value. When the current is too high, the rise in temperature will become excessive so that the insulation may be destroyed or the line catch fire. Depending on the method of the installation of the line, the maximum permissible current intensity for a certain cross-sectional area of the conductor can be drawn from special Tables. Table 4.3. gives some information in this respect.

Table 4.3. Power Bating of Moisture-proof Cables

Cross-sectional area of 2 conductor in mm2

1.5

2.5

4

6

maximum continuous current in A


copper

20

27

36

47


aluminium

-

21

29

37

rated safety current in A


copper

20

25

35

50


aluminium

-

20

25

35

voltage drop per 100 m of distance in V


copper

47.6

38.5

32.2

28


aluminium

-

47.3

41

34.8

For example, a multi-core moisture-proof cable of copper whose individual conductors have a cross-sectional area of 1.5 mm2 may be loaded with a current of up to 20 A. Considerable voltage drops occur which are dependent on the length of the conductor and which may be so detrimental that in many cases the choice of a greater cross-sectional area is necessary. For the above line, a length between feed point and consumer of 100 m would cause the extremely high voltage drop of 47.6 V when loaded with the maximum permanent current.

Example 4.5.

A load having a current input of 15 A is to be connected to a moisture-proof cable of copper of a length of 70 m. The voltage drop should not exceed 20 V. Determine the required cross-sectional area of the line.

Given:

S = 70 m
I = 15 A
U = 20 V
rCu = 0.0178 (mm2 · W)/m

To be found:

A in mm2

Solution:

From the Table, the minimum permissible cross-sectional area of the conductor can be drawn which is A = 1.5 mm2. Check that the voltage drop in the line will not become too great.

R = (r · l)/A
A = (r · l)/R with R = U/I
A = (r · l · I)/U

For the length, twice the distance s must be used taking the outgoing line and the return line into consideration.

A = (0.0178 W · mm2 · 140 m · 15 A)/(m · 20 V)
A = 1.87 mm2

A cross-sectional area of 2.5 mm2 of the conductor must be chosen.

For windings of motors and transformators, the heat dissipation from the winding wires to the environment is worse than in installation lines. Therefore, the individual wire cross-sections should be loaded with an adequately lower current than installation lines. For this purpose, there are Tables, too, from which the required conductor cross-sectional area can be drawn and in which frequently the maximum permissible current density S is stated.

S = I/A;
[S] = A/mm2

(4.6)

where:

S

current density

I

current intensity

A

cross-sectional area of the conductor

In screwed, plugged or clamped connections high transition resistances occur due to insufficient contact pressure or dirty surfaces, these connections will be subjected to particularly high rises in temperature which may lead to the destruction of the connection or the line may catch fire.

Therefore, great care must be taken when preparing such connections and one must see that the contact resistance is kept low. All connections have to be checked at regular intervals and when an impermissible rise in temperature is observed, the cause must be removed immediately.

Besides the given examples of an undesired development of heat, in many cases the heating effect of the electrical current is ingeniously used. In order to protect lines and equipment from currents of impermissible high values, various types of safety devices are used. As to the safety fuse (Fig. 4.2.), a particularly thin wire is used inside the fuse which is heated up to the melting point when the rated current of the fuse is reached.


Fig. 4.2. Sectional view of a fuse

1 - Fusible wire
2 - Ceramic body
3 - Springy clamping plate
4 - Quartz sand filling
5 - Foot contact
6 - Head contact

As a consequence, the circuit is interrupted. The springy small identification plate is detached and thus shows that the fuse is blown. As to the bimetal safety device, a strip of two different metals on which a resistance winding is arranged, through which the current to be controlled flows, is used. In the case of heating, the bimetallic strip shown in Fig. 4.3. is bent and, consequently, the circuit is interrupted by means of a switching mechanis not shown in this illustration. The heated strip is bent because the metals used expand to different degrees when subjected to heat. When, for example, the lower metal in Fig. 4.3. will bend to a higher degree than the upper one, the strip will bend upwards.


Fig. 4.3. Bimetal safety device

1 - Bimetallic strip
2 - Contact
3 - Carrying body

In heat-generating electrical devices usually a spiral of resistance wire is embedded in a ceramic carrier body. In this way, heating cartridges of different shapes are made which are used for electrical soldering irons, boiling plates, immersion heaters and heating inserts for other heat-generating electrical appliances.

Another important use of electric heat is in the process of spot welding (Fig. 4.4.). Two electrodes of copper properly press the parts of sheet metal together. Then current is switc&ed on which heats the joint area to such an extend that the sheet metal parts are welded together. The great heat involved in an electric arc is utilised for technical purposes. Thus, in properly closed vessels a high-grade melt of a metal can be prepared (Fig. 4.5.) or arc welding can be carried out, a process which is widely used today.


Fig. 4.4. Spot welding

1 - Copper electrodes
2 - Sheet-metal parts to be welded


Fig. 4.5. Arc furnace

1 - Electrodes
2 - Melt
3 - Electric arc
4 - Melting crucible
5 - Vessel

Example 4.6.

In a thermal storage water heater, 5 1 of water (this equal to a mass m of about 5 kg) with a temperature of 20 °C is to be heated, up to the boiling point. The heating coil has a power of 1000 W. For energy conversion, an efficiency of 0.9 is assumed. The specific heat of the water c is drawn from a table. After which time will the water boil after switching on?

Given:

V = 5 l
m = 5 kg
J1 = 20 °C
J2 = 100 °C
P = 1000 W
h = 0.9
c = 4.19 kJ/(K · kg)

To be found:

t in min

Solution:

Starting point of the solution is the fact that the required heat energy must be equal to the electrical energy converted into heat which corresponds to the supplied electrical energy multiplied by the efficiency.

WQ = We1 · h

With WQ 3 m c (J2 - J1) and Wel = P · t we have
m · c (J2 - J1) = P · t · h

Now the equation is inverted with respect to the quantity to be found, namely,

t = [m · c (J2 - J1)]/(P · h)
t = [5 kg · 4.19 kJ · (100 °C - 20 °C)]/(K · kg · 1 · kW · 0.9)
t = (5 · 4.19 Ws · 80 K)/(K · 1 W · 0.9)
t = 1862 s
t = 31 min

After 31 minutes the water will boil in the thermal storage water heater.

In each resistor through which current passes, electrical energy is converted, into heat energy. The rise in temperature involved, is not desired, in all electrical installations and windings of motors and transformers. Advantage is taken of this heat in all heat-generating devices (soldering iron, boiling plate, hardening furnace, melting furnace) and in the process of electric welding. The action of safety devices frequently is based on the heating when current passes through them.

Questions and problems:

1. Describe further examples of the utilisation of the heat effect of electrical current!

2. Why are fuses or other safety devices required in circuits?

3. Describe and substantiate the consequence of excessively high contact resistances!

4. Explain the mode of action of the fuse and the bimetallic safety device!

5. Calculate the voltage drop in a 50 m long lead of copper cores having a cross-sectional area of 1.5 mm2 to a load with a current input of 15 A!

6. By means of an immersion heater of 1000 W, 51 of water are heated from an initial temperature of 20 °C. What is the temperature of the water after 15 min when an efficiency of 0.9 is assumed for the energy conversion?

4.4. Conversion of Electrical Energy into Mechanical Energy

The conversion of electrical energy into mechanical energy is a frequent utilisation of electrical energy. Thus, electric motors are used for moving air in air-conditioning plants, in water pumps, for the drive of machines and vehicles, and many other electrical equipment. The fact that electrical energy is easily convertible into mechanical energy and the possibility of adapting the motor to be used to the given technical task have led to the preferred use of electric motors in practice. In most cases, electric motors are considerably cheaper and require less maintenance than engines. For the various applications, types of electromotors are available which are optimally adapted to the purpose.

Let us consider at first a few important physical quantities of rotary motion. The shaft of a motor rotates at a certain rotational speed n which is usually measured in revolutions per minute (rpm). Fig. 4.6. shows a belt drive. The smaller belt pulley is mounted on the shaft of the motor and the larger pulley on the machine to be driven. The V-belt transmits the force from the motor to the machine. The force transmitted by the V-belt is an essential quantity for computation. The force multiplied by the radius r is called torque M.


Fig. 4.6. Belt drive

M = F · r
[M] = N · m

(4.7.)

where:

M

torque

F

force

r

radius

The sketch shows that the torque acting at the belt pulley with the radius r1 is smaller than the torque at the belt pulley with the larger radius r2. For the rotational speeds of the belt pulleys the relation

n1: n2 = r2: r1 holds.

(4.8.)

where:

n

speed of rotation

r

radius

The mechanical power delivered by the motor is expressed by the following formula:

P = 2 · p 1) M · n
[P] = Nm/s = W

(4.9)

1) p Greek letter pi

where

P

power

M

torque

n

speed of rotation

Example 4.7.

On the belt pulley of a motor having a radius of 50 mm, a force of 20 N is acting. The rotational speed is 1000 rpm. What is the power delivered by the motor?

Given:

r = 50 mm
F = 20 N
n = 1000 rpm

To be found:

P in W

Solution:

P = 2 · M · n
P = 2 · F · r · n
P = 2 · 3.14 · 20 N · 50 mm · 1000 rpm
P = 2 · 3.14 · 20 N · 0.05 m · 1000/60 · 1/s
P = 105 W

The power delivered by the motor is 105 W.

An important item for judging the performance of a motor is the dependence of the rotational speed on the torque (and thus on the load) and the current path at the instant of switching on. The dependence of the efficiency on the torque should also be taken into consideration for an appropriate use. In Fig. 4.7. these dependences are represented for a three-phase squirrel-cage induction motor. This motor, which is the most widely used type, is shown in Fig. 4.8. The characteristics show that the rotational speed is reduced only slightly under load. This property is desired in many drives. When, however, the stalling torque - also known as pull-out torque - Mk is reached, which is above the rated torque Mn, the motor will stall suddenly.


Fig. 4.7. Characteristics of the three-phase asynchronous motor


Fig. 4.8. Three-phase squirrel cage induction motor

At the instant of switching on, only the starting torque Mq is available which is frequently insufficient for heavy drives to cause the motor to start up. Additional measures are then required in order to allow the motor to start up without load at first. This motor is not suited as a drive motor for vehicles because it cannot produced the required starting moment. The efficiency h increases with increasing load. In order to operate the motor with as high an efficiency as possible, a load with the rated moment should be effected. Therefore, the motor power for drives should be chosen according to the required power. It should be noted that at the instant of switching on the input of current Ian is several times higher than for rated operation In. The fuses in series with the motor must comply with these conditions. Frequently switching on and off is unfavorable except for special motors.

As a drive motor for vehicles, the series-wound motor is particularly suitable. The dependence of the rotational speed on the torque is shown in Fig. 4.9. It is evident that the motor produces a very high torque at a low rotational speed; this is conducive to the starting of electric vehicles.


Fig. 4.9. Characteristic of the series motor

If, for example, a squirrel-cage induction motor is to be used for driving a centrifugal pump which is frequently used as a water pump, a motor having a suitable power must be selected. For this purpose, first we have to know the dependence of the required torque on the rotational speed of a centrifugal pump (Fig. 4.10.). The point of intersection of the pump characteristics and the motor characteristics should coincide with the rated torque of the motor.


Fig. 4.10. Interaction of a centrifugal pump and a three-phase squirrel cage induction motor

For many drives, the electromotor is an ideal solution. Its construction is sturdy and it calls for limited maintenance only. Various designs enable an optimum adaptation to the different drive requirements in the various fields of application. The mechanical power delivered by the motor is determined by the rotational speed and the torque. Every motor has its typical characteristics from which conclusions can be drawn as to the practical use.

Questions and problems:

1. Quote some examples of devices which are operated by means of electric motors!

2. Calculate the power delivered by a motor when its belt pulley having a diameter of 100 mm rotates at a speed of 1350 rpm and a force of 50 N acts on the pulley!

3. Why is a three-phase squirrel-cage induction motor not suitable for driving electric vehicles!

4. Why is a series-wound motor not suitable for driving a drilling machine?

4.5. Conversion of Electrical Energy into Light

4.5.1. Fundamentals of Illumination Engineering

The greater part of our duties can only be performed with the help of our eyes. Adequate light is also required. The hours in the daytime alone are no longer sufficient for production; in large factory halls, the daylight is insufficient anyway. Artificial lighting is indispensable. Zest for work and labour productivity are largely depending on the quality of a lighting system. The influence of light faultlessness and quality of work is considerably. When the lighting is good, the danger of accidents is diminished. Precision work can only be performed with sufficient light.

Illumination engineering is a comprehensive special field. Here, the most essential fundamentals will be explained which are indispensable for understanding technical data of light sources and a few principles of lighting. Light in the physical sense is a form of energy of matter. In the sense of illumination engineering, the exact amount of energy is less interesting than the brightness perceived by our eyes. Below, all statements are related to perception or sensation - the physical quantities are provided, with an index in the form o a v 1).

1) v: visual - relating to vision

The known white daylight consists of many light colours, the light spectrum which becomes visible in a rainbow or prismatic ground, glasses. The following spectral colours are included: violet, blue, green, yellow, orange, red. The uniform mixture of these colours produces the sensation of white light in the eyes - without optical means, the individual constituents of light cannot be discerned. In the form of energy radiation, which is not perceivable by our eyes, the ultraviolet radiation is adjacent to violet and the heat radiation (infrared) adjacent to red. Since all light colours are contained in daylight, we speak of a continuous spectrum. The artificial light sources produced by man do not emit the individual spectral colours in the same composition as in the daylight and sometimes a few spectral colours are even missing.

We perceive an object as coloured only because it reflects of the colours present in the spectrum only that part which corresponds to its colour and absorbs all of the other spectral colours. From this also follows that the object can only look red when red is contained in the light. In contrast to daylight, some of the artificial sources of light have a smaller proportion of red in their spectrum and that is why the red object illuminated by such light will not appear as red but grey to black. Therefore, the colour endition is an important factor in the evaluation of light sources.

The most important quantity to be measured of light is the luminous flux fV. It comprises the whole light power radiated from a light source to all directions of space. Judged by the perception by our eyes, this light power is measured in lm (lumen). This light power radiated by a lamp and stated in 1m should not be confused with the electrical power (stated in W) taken up by the lamp. On the other hand, the ratio of the emitted light power to the electrical power consumed - the luminous efficiency - is of particular interest; though it physically corresponds to the efficiency, it is here stated in terms of lm/W; this unit is used because the sense-organ eye takes part in the evaluation.

h = fV/Pel
[h] = lm/W

(4.10.)

where

h

luminous efficiency

fV

light flux

Pel

electrical power

The development of light sources is oriented toward an increase in the luminous efficiency. When the first incandescent lamps only offered about 2 lm/W, sodium-vapour high-pressure lamps attain about 100 lm/W today.

For the evaluation of the brightness, the illumination intensity E is used as an approximate quantity. It indicates the part of the luminous flux incident on a certain area and is measured in lux (lx).

E = fV/A
[E] = lx
1 lx = 1 lm/m2

(4.11.)

where

E

illumination intensity

fV

light flux

A

Area

The following examples will enable an imagination of the magnitudes involved;

full moon

0.1 lx

working room

500 lx

midday sunlight

100,000 lx

Within this huge range of illumination intensity, the human eye enables optical sensation. Depending on the problem of vision, certain values of illumination intensity are required which are laid down in the relevant legal regulations. As an example. Table 4.4. is given. In order to attain optimum conditions for the solution of the problem of vision and to ensure the necessary expenditure of energy for the illumination involved, great care must be taken for the determination of the required, illumination intensity.

Table 4.4. Values of Intensities of Illumination for Various Tasks

Demands of work on illumination

mean intensity of illumination in lx

extraordinarily fine work

1500

to

5000

very fine work

500

to

1500

tine work

200

to

500

medium-fine work

100

to

200

rough work

100



very rough work

50



4.5.2. Light Sources

The triumphant advance of electrical light sources began with the first carbon-filament lamp made by Edison in 1879. Today, a great variety of lamps with different properties is available for the most diversified fields of application. Table 4.5. gives a selection including some important technical data.

Table 4.5. Important Technical Data of Electrical Sources of Light

Light source

Power steps in W manufactured

Luminous efficiency in lm/W

Service life in hours of operation

incandescent lamp

25 to 1,000

10 to 15

1,000

halogen incandescent lamp

10 to 5,000

16.7 to 22

25 to 2,000

fluorescent lamp

8 to 65

30 to 55

4,000 to 10,000

mercury-vapour high-pressure lamp

50 to 1,000

32 to 54

5,000 to 12,000

sodium-vapour high-pressure lamp

175 to 400

70 to 100

8,000

halogen metal-vapour lamp

175 to 2,000

62 to 87

1,000 to 6,000

The incandescent lamp is the oldest source of light which is still in frequent use today. Fig. 4.11. shows the basic design of this lamp. The lamp cap for general-purpose incandescent lamps is provided with an Edison screw having a diameter of 27 mm or 14 mm (designation of the cap: E27 or E14). In addition, there is a great variety of other cap shapes and diameters for quite different applications. Likewise, the glass bulb is made in many shapes. The glass may be clear, frosted, opal (white enemelled) or coloured; ornamental glass is also used.


Fig. 4.11. Design of an incandescent lamp

1 - Contact
2 - Insulating body
3 - Cap with Edison thread
4 - Glass bulb
5 - Pump tube end
6 - Electrode
7 - Supporting wire
8 - Glow wire (filament)

A disadvantage of incandescent lamps is the low luminous efficiency. About 95 % of the input of electrical power are delivered in the form of heat energy; and this is also associated with problems of heat dissipation in lighting fittings. The short service life does not meet our wishes. It is due to the fact that the incandescent filament is reduced to powder (evaporates) at its surface to some extent. Due to the deposition of the filament material, the glass bulb is blackened. Slight differences in the cross-section of the incandescent filament due to manufacture lead to an increase in the resistance at points of reduced cross-section and thus to a local increase in temperature which, in turn, causes a more intensive evaporation and further reduction of the cross-section until the incandescent filament is destroyed at this point. Fig. 4.12. shows the remarkable dependence of light flux and service life on the mains voltage.

Since operation of an incandescent lamp does not call for ballasts and ingnition devices, the lighting fitting is of a simple design.


Fig. 4.12. Luminous flux and service life of an incandescent lamp in dependence on the operating voltage

fV = rated flux;
Un = rated voltage
t1 = service life
tn = rated service life

The colour of the light of this bulb is agreeable in the case of low illumination intensities (» 100 lx). When high illumination intensities are required (> 200 lx), incandescent lamps cannot be used. Because of these properties, the incandescent lamp is today primarily used for the illumination of sitting-rooms, restaurants, theatres and other rooms where frequent switching is necessary (staircases, service-rooms).

Since about I960, halogen lamps have been produced as a special form of incandescent lamps. In contrast to the conventional incandescent lamp, the glass bulb of halogen lamps contains a small amount of a halogen, usually bromine, in addition to the filling gas. The incandescent filament particles evaporating during lamp operation form a cycle with the halogen and are deposited on the incandescent filament again and again. Thus, blackening of the bulb is avoided. The cycle calls for a high temperature at the outer wall; that is why quartz glass bulbs have to be used in relatively small designs.

In many cases, additional cooling is required.. On no account should the glass bulb be touched with bare hands. It should always be gripped at the point of compression or a clean piece of cloth has to be used. If the glass bulb has been touched inadvertently, it must be cleaned by means of a rag soaked in spirit. For some types, a special position of burning has to be observed.

For the dependence of the service life and the light flux on the voltage, the same relations as for the conventional incandescent lamp apply. The mean service life is stated, to be anything between 20 and 2000 hours depending on the type. An advantage is the higher luminous efficiency as compared, with the conventional incandescent lamp and the good spectral composition of the light. For incorporation in optical systems, the small dimensions of incandescent filament and lamp (spot light) are of particular advantage.

Halogen incandescent lamps are used for taking photographs, as projector lamps and special motor-vehicle lamps. For an illumination of sports fields and in other floodlight installations, halogen incandescent lamps of the sizes 1000 and 5000 W are used. Illumination systems in cinematographic film and television studios and in theatres can also be equipped with halogen incandescent lamps.

Already in 1936, the fluorescent lamp was produced for the first time; today it is primarily used for interior lighting in industry and administration. Large quantities of these lamps have been used since 1950, after the incorporation in the lamps of decisive technical improvements.

The fluorescent lamp is a low-pressure gas discharge lamp. Fig. 4.13. shows the basic design. In a tube two electrodes are fused in place which have to enable the electron emission.

As filling in the tube a small amount of mercury and of argon, an inert gas, is provided under the very low pressure of a few hundred pascal (the normal air pressure is about 100,000 pascal). The interior wall of the glass tube is covered with a luminescent material. When voltage is applied and ignition effected, a gas discharge occurs. In this event, the current passage is effected by ions and electrons flowing through the gas. The discharge in the mercury vapour filling produces normally ultraviolet light which is not perceived by our eyes. The portion of argon in the filling produces only a very weak bluish light. The luminescent material in caused to light by the ultraviolet rays. Depending on the type of the luminescent material used, a visible light of different spectral composition is produced.


Fig. 4.15. Design of a fluorescent lamp

1 - Cap in
2 - Cap
3 - Electrode (filament)
4 - Glass tube
5 - Layer of luminescent material
6 - Noble gas filling and mercury vapour

Fig. 4.14. shows the complete circuit of a fluorescent lamp.


Fig. 4.14. Circuit of a fluorescent lamp

1 - Ballast
2 - Fluorescent lamp
3 - Starter with anti-interference capacitor

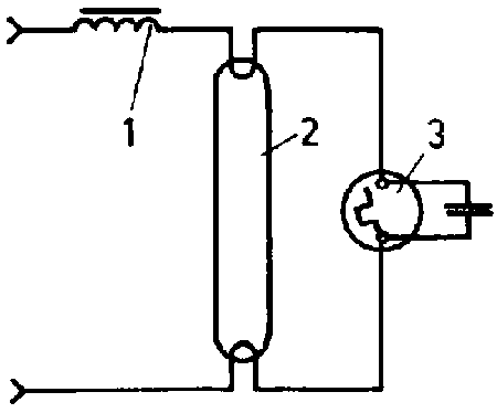
For operation, a ballast and a starter are required. When connecting the circuit to 220 V a.c., no current will flow through the fluorescent lamp at first. Almost the full mains voltage is applied via the ballast to the starter in which a glow discharge is developing. At the same time, the bimetallic strip in the starter is heated closing the circuit via ballast, heating spiral, starter, heating spiral. The heating spirals start glowing. At the same time, the bimetallic strip is cooling down, opening the circuit. The high voltage peak now generated, by the ballast of more than 400 V leads to the ignition of the discharge in the fluorescent lamp. Due to the voltage drop across the ballast, a burning voltage of 50 V to 110 V remains at the fluorescent lamp depending on the length of the lamp while, with this voltage, a glow discharge cannot be repeated in the starter. The ignition process may occur several times in exceptional cases. For a reliable ignition and a long service life of the fluorescent lamp it is absolutely necessary to use only such ballasts and starters which are appropriate for the type of lamp.

Frequently, a capacitor for power-factor compensation is added according to Fig. 4.15. whose function and mode of operation will be discussed in Chapter 7.


Fig. 4.15. Circuit of a fluorescent lamp with capacitor for power-factor compensation

In fluorescent lamps the luminous flux is largely depending on the operating voltage, as is shown in Fig. 4.16. The dependence of the luminous flux on the ambient temperature must also be taken into consideration; at high outdoor temperatures, a good ventilation of the lighting fittings is required in this event (Fig. 4.17.).


Fig. 4.16. Dependence of the luminour flux on the mains voltage for fluorescent lamps

fn = rated flux
Un = rated voltage


Fig. 4.17. Dependence of the luminous flux on the ambient temperature for fluorescent lamps

fn = rated flux

Fluorescent lamps are made for a power input of 8 to 65 W. For room illumination, especially the power steps 40 and 65 w are used. For sitting-room lighting and direct place illumination, the lower power steps may be used. Primarily fluorescent lamps in rod form are on offer. For decorative and sitting-room lighting, lamps in U-shape and circular shape are included in the offer.

An advantage of the fluorescent lamp in case of rooms of small height is the large light-emitting surface. Even in case of direct sight, no or insignificant dazzling will occur. Different light colours can be achieved by various compositions of luminescent materials. The light colour “daylight white” most closely resembles the daylight but it is felt to be agreeable only in case of very high illumination intensities (> 1000 lx). For working place lighting, the light colour “natural white” is an agreeable colour because of its good colour rendition properties between 200 lx and 1000 lx. In the event of high demands on colour endition, the brilliant light of the light colour “natural white de luxe” should be used; its disadvantage, however, is a lower luminous efficienca. For low values of brightness, the light colour “warm white” has been developed, and in the event of fastidious demands “warm white de luxe” should be used. In Table 4.6. light colours suitable for various tasks of illumination are given.

Table 4.6. Lamp Light Colours Suitable for Various Tasks of Illumination

Task of illumination

Suitable lamp light colour


daylight white

neutral white

neutral white de luxe

warm white

warm white de luxe

administration room


x




conference room


x

x


x

lecture room


x




restaurants, hotels


x

x


x

butcher’s shop



x


x

dwelling




x

x

industry


x




dye-house

x


x



manufacture of ready-made articles of dress

x

x

x



drawing office


x




medical facilities






For special purposes, the light colours “Lumoflor”, “blue”, “green” and “red” are on offer.

For outdoor lighting and for the illumination of high working rooms, small light sources with a high luminous flux (point sources of light) are required. For this purpose, the mercury vapour high-pressure lamps, which have been produced since 1956, the halogen metal-vapour lamps, which have been developed only in recent years, and the sodium-vapour high-pressure lamps are used. These three types of lamps have in common that the light is produced, in a burner in a high-pressure gas discharge; the burner is provided with a further glas bulb. Ballasts are necessary. A running-in period of a few minutes is required until the full luminous efficiency is attained. After a short current interruption, the lamp will go out and can only be ignited again after a cooling time of some minutes.

Today, the mercury-vapour lamp frequently is additionally coated with luminescent material in order to obtain a better spectral composition of the light. Nevertheless, an unnatural colour rendering is invevitable. These lamps are made in power steps from about 50 W to 2000 W. Fig. 4.18. shows the circuit with ballast. The external bulb prevents the high portion of ultraviolet light to get outside. When the external bulb is damaged, the lamp remains serviceable but for man there is the danger of burns due to ultraviolet light. These lamps are primarily used for street lighting.


Fig. 4.18. Circuit of a mercury vapour high-pressure lamp

1 - Ballast
2 - Mercury vapour high-pressure lamp

The sodium-vapour high-pressure lamps, which have been made only recently, offers not only a higher luminous efficiency but also an improved spectral composition of the light and, consequently a more natural colour rendition. For operation, both a ballast and an igniting device are required (see Fig. 4.19.). The lamps are made in power steps from 175 w to 400 W; a further extension of the manufacturing programme is to be expected. Sodim-vapour high-pressure lamps are used to advantage in street lighting, illumination of large open-air facilities (ports, marshalling yards, construction sites) and in high halls without particular demands on colour rendition (foundries, assembling halls, storage halls). Because of their high luminous efficiency, they will replace the mercury-vapour high-pressure lamps in many fields.


Fig. 4.19. Circuit of a sodium vapour high-pressure lamp with different igniting devices

1 - Ballast
2 - Thyristor ignitor
3 - Sodium vapour high-pressure lamp
4 - Starter ignitor

A better colour rendition is provided by the halogen metal-vapour lamp though the luminous efficiency is slightly reduced. In its design it resembles the mercury-vapour high-pressure lamp but contains in the burner an additional substance, i.e. an addition of halogen. By means of various types of additives and the luminescent material used, the light colours of daylight white, neutral white or warm white can be achieved. The lamps are made in power steps from 175 w to 2000 W. For operation, an igniting device is required in addition to the ballast (also see Fig. 4.19.).

The lamp is used in outdoor illumination and in high halls where demands on colour rendering are more fastidious. A few types have been specifically developed for use in colour photography studios where mixing with daylight or with the light emitted by the halogen incandescent lamp is possible.

4.5.3. Illuminating Engineering

Besides the demand on the illumination intensity specified in Section 4.5.1., a few further principles have to be taken into account for the installation of illumination systems. The difference in brightness between working field and surround is of great importance. The best visual efficiency is ensured when working field and surround have the same brightness (see Fig. 4.20.). On no account should the surround be brighter than the working field. This can be explained best when one tries to investigate the texture of a black strip of fabric on a black or on a white ground.


Fig. 4.20. Visual power in dependence on the brightness difference between working field and surround

brightness of working field/brightness of surround = smallest perceptible contrast

It is quite difficult to avoid dazzling. Direct dazzling or glare occurs when the source of light is in the line of vision. It can be avoided by an appropriate sheathing of the light source and arrangement of the latter outside of the angle of view. Fig. 4.21. shows that within an angle of 20° with respect to the line of view no light source should be arranged. Indirect glare occurs when the ray of light emitted from the source of light is reflected by an object of work into the eye. Fig. 4.22. shows how indirect glare is brough about. Remedy can be provided by an appropriate arrangement of the lighting fitting, whenever possible, objects of work should be mat (diffusedly reflecting) and not bright on the surface in order to avoid high lights. In the case of objects of work having an intensely directed reflection, mainly diffuse light should be used for work.


Fig. 4.21. Avoiding direct glare

1 - Eye
2 - Direction of sight
3 - Source of light


Fig. 4.22. Origin of an indirect glare

1 - Source of light
2 - Reflecting object of work
3 - Eye

Light which is incident on the object of work when being emitted in a directed manner from the source of light is called direct light. When, however, the light of the source is directed to large large diffusing screens or to the ceiling of the room and then to the working place, we speak of indirect or diffuse light (see Fig. 4.25.). For most of the problems of vision, a correct mixture of direct and indirect light should be provided. Spatial sensation is dependent on the formation of shadow and, thus, on a portion of direct light. Cast shadows which impair the perceptibility of objects are due to intense direct light.

Fig. 4.23. Origin of primarily


a) direct light,

1 - Lighting fitting with screen impervious to light
2 - Directed light


b) indirect light

3 - Opaque fillet
4 - Source of light

The angle of light incidence is also of importance to an avoidance of fatigue in work. One should take care that daylight and artificial light have the same angle of incidence to avoid double shadows. The illumination intensity should take the same course inside a room; this can be ensured by suspending the lighting fittings asymmetrically and closer by the windows.

Well-being and efficiency of man largely depend on type and intensity of light. Good illumination leads to an increase in labour productivity, reduction of rejects and of the number of accidents at work. When daylight is missing or insufficient, illumination with artificial light is necessary. The light sources used differ with respect to luminous efficiency, spectral composition of the light, size and service life. There are types of light sources which have to be operated by means of special ballast and to be ignited by means of ignition devices. High-pressure discharge lamps reach their full brightness only after a few minutes and, after an interruption of voltage, require a few minutes rest until repeated ignition will be possible.

All light sources and their properties are largely dependent on the mains voltage. For indoor lighting, the fluorescent lamp is widely used today, for high rooms and outdoor facilities the high-pressure discharge lamps which, as point light sources, require only small lighting fitting dimensions though the luminous flux is high. The light colours should be adapted to the illumination intensity involved and to the desired colour perceptibility.

The lighting installation must be designed in such a way that glare is avoided, the problem of vision, can be solved without fatigue, sufficient shade without cast shadow is available and an appropriate light distribution in the space under consideration is attained.

Questions

1. Which factors of production are influenced by illumination?

2. What are the factors on which the different colour rendition in case of different light sources is dependent?

3. Why is the luminous efficiency an important factor in the evaluation of light sources?

4. What are the properties and fields of application of the various light sources?

5. Why is the fluorescent lamp particularly suitable for rooms of small height?

6. For which tasks of illumination are fluorescent lamps of different light colours used?

7. By means of which measures can direct and indirect glare be avoided?

8. Why should the working field be not darker than the surround?

4.6. Conversion of Electrical Energy into Chemical Energy and Chemical Energy into Electrical Energy

For many electrically operated devices it is desired to operate them independently of a central power supply system. For this purpose, small and light-weight electrical energy sources (batteries) are required. Batteries which can be recharged after discharge are called, primary elements. Batteries which can be recharged, several times after discharge are called secondary elements. Below, primary elements are discussed first.

The Italian physicist Galvani (1757 - 1798) was the first to find that a primary electromotive force is produced between two different metals or between metal and carbon in an electrolyte (aqueous solution of an acid, a lye or a salt). The magnitude of the voltage and the polarity are dependent on the metals used. The Italian physicist Volta (1745 - 1827) arranged the individual metals in an electromotive series, named after him, in such a way that magnitude and polarity of the primary electromotive force can be determined. The greater the distance between two elements in the electromotive series, the greater the primary electromotive force that will be brought about.

Of particular importance to engineering is the carbon-zinc element with a primary electromotive force of 1.5 V with carbon forming the positive pole and zinc the negative pole. It is offered in different shapes and sizes and serves for the supply of portable wireless sets, torch lamps, pocket calculators, and many other devices. Fig. 4.24. shows the most frequently used designs; their technical data are given in Table 4.7. The inner structure of such an element (design of the Leclanché element) is shown in Fig. 4.25.

Table 4.7. Technical Data of Some Carbon-zinc Cells

Specification

Designation


R6

R14

6F22

R20

3R12

diameter in mm

14

26


34


height in mm

50.5

50


61.5


length in mm



26.5


62

width in mm



17.5


22

height in mm



48.5


67

voltage in V

1.5

1.5

9.0

1.5

4.5

medium capacity in Ah

1.0

2.6

0.38

5.8

1.6


Fig. 4.24. Frequently used primary elements


Fig. 4.25. Design of the carbon-zinc element

1 - Metal cap
2 - Sealing compound
3 - Carbon
4 - Zinc cup
5 - Electrolyte (thickened, ammonium chloride solution)
6 - Linen bag with pyrolusity and graphite filling

When current is drawn from the element, the zinc sheath is disintegrated. The chemical energy liberated in this way is the equivalent of the produced electrical energy. It is disadvantageous that a disintegration of the zinc also takes place during storage although no current is drawn. The service life of such elements therefore is only about 6 months. Another disadvantage is the risk of leakage of the thickened ammonium chloride solution when the disintegration of the zinc sheath begins. As ammonium chloride solution is chemically aggressive, devices and equipment in which such elements are incorporated can be damaged. For sensitive device, the expensive tightly enclosed elements are made. In this case, a carefully sealed steel-sheet coat is the enclosure of the element proper; in this way, leakage is effectively prevented.

An improved design is the alkali-manganese cell which can deliver a considerably higher quantity of energy with the same dimensions as the above element. Because of the higher price, which is due to manufacture, it was not yet in a position to supersede the above described Leclanché element. For practical use it is advisable to use in a device always batteries of the same manufacturer and of the same type designation and to replace the batteries in the device when they are in the same state of discharge. At the end of discharge, the voltage drops to about 0.9 V per cell. Recharging is not possible. Consumed batteries must be removed immediately from the device.

In contrast to primary elements, secondary elements show the advantage that they can be reacharged after discharge. It is disadvantage that the quantity of energy that can be stored is smaller in an element of the same size as the primary element. In practice, two designs of the secondary element have gained particular importance, namely, the lead accumulator and the nickel-iron or nickel-cadmium accumulator.

In a lead accumulator, there are lead plates as electrodes and sulphuric acid as electrolyte. In accordance with the various applications, the lead plates - consisting of a frame and pressed-in lead powder - are made in different shapes. Because of this plate construction, lead accumulators are sensitive to vibrations. Lead powder dissolved out of the plates is deposited under the plates as lead sludge in the course of time. When the accumulator is overloaded, a formation of large amounts of lead sludge will occur. When the lead sludge can touch the lower edge of the lead plates, self-discharge will occur and the accumulator become useless.

In the charging process, lead oxide is formed at the positive plate and lead at the negative plate. Due to discharge, the two plates are converted into lead sulphate. This shows that the sulphuric acid takes directly part in the process of conversion of chemical energy into electrical energy. Since during the process of charging the concentration of the sulpheric acid increases, the state of charge can be determined by measuring the acid density by means of a hydrometer. There are specifically made hydrometers where the state of charge can be read directly.

The voltage of each cell shows during charging and discharging a typical behaviour (Fig. 4.26.). When charging, the voltage will at first rapidly rise from 2.0 V to about 2.15 V, and another rapid increase in voltage will only take place a short time before the end of the charging process, namely, to 2.7 V per cell. If, after this voltage rise, the process of charging is continued, a further chemical change cannot take place in the plates. The supplied electrical energy will cause a decomposition of the electrolyte and, consequently, an intense evolution of gas.


Fig. 4.26. - Course of charging and discharging voltage at the lead accumulator

1 - Charging
2 - Discharging

The gas produced is highly explosive (oxyhydrogen). Therefore, in accumulatorrooms any use of open fire or smoking is strictly forbidden. Overcharging should be avoided in any case. The rise of the cell voltage to 2.7 V is used in automatic charging equipment for switching off the charging process. In discharging, the mean cell voltage first drops to about 1.95 V and then it again rapidly drops near the end of discharging. A discharging voltage should not fall short of 1.8 V per cell. Depending on the magnitude of the discharging current, this voltage will be reached after different periods of discharging.

The product of discharging time times discharging current is termed as capacity of the accumulator in ampere-hours. A certain discharging time is always used. The capacity can be used for classifying accumulators and it is stated in Ah (ampere-hours).

The internal resistance of lead accumulators is low. A high current can, therefore, be draw for a short time (e.g. starter battery in a motor-car); it should be noted, however, that any short circuit must be avoided in any case because of the extremely high short-circuit current.

The lead accumulator is used as starter battery in motor-cars, for emergency current supply in plants which have to be serviceable even when the mains voltage fails (e.g. telephone exchanges, emergence lighting) and, in special designs, it is used for power supply to portable electronic devices.

In maintaining accumulators care should be taken to see to it that the gas escape valves are clean so that the gas evolved in charging and discharging can escape. The poles must be kept clean and protected by means of a special grease. The plates must always be covered by electrolyte; for topping up only distilled water (no sulphuric acid) has to be used. An excessive discharge must be avoided.

The plates of the nickel-iron accumulator consist of nickel hydroxide and iron hydroxide, aqueous solution of potassium hydroxide or caustic potash is used as electrolyte. In contrast to lead accumulators, the density of the electrolyte does not change in charging and discharging. A measurement of the state of charge by means of a hydrometer is not possible therefore.

The voltage behaviour during charging and discharging o£ the nickel-iron accumulator is shown in Fig. 4.27. Since no distinct voltage rise takes place at the end of the charging process, the state of charge cannot be determined, on the basis of the charging voltage. During discharge, the cell voltage first rapidly drops from 1.4 V to 1.25 V and only at the end of the possible discharge again rapidly drops to 1.1 V. The state of charge can therefore be conveniently derived from the discharging curve.

The mean cell voltage of the nickel-iron accumulator is for about 0.5 V lower than that of the lead accumulator while the internal resistance is higher. The nickel-iron accumulator requires less maintenance, it has a longer service life and a lower weight. For some applications, the higher internal resistance and the lower cell voltage are disturbing factors.


Fig. 4.27. Course of charging and discharging voltage at the nickel-iron accumulator

1 - Charging
2 - Discharging

The nickel-cadmium accumulator has gained great importance to electronic devices. It can be made gas-tight and thus be installed in pieces of equipment in any desired mounting position. The service life is stated to be about 5 years or about 5000 charging cycles. The charging specifications must be strictly observed. In contrast to nickel-cadmium accumulators, carbon-zinc accumulators have the three-fold to ten-fold energy content so that the accumulator of the former type must be charged at least three times during the same operating time and when of the same size as the latter. Nevertheless, the use of the gas-tight nickel-cadmium accumulator is of advantage to frequently employed electronic devices even after a short time of operation.

For the supply of power to mains-independent devices and equipment, primary elements and secondary elements can be employed. Primary elements are useless after discharge while secondary elements can be recharged after discharge. In primary elements, the carbon-zinc element is primarily used. It has a cell voltage of 1.5 V. Manufacture is in a great variety of shapes and sizes; the battery voltage ranges from 1.5 V to 9 V depending on the number of cells connected in series, in exceptional cases the battery voltage may be even higher.

Lead accumulators are mainly used for large current consumers. Careful maintenance will considerably increase the service life. Due to the low internal resistance, high currents can be drawn for short periods. When a long service life and limited maintenance are required, the nickel-iron accumulator is employed. In portable electronic devices, the gas-tight nickel-cadmium accumulator is used which is on offer with capacities from about 10 mAh (button cell) to 1 Ah and it does require practically no maintenance.

Questions and problems

1. What is the difference between primary elements and secondary elements?
2. What are the mean cell voltages of the described voltage sources?
3. How can the state of charge be measured at the lead accumulator?
4. Quote examples of application and designs of electrochemical sources of voltage!

TO PREVIOUS SECTION OF BOOK TO NEXT SECTION OF BOOK