Back to Home Page of CD3WD Project or Back to list of CD3WD Publications

CLOSE THIS BOOKEngines for Biogas (GTZ, 1988, 133 p.)
7. Planning a biogas engine system
VIEW THE DOCUMENT7.1 The biogas engine as a module integrated into an energy system
VIEW THE DOCUMENT7.2 Economic and Operational Considerations
VIEW THE DOCUMENT7.3 Adaptation of plant, engine and driven machine
VIEW THE DOCUMENT7.4 Engine and machine, two common examples

Engines for Biogas (GTZ, 1988, 133 p.)

7. Planning a biogas engine system

7.1 The biogas engine as a module integrated into an energy system

The supply of mechanical or electric power from biogas is only feasible using a biogas engine. The installation of a biogas engine however requires an appropriate planning of the fuel production and also the consumption/operation procedures. This is a crucial exercise which can usually be-avoided when the power is purchased from an electric grid.

As an engine in general does not supply energy, but rather transforms one form of energy, here biochemical, into another form, mechanical energy, its operation requires a source of energy on one side and s consumer of the energy on the other. The coordination of the energy source (biogas production plant), the transformer (engine) and the consumer (driven machine) is therefore of utmost importance for a technically and economically satisfactory performance of the whole system.
The following parameters have an influence on the system's performance:

a) Technical Parameters

- Biogas production in the biogas plant under consideration of the plant's size, inputs and operation as well as the reliability of the gas supply system.
- Power demand of the driven equipment with regard to its anticipated fluctuation or the anticipated point of continuous operation.
- Demand of low and medium temperature heat from engine's waste heat (cogeneration).
- Daily schedule of operation with regard to biogas consumption, plant size and necessary gas storage capacity.
- Speed or speed range of the driven machine and the engine.
- Mode of control, manual or automatic.
- Local availability of engine service, spare parts, technical expertise and sufficiently competent operating personnel.
- Anticipated development of energy supply and demand in the future.

b) Economic Parameters

- Price of biogas plant cum ancillaries.
- Price of engine cum modification.
- Price of driven machine and energy distribution system (electrical wiring, water system, etc.) unless already existing.
- Operational cost of biogas system, i.e plant, engine and driven machine.
- Cost of the system's service and maintenance.
- Capital costs (interest rates, pay back periods, etc.).
- Expected revenue from provision of selling energy or services, including the use of the engine's waste heat.
- Savings by the omission of cost for other fuels or forms of energy.
- Anticipated development of economic parameters (inflation, laws, regulations, fuel taxes, etc.).

c) Alternative Possibilities of Power Supply

- Electric motors under consideration of availability, reliability and price of electricity from another (e.g. public) supplier.
- Small hydropower in favorable areas for direct drive of machines or generation of electricity.
- Wind power in favorable areas under consideration of the schedule of power demand and the wind regime.
- Diesel, petrol, alcohol or LPG as engine fuels under consideration of availability, price and given infrastructure for a reliable supply.

To summarize, a biogas engine is only one module in a system and can only perform to satisfaction when all other components are well integrated. Furthermore the economic and boundary conditions, realistically assessed, have to be more favorable than for alternative solutions. Last but not least the actual situation sur place, the availability of technical equipment and expertise or other constraints can significantly influence the choice of the system and the planning process as a whole.

7.2 Economic and Operational Considerations

There are different basic situations out of which the use of biogas for the generation of mechanical or electric energy may be considered.

a) Biogas availability or potential

- A biogas plant already exists and the gas yield is larger than what is already consumed in other equipment or the yield could be increased.
- Organic matter is available and otherwise wasted; the boundary conditions allow for anaerobic digestion.
- Environmental laws enforce anaerobic treatment of organic waste from municipalities, food industries, distilleries, etc.

b) Demand for mechanical power

- Other fuels are practically not available.
- Other sources of energy or fuels are more expensive or their
supply is unreliable.
- Having a fuel at one's own disposal is of specific advantage.

c) Possible revenue through selling mechanical power, electric power or related services to other customers (e.g. the public electricity supply company).

In all cases it is essential to combine the modes of the generation of the fuel and its consumption. While the biogas is produced in a continuous mode, the demand for power, hence fuel, is often discontinuous. Biogas, unlike liquid fuels, can be stored in larger quantities either in a compressed form requiring special efforts or in large, low pressure storage tanks. However, both ways are costly. This provides an incentive to avoid extensive storage through a well balanced production and consumption of biogas.

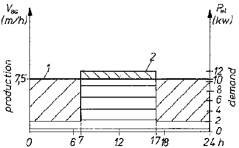
One way of equalizing the demand profile (Fig. 7.1) is the continuous operation of the engine, hence continuous fuel consumption. Instead of operating a powerful machine and engine for a short period per day the same service can often be obtained by a smaller system operating for a longer period. A similar effect is reached by the operation of different equipment in a sequence rather than at one time, e.g. water is pumped overnight while grains are milled during the day. The smaller system not only requires lower investment itself, but it also requires smaller or no gas storage capacities. The planning of the operational schedule of the equipment has a considerable effect on the economics and feasibility of biogas engine projects.


Fig. 7.1: Fuel and power production vs. consumption/demand profile. 1 typical example for operation of machines during the day and little lighting at night, 2 demand balanced and adapted to biogas production.

In cases where biogas is used for electricity generation, the mode of operation, i.e. in an isolated grid or in parallel to an existing larger grid (e.g. public utility), further influences the power demand situation and the choice of the gen-set's power class.
The principal different solutions are discussed further below.

7.2.1 The Specific Situation of Electricity Generation in Grid Parallel Operation

Above all, the economic viability of supplying electricity or mechanical energy to a place which has access to electricity needs to be thoroughly assessed. The mere demand for mechanical power could easily be satisfied by an electric motor which is usually less than half as expensive as an engine and needs far less efforts regarding operation, service and maintenance. The economic justification of the investment for the installation of a biogas-driven gen-set in this situation can only be based on high costs for the purchased electric energy or from severe operational problems through poor reliability of the public electricity supply.
A high degree of utilization of the biogas energy, i.e. power (approx. 30 %) and waste heat (approx. 5070), is often required to achieve the necessary return. Other justifications than economic ones tend to lose actuality, especially when the simple return to another supply system can make life easier.

The aspect of convenience of receiving power from a grid instead of operating, servicing and maintaining a gas engine cum biogas plant should not be underestimated. Even with smaller problems in the biogas engine systems it appears to be a quick and easy solution to revert to drawing power from the grid instead of trying to tackle the system’s problems. The operation of a biogas engine always requires more competent and committed personnel who could be dispensed with when power is purchased from outside. The availability of competent manpower can be crucial for the success of a biogas engine project.

Needless to say, the reliability of one's own biogas engine system is vital, especially when the agreement with the utility stipulates penalty-like conditions for drawing electricity from the public grid.

Operation of a gen-set in grid parallel operation requires specific technical equipment, such as a synchronization unit, safety switch gear for power failures from either side and a sensitive speed control system to secure operation at the grid-synchronous frequency (speed). The extra equipment involves corresponding investment. The connection of a gen-set to an outside grid can only be done in cooperation with the owner or administration of this grid.

While the technical problems can thus be solved, the operation turns out to be more sensitive. The conditions for receiving electricity from the grid are usually different from the ones for supplying electricity to the grid. Public utilities sometimes pay a low price for electricity they buy from small producers while they charge a high price when the same client needs to draw electricity from-the public grid.

As long as the customer's own electricity production remains lower than his demand, he remains a net consumer, substituting his demand as far as the biogas production and the power class of the gen-set allow. The price for the remaining electricity still purchased from the grid may well be the standard consumer price. If the utility does not agree to grid parallel operation, one can decide to make some of one's own power consumers detachable with a changeover switch and satisfy their power demand directly from the biogas gen-set in a separate isolated grid. In case of problems with the biogas gen-set this "sub-grid" can be switched back to the main grid. The economiy of this operation is based on the reduction of power costs by one's own substitution system.

Wherever one's own power production is constantly higher than one's own demand, the economy of the system is based on saving the previous power cost for one's own consumption together with the revenue from the power supplied to the grid. As a net supplier, however, one sometimes has to face specifically high power purchase prices in case one's own system is out of service. Some agreements with public utilities therefore include a certain allowable amount of purchase from the grid per month or year to cover service periods and unforeseen failures. For any purchase above the stipulated amount a penalty price may be charged by the utility.

Similar considerations count in cases where the daily biogas production and the power demand are equal. While during low demand periods power is supplied to the public grid, in peak demand periods power is purchased from it. If favorable conditions can be negotiated with the public utility, the biogas gen-set can be designed for continuous operation in accordance with the continuous biogas production rate.

7.2.2 Biogas Production Exceeds Demand for Mechanical/Electric Energy
(see Fig. 7.2)

7.2.2.1 Isolated Operation

Other potential energy users should be sought or further developed such as heating, cooking, lighting, baking, roasting, drying, etc. Their operational schedule needs to consider the engine's schedule aiming at a balanced biogas demand profile, thereby matching the production profile as far as possible. The choice of the engine's power class will be dependent on the power required by the driven equipment with the aspect of using smaller, less power-consuming equipment and engine but extending operation time.


Fig. 7.2: Daily profiles: 1 biogas/potential power production' 2 own power demand. Surplus of biogas for a) other direct utilization or b) extra power production and supply to outside parallel grid. //// excess biogas production.

7.2.2.2 Grid Parallel Operation

Excess electricity produced but not utilized directly can be supplied to the (public) network, receiving revenue or saving other fuels in the parallel operating engine/generator sets. As the operation is continuous, the choice of the engine's/generator's power class depends on the available biogas production rate. The savings and earnings from the excess electricity produced from biogas have to provide an economic incentive to invest in a larger biogas plant, engine and generator than actually needed to satisfy one's own demand. Another alternative is to simply reduce the power output of the gen-set and follow the demand profile, i.e. operate similarly to the isolated mode. At very low demand however the gen-set will operate with a low efficiency too.

7.2.3 Biogas/Power Demand Exceeds Production (see Fig. 7.3)

7.2.3.1 Isolated Operation

Further to the exploitation of all possibilities to raise biogas production the power demand which cannot be satisfied by biogas will have to be satisfied through other fuels such as diesel, petrol, LPG or alcohol. Here the dueal fuel diesel gas engine offers a specific advantage as it can operate not only at fluctuating rates of biogas but also at a comparatively high efficiency in part load operation. This makes the diesel gas engine an ideal choice for uneven power demand profiles in cases of insufficient biogas supply. The power class of the engine to be chosen depends on the demand of the largest single consumer or the sum of the consumers operating simultaneously.


Fig 7.3: Daily profiles: 1 biogas and potential power production, 2 power demand, shortage in biogas/// power production. Power shortage to be compensated by other fuels/energies in isolated operation or by purchase of electric power from grid in parallel operation.

Building a storage for unutilized biogas from low demand hours for supplementation in high demand hours is one solution and will find its economic justification in relation to the cost and availability of the supplementary fuel saved by the storage. Last but not least the power demand on the biogas engine system may be lowered by using other means to satisfy it or to refrain from its satisfaction partly.

7.2.3.2 Grid Parallel Operation

In cases where the electric supply from another grid already exists, the biogasdriven gen-set only supplements part of the demand. The project as such remains a net consumer. The power class of the engine and generator is chosen in accordance with the biogas production rate (1 m³/h - 1.5 kW mech).

The gen-set should be operated continuously to avoid storage.

7.2.4 Power Demand Partly Higher, Partly Lower than Biogas Fuel
Production

7.2.4.1 Isolated Operation

As long as the biogas produced during the low demand hours can satisfy the additional requirements in the high demand period intermediate storage is a possible solution. Wherever the excess power demand cannot be satisfied by stored biogas, additional fuel is required with the diesel gas engine offering a good solution.

Any remaining biogas can serve other useful purposes.

The engine's power class is chosen in accordance with the power required from the largest consumer or the sum of the requirements of equipment necessarily operated simultaneously.

7.2.4.2 Grid Parallel Operation

If the biogas-driven gen-set is operated in combination with diesel-driven gen-sets within a larger isolated network under a common administration the savings are directly felt in the reduction of the diesel fuel consumption of the other gen-sets. The biogas-driven gen-set's power class is chosen in accordance with the biogas production rate and is operated continuously.

In combination with a public utility the choice of operation and power class of the engine is largely a function of the contract concerning the tariffs for supply to the grid and drawing from the grid (see Chapter 7.2.1). A detachable cub-network for isolated operation of selected equipment may be an alternative as then the project remains a net consumer of electricity.


Fig 24: Daily profiles: 1 biogas and potential power production, 2 power demand; option for storage of excess biogas for periods of biogas shortage. /// excess biogas production biogas shortage

7.2.5 Investment and Operational Cost

Investment for the biogas engine system will differ from case to case, depending on what is actually required for completion of the system:

- biogas plant, gas storage,
- biogas piping and instrumentation,
- engine cum modification,
- driven machine cum transmission,
- civil works, i.e. foundations, sheds, fences, etc.,
- wiring, piping, switchgear.

Often the biogas plant already exists or is being built as a biological treatment plant for wastes, residues or other. It is therefore not part of the investment for the engine system. In other cases an engine cum driven machine is already there while a plant, its infrastructure and engine modification are needed.

The operational costs involve the manpower, service and maintenance of the system as mentioned earlier. Again, if for instance the operation of the plant is done and paid for under a different aspect, e.g. waste treatment, the "biogas fuel price" is lowered as it only needs to consider the efforts for gas preparation, e.g. piping, storage, measuring,etc. Further influence on the fuel price comes from the production rate of the biogas plant.

The establishment of a biogas fuel price (per m³ or per kWh) is useful where a biogas engine competes against differently fueled engines or electric power Whatever the actual situation, biogas
will never be a fuel absolutely "free of charge."

7.2.6 Two Critical Remarks

The evaluation of the economic parameters is subject to the individual situation in the country and region concerned. The economic analysis of the many different cases would not only be tedious but, being a subject of its own, would go beyond the framework of this publication. Even though the issues are mentioned here, some projects may require a deeper economic analysis. The use of more specialized literature on the economics of renewable energy systems [18] and of the planning, design and operation of the biogas production plants [3, 4, 5, 6] is therefore recommended.

After careful consideration of the planning parameters the solution to refrain from a biogas engine venture and to obtain the services expected from the biogas system in an alternative way may appear reasonable. The "zero" solution should not prematurely or categorically be excluded in the planning process. The more reasons for doubt about the feasibility of such a project, the greater is the possibility of eventual failure. The waste of effort and economic resources involved is a pity, all the more so when these resources are scarce. Another aspect is that the biogas technology is still new in some areas and is not approved of by everyone. A failure of a biogas engine project would only discourage further projects which might have become successful in their specific situation.

7.3 Adaptation of plant, engine and driven machine

7.3.1 Dimensioning of Biogas Plant and Gas Storage

One of the determining factors for the dimensioning of the biogas plant is the biogas production needed to satisfy the fuel demand for the production of mechanical/ electric power per day. The combining figure is the biogas consumption of an engine per unit of mechanical power produced, i.e. the specific fuel consumption. It ranges from 0.5 . . . 0.8 m³/kWh and is largely dependent on gas quality, temperature, pressure as well as the engine's own efficiency and point of operation. (For determination of the actual calorific value of the biogas see Chapter 4.2. For guidelines for the design of a biogas plant see Appendix V.)

If the anticipated mode of operation of the engine cum driven machine is continuous the biogas plant must be designed to continuously produce the amount of biogas demanded by the engine at the required power output. The daily consumption of the engine is established by

(Equ. 7.1)

The production rate of the biogas plant may need to be bigger than the calculated value for the engine if other gas consumers are operated at the same time (cooking, heating, lighting).

In the case of non-continuous operation of the engine, e.g. only several hours per day at different loads, the plant still needs to produce the required amount of biogas needed each day but at a lower production rate per hour than consumed by the engine. A storage gas holder can be filled while the engine remains idle. It is emptied while the engine is in operation and consumes more than the plant produces. The actual volume of the gas holder is a function of the plant production rate, engine consumption as well as the frequency and duration of the engine operation periods. The following example shall demonstrate the interdependence of the above-mentioned parameters:

-Anticipated machine power demand (= engine operational power output): P = 10kW
-specific fuel consumption: sfc = 0.6 m³/kWh i.e. consumption per hour: fc = 6 m³/h
-specific gas production rate:

sgp = 0.8 · m³/m³ plant · day

operational daily schedules, alternative:

a) continuously,
b) 8 hours once a day,
c) 4 hours twice a day with 8-hour standstill between each operational period.


Fig. 7.5: Daily production and demand profiles for the example. - biogas production directly consumed. /// excess biogas production for storage, \biogas drawn from store to cover for actual shortage.

Solutions:

a) The plant needs to produce a daily volume rate Vbg of

Vbg = 24 h/d · 0.6 m³/kWh ·10 kW = 144 m³/d (see Equ.7.1)

144 m³/d of biogas. Its size, i.e. digester volume Vd, can be established by

Vd=Vbg·(1/sgp) (Equ. 7.2)

The plant size is 180 m³; extra gas storage is theoretically not necessary.

b) Plant production rate per day

Vbg = 8 · 0.6 · 10 = 48 m³/d

or per hour

Vbg = 48/24 = 2 m³/h

Plant size (digester volume)

Vd = 48· 1/0.8 = 60 m³

Gas storage capacity

The gas storage capacity needs to consider the rate of production as well as the rate and the period of gas consumption. In this example gas is needed at a rate of 6 m³/h for an operational period of eight hours. The gas volume consumed per period is 6 8 =48 m³.

The production of gas was found to be V'bg = 2 m³/h which results in a volume produced of 8 2 = 16 m³ during the operational period.

The gas storage volume Vs only has to cater for the difference between the volume consumed and produced during the operational period to (in h):

Vs = (fc · to) - (Vbg · to) (Equ. 7.3)

Vs=to (fc-Vbg)

In this specific case the storage volume is

Vs =8h(6m³/h-2m³/h)=32m³.

c) Plant production rate per day

Vbg=8 · 0.6 · 10= 48m³/d = 2m³/h

Plant size (digester volume)

Vd = 48 · (1/0.8) = 60 m³

Gas storage capacity

In this case the operational time of eight hours per day has been split into two periods of four hours each. The gas storage volume

Vs = 4 h (6 m³/h-2 m³/h)= 16 m³

is only half as large as in the previous case where the machine was operated in one long period instead of two shorter ones. The digester size is not affected.

In the above example it was assumed that the standstill periods between the operational periods were equally long so that sufficient time for refilling was available. If frequency and duration of operational and standstill periods are unequally distributed the gas store will have to be suitably larger. A balance calculation with the production rate and time will be useful to ensure that the gas store is always full enough for the next operational period.

For reasons of fluctuations in the gas production and the fuel consumption a certain storage volume should however always exist.

Likewise storage tanks should always be oversized by about 10%.

Existing storage capacity within the digester (depending on type) reduces the required storage volume accordingly.

The examples show that there is an incentive to consider the effect on the gas storage volumes when planning the daily operational schedules of engine and driven machine. On the other hand it will not be very advantageous for the engine to be operated in short stop-and-go periods only as the phases of warming up and cooling down (condensation) expose an engine to more wear and tear than normal operation. A compromise has to be found between the lower investment for a smaller gas storage and the risk (cost) of a possibly shorter life span of the engine. Two periods of operation per day may serve as an orientation value whilst the actual economic situation or other boundary conditions may provide good reasons to decide differently.

7.3.2 Choice of Engine

An engine is mainly specified by its type and by its maximum (rated) power at its maximum speed (e.g. "diesel engine, 30 kW at 2000 1/min or rpm"). What this means is that it may well be operated at lower speeds and power output but not above the maximum data given. An operation at lower power and speed than the maximum will often be found more economic in terms of fuel consumption and engine life. When considering the purchase of an engine one should not confuse the maximum or rated performance as given in the technical specification of an engine with the optimum performance in economic terms. The engine's performance curves, i.e. power, torque and specific fuel consumption vs. speed, are much more useful in determining the point of operation and selecting an engine that will meet the driven machine's rquirements while it operates at a high efficiency.

The determination of the main operational parameters of an engine, i.e. range of power and speed, is largely a function of the requirements of the driven machine. The choice of engine type, however, follows the availability, the market situation (price) for fuel, spares and service and some other operational parameters like the required type of control, fuel availability, etc. The following elaborations shall explain the relevance of these parameters in more detail.

For a better distinction between the different power terms the following definitions shall be used:

Peng,r rated (maximum specified) engine power,
Peng,a actual operating engine power,
Pmach power required by driven machine,
Pgen power required by electric generator,
Pel electric power produced by electric generator.

7.3.2.1 Engine Speed

Every machine has a certain but limited speed range within which it can be operated. Within this range lies a point or narrow range of optimum operation where the specific fuel consumption is relatively low. The longer the engine is operated, the more relevant are the savings in fuel (cost) when the engine operates in or near its optimum performance.

Fig. 7.6 shows that the specific fuel consumption has a minimum value at about 80 . . . 90% of the maximum (rated) speed nr. The maximum obtainable power at this speed, i.e. 80% of the rated speed mark is again about 80% of the rated power. For reasons of fuel economy and engine life the operational speed should therefore be selected within the optimum range, e.g. 70 . . . 90% in the above example. If the speed of the driven machine is equal or near the optimum speed of the engine, direct shaft drive is possible, otherwise a V-belt transmission or gear can be used to adapt the speeds of the two machines as required.


Fig. 7.6: Typical engine performance curves showing the power, torque and specific fuel consumption as a function of the speed. 1 maximum shortterm performance, 2 allowable performance for continuous operation.

Some driven machines (pumps, generators) are available in speed versions of 1500 1/min and 3 000 1/min (or 1800/3 600 for 60 Hz).

The high speed versions require a high speed engine for direct coupling. For a similar power range high speed engines are smaller, hence cheaper to buy (Otto), but have a lower efficiency in biogas operation and a lower life expectancy.

7.3.2.2 Engine Power

When looking at the power output in selecting an engine one needs to consider the future main regime of operation:

- continuous, i.e. periods each longer than about one hour, or
- non-continuous, i.e. shorter periods.

For shorter periods the engine may be operated at its maximum power obtainable at the selected speed, i.e. about 80% of the maximum rated speed following the speed/fuel argument above. Subsequently the power required by the driven machine Pmach should not exceed 80% of the engine's rated power if specified at maximum speed:

Pmach = 0.8 · Peng,r (Equ. 7.4)

For continuous operation, which is the more usual mode, the power output needs to be lower than the maximum rated. Engine manufacturers themselves often quote two different types of power, maximum power and continuous power. For a given (or selected) speed the continuous power is usually between 10% and 20% lower than the maximum power (see Fig. 7.6) as the specific fuel consumption, which is not constant over the whole power range, has its lowest value at 80 . . . 90% of maximum power. The power demanded by the machine shall therefore equal 80 . . . 90% of the engine's maximum power at the selected speed. In other words, in continuous operation the power selected for optimum fuel economy is now reduced by two issues. One reduction is caused by selection of the optimum speed (see Equ. 7.4) and another one by operating at a lower power output than possible to improve the fuel consumption even further:

Pmach = 0.8 · 0.8 · Peng,r (Equ. 7.5)

The engine selected for a given power demand from a machine will hence have a higher maximum power output:

Peng,r = 1/(0.8 · 0.8) · Pmach = 1.56 · Pmach (Equ. 7.6)
i.e. more than 50% greater than the power at which it will later have to operate.

The type of engine, i.e. diesel or petrol, chosen for modification has a further influence on the power rating of the selected engine.

Diesel engines do not significantly lose power when operated in dual fuel mode. They therefore only need to follow the selection criteria explained above.

Diesel engines modified into Otto engines or modified petrol engines are subject to a decrease of about 20 % of their former performance after modification to a biogas engine because of a decrease in volumetric efficiency. In other words, the choice of the power class of an Otto engine needs to consider the

-lower output in continuous operation for reasons of speed and fuel economy as explained earlier, and the
- lower power output as a result of modification, i.e. reduction of volumetric efficiency.

The power rating of the still unmodified Otto engine in relation to all mentioned criteria is

Peng,r = 1/(0.8 · 0.8 · 0.8) · Pmach=1.9 ·Pmach (Equ 7.7)

i.e. almost two times the actual power demand in operation with biogas.


Fig. 7 7: Specific fuel consumption, sfc, as a function of power output at constant speed (schematic)

In case an Otto engine is expected to operate at a much lower speed than 80% of what was specified for its original power output (e.g. 1500 1/min instead of 4000 1/min), the expected power output decreases even further, almost by the same rate as the speed (see Fig. 6.1). This may explain why commercially available Otto gas engines produce only about 10 kW per lifer displaced volume at a low speed (2 000 1/min ) while a standard vehicle petrol engine produces about 30 kW per lifer at higher speeds (5 000 1/min ).

The above analysis while useful for the understanding of the influential factors for the engine selection shall however be understood as a guideline rather than an instruction to be followed too strictly. Some engines are operated within a range of speeds, not one speed only. Others are only rarely operated so that the fuel economy is a secondary aspect. When calculating the power rating for an engine to be purchased one will not often find the exactly required engine but choose a smaller or larger one. Otto engines however should not be oversized more than necessary to prevent operation at partial load with lower efficiency. Dual fuel engines do not lose much efficiency in partial load.


Fig. 7.8: Relation of rated power of engine (before modification), Peng,r and its actual power output Peng a at optimal economic conditions with biogas. Operational speed = 0.8 X max. speed. 1 diesel gas (dual fuel) engine operating short periods only, 2 as 1 but operating continuously, 3 Otto biogas engine, continuous operation.

The power considerations above have normally been considered by manufacturers of commercially available biogas engines. They can therefore be ordered specifying the actual power demand/speed of the driven machine. "Oversizing" by 10 . . . 20% is necessary when these engines are originally designed for LPG or natural gas but not specifically for biogas.

7.3.2.3 Engine Availability and Price

The above-mentioned selection criteria may be affected by considerations of the engine's price, its own availability and the availability of spares and service when necessary. A larger engine which may run more slowly and at a lower fuel consumption rate may be more expensive, also in terms of service and maintenance. A realistic anticipation of running costs (lubricant, service, manpower) and the actual operational periods is therefore necessary.

In other cases a certain engine may already be available and the question of purchasing another one does not arise at all.

7.3.2.4 Engine Control

The anticipated mode of control, i.e. whether automatic or manual, may be decisive for the engine type. Diesel gas engines can be automatically controlled using their governor while Otto engines usually need additional equipment for that purpose.

7.3.2.5 Fuel Consumption

The fuel consumption is mainly dependent on the demand of mechanical power from the driven equipment or the demand of electric power from the grid or connected consumers. The type of the engine, the modification and the individual engine efficiency however also play their role in the actual fuel demand. The nomogram in Fig. 7.9 gives a random relation between biogas production and mechanical/electric power obtainable for diesel gas and Otto gas engines. As some simplifying assumptions had to be made, the nomogram is to be seen as a planning instrument rather than for the final calculations in designing the system.

7.3.2.6 Fuel Availability

In cases where the supply of fuel is not assured an alternative or auxiliary fuel would be required. Diesel dual fuel engines provide an option to use diesel fuel at any time and at any rate. On the other hand they require a supply of diesel fuel together with biogas. Otto engines are independent of liquid fuel supply. They may use LPG in case of biogas scarcity or run on alcohol or petrol again if the carburetor has been retained in its original function.


Fig. 7.9: Nomogram for the relation of fuel consumption/fuel demand fc, biogas quality CH4%, fuel energy flow E, type of engine used, mechanical power output Pm, electric generator efficiency ngen, and electric power output Pel. Basic gas data assumed: temperature 25 °C, pressure 960 mbar, ref. humidity 100%.
Example for the use of the nomograph:

Given data:

el. power required

Pel= 20 kW



generator efficiency

hgen = 80%



engine chosen

Ottogas ex-diesel



biogas available

CH4% = 60


Result:


fuel consumption

fc = 16.7 m³/h


specific overall fuel




consumption

sfc =16.7/20 = 0.835 m³/Kwh

7.3.2.7 Expected Engine

It is common knowledge that diesel gas engines or Otto engines on the basis of diesel engines are more appropriate for longer service than ex-vehicle Otto engines. Their higher price, however, requires justification by long and frequent periods of operation respectively. In general slow running engines last longer than fast ones but are larger and more expensive.

7.3.3 Choice and Operation of Driven Machine

The kind of driven machine chosen is clearly a function of the required service. For the final determination of the machine's type and size, however, there are a few more considerations to be made with respect to the consequences for the engine and even the biogas supply side. It is therefore of advantage for the economy of the whole system if possible alternatives for the future service and operational schedule can be anticipated (see also Chapter 7.2).

A good example is the filling of a water storage tank which requires a certain amount of water daily. The energy for the daily job of water lifting shall be 400 kW and remains constant irrespective of the type of pump, engine and operational schedule requirements. Likewise the size or daily gas production rate of the biogas plant is not effected under the simplifying assumption of a uniform efficiency of engine and pump. The interdependence of pumping schedule, gas storage and size of pump and engine, however, shows a significant difference in results (see table below).

Interdependence of operational schedule, biogas storage and power of engine and driven machine (pump)

Operational schedule selected (frequency

Mechanical (pump) power required (kW)

Gas storage (kWh/m³)1

Engine rated power (kW)2

X h/d)




1 X 4

100

333/56

133

2 X 2

100

167/28

133

1 X 12

33

200/33

44

2X 6

33

100/17

44

1 X 24

17

03

23

1 For biogas with 60% CH4 at standard conditions.
2 Assuming Pmach = 0.75 Peng.
3 0-storage is merely theoretical; a minimum storage of 1-fur operation should be provided.

The cheapest solution in terms of investment is obviously a small machine set, no or only little biogas storage and a continuous service. It is recommendable as long as continuous supervision, service and maintenance are assured. Under further consideration of the effect of continuous service on the engine's life span, necessary overhauls, the fact that an engine cum machine may already exist and other external factors, one might however have to select another schedule as an appropriate compromise.

7.3.4 Choice of Transmission

The transmission not only serves to connect the shafts of the engine and the driven machine, but it also provides for a possibility of an alteration of speeds and speed ratios.

Common engine speed ranges are:

- n =1 300 . . . 3 000 min-1 (rpm) for diesel engines
- n = 1500 . . . 5 000 min-1 (rpm) for petrol engines

whereby each engine should be operated at its optimal speed range as explained in Chapter 7.3.2.

Machine speeds can also have different ranges but are often designed to match with standard speeds of electric motors in order to facilitate a direct connection via elastic coupling or shaft.
Standard speeds for electric motors (AC) and direct driven machines are:

- n = 1 500 min-1 or 3 000 min-1 for a frequency of 50 Hz
- n = 1800 min-1 or 3 600 min-1 for a frequency of 60 Hz.

These speeds may well coincide with the optimum speed range of an engine so that direct coupling or shaft drive is possible. Direct coupling, however, requires matching flanges of engine and machine housings for direct mounting of a rubber-damped coupling at the crankshaft. Otherwise an external coupling with rubber elements or a propeller shaft is required. All direct drives cause the directions of rotation of engine and machine to be opposite. They offer the better solution for the drive of equipment that requires a high degree of speed (frequency) stability, e.g. electric generators.

Should the direction of rotation not meet the above conditions or should the speeds of machine and engine not coincide well enough, a transmission with V-belts or flat belts and pulleys is recommended.
The transmission ratio is determined by the ratio of diameters of the pulleys Deng/Dmach:

neng/nmach =Dmach/Deng ( Equ. 7.8)

Flat belts are still used in places where V-belts are scarce. Their advantage is that they can be cut to size from a long piece and joined together with a clamp which also allows repair. More slip and power loss through friction as well as the fact that they tend to run off the pulleys when not properly aligned is however disadvantageous.

While the direct transmission by shaft or rubber-damped coupling is almost free of power losses, slip and friction consume a certain amount of the power transmitted from the engine. For V-belts the power loss ranges from 3 . . . 8%, for flat belts from 10 . . . 20%. A transmission efficiency ñT can be defined as

(Equ. 7.9)

so that finally the actual power demand from the engine in case of belt transmission is

i.e. Iarger than the power demand at the machine shaft. For direct coupling without losses assume hT = 1

The transmission of power by belts imposes a radial load on the bearings of both engine and machine. While most driven machines and stationary engines are designed to also operate with V-belts (see specifications), most vehicle engines are designed to transmit their power by an axial connection to their gearbox. The radial load may therefore be harmful to the engine's crankshaft bearing.

In cases of doubt a separate axial shaft for the pulley with its own bearings for holding the radial load will resolve the problem (see Fig. 7.10, d).


Fig 7.10: Alternative positioning of engine and driven machine depending on direction of rotation and type of transmission. Direction of rotation is given as viewed facing the shaft ends, example c).

a) Propeller shaft, transmission ratio 1: 1; engine rotation: anticlockwise, machine rotation: clock- wise.
b) V-belt and pulleys, transmission ratio variable with pulley diameters; engine rotation: anticlock- wise, machine rotation: clockwise.
c) as in b); engine rotation: anticlockwise, machine rotation: anticlockwise.
d) as in b) but extra propeller shaft and pulley bearings to hold radial load; for engines with shaft bearing not designed for radial drive (vehicle engines).

Belt drive offers an additional advantage for cases where the engine has difficulties to start up while already pulling the machine under load. The belt can be loosened to allow the engine to first gain speed. It is then gradually tightened (on the unloaded side!) with a tensioner until the machine has also gained its speed. With very frequent start-ups in this way the wear and tear of the belts will however naturally increase.

An alteration of the direction of rotation between engine and machine can be effected by placing the engine and the machine either beside each other or in a row. Other alternatives for transmission are gears, either open or in a casing (gearbox). They are however much more expensive, require lubrication and may only be economically justified for continuous service in terms of years and for larger machines.


Fig. 7.11: Cross-sectional view of single-stage centrifugal pump (KSB).

1 discharge (pressure) flange with diffusor, 2 inlet (suction) flange, 3 impeller, 4 drive shaft, 5 stuffing box, 6 impeller/casing seal.

The other transmission elements are standard components, easy to manufacture (pulleys) or to be obtained even from unserviceable vehicles (propeller shafts). Both pulleys and shafts require an adapting flange or hub to be connected to the shaft (flywheel) of the engine and of the machine respectively. These flanges require precision in manufacture for reasons of rotation balance. An unbalanced shaft or pulley brings about destruction of the shaft bearings prematurely.

7.4 Engine and machine, two common examples

7.4.1 Engine and Water Pump

Water pumping, whether for municipal, industrial or agricultural purposes, cares for a substantial demand of mechanical energy. The most common type of pump is the centrifugal pump built in single-stage versions up to about 100 m waterhead or in multistage versions for higher heads.

A pump transforms mechanical energy into hydraulic energy and has, like other energytransforming machines, its specific performance characteristics. An example is shown in Fig. 7.12


Fig. 7.12: Characteristic curves of a radial centrifugal pump at constant speed (KSB)

The charts of Fig. 7.12 demonstrate the essential pump parameters and their interdependence:

-The head (sometimes given in pressure rise /p) increases when the capacity Q (or volume flow rate) decreases.
-The power demand increases with the capacity Q even though the head decreases. The influence of the increasing capacity is stronger.
-The efficiency has its maximum at the "design point" of the pump, i.e. at the values of capacity, head and speed chosen to provide the basic data for the design of the impeller and the volute casing.

The power demand of a pump is established by the following equation:

(Equ. 7.10)

with: Q = capacity in m³/s, H = total head in m, g = gravity
constant (9.81 m/s²), p = density (water: 1 000 kg/m³), ñp = pump
efficiency (0.5 . . . 0.75).

A centrifugal pump's design data (Q, H, P) are either specified at one selected speed n (on the nameplate) or given in a performance diagram similar to the one given in Fig. 7.12 supplied with the pump.

While centrifugal pumps are designed to match with standard electric motor speeds (see Chapter 7.3) they may well be operated at other shaft speeds, preferably below the design speed. When operated at a lower speed than specified, the values of capacity, head and power demand change as follows (indexed 1 at specified speed, 2 at actual speed):

(Equ. 7.11)

(Equ. 7.12)

(Equ. 7.13)

In cases where the pump is specified by its pressure rise /p rather than by its head H, use the transformation

(Equ. 7.14)

Some pump manufacturers supply diagrams indicating the pump's performance at different speeds as in Fig. 7.13.

As can be seen from Fig. 7.13 a change in speed results in a new characteristic curve. Speed variation provides a practical way of control for head and capacity. This mode of control is far more energy-economic than throttling the flow with a valve, as the pump and hence the engine would consume extra energy to overcome the flow resistance produced by the throttle valve. As engines can vary their speed, engine-driven pumps should be speed-controlled.


Fig. 7.13: Performance chart of a speed-controlled centrifugal pump (KSB)

Centrifugal pumps should never be throttled on their suction (inlet) side because of cavitation which wild gradually damage the impeller. However, as a valve on the pressure side is usually necessary for facilitating the start-up of the engine it can also be used for capacity control. The valve is to be kept closed when the engine is started and after one or two minutes gradually but fully opened. Priming of centrifugal pumps is necessary on the suction side if the pump does not suck water by itself (self-priming pump). Dry running of pumps is to be avoided.

The pump's performance chart and the other equations given will be useful for the specification of the engine in terms of power and speed. The engine should be chosen with the aim to match the operational point (or range) of the pump with the most fueleconomic point (or range) of the engine. The example below shall demonstrate the procedure.

Example:

Given situation: Water is to be supplied to a cattle farm with a daily consumption of 1 500 m³. The farm's buffer tank is located 40 m above the level of a river from which water shall be pumped. The flow resistance in the piping is estimated at an equivalent of 10 m; the total head for the pump is therefore 40 + 10 = 50 m. The pump available shall have the characteristics shown in Fig. 7.12; the speed specified is n = 3 000 1/min .

Step 1:
Transform the capacity into units matching the pump's diagrams and the formula for power:

Q = 1 500 m³/d: 24 h/d = 62.5 m³/h
Q = 62.5 m³/h: 3 600 s/h = 0.0174 m³/s

Step 2:
Establish the actual power demand using Equ. 7.10 and the efficiency from the pump chart at Q = 62.5 m³/s:

P = 12.74 kW

From the performance diagrams at Q = 62.5 m³/h the pump produces a head of H = 74 m and requires a power of P = 19 kW. If the pump was operated at its designed shaft speed of n = 3 000 min-1 water would be jetted into the tank at high speed, unnecessarily consuming extra power. The power difference between the diagram value and the one calculated would be wasted, hence extra fuel for the engine. A reduction of speed will solve the problem.

Step 3:
Adapt given pump to given situation using Equ. 7.13

n2/n1= 2626/3000 = 0.875

The new head at Q = 62.5 m³/s, using Equ. 7.12

H=53.5 m is sufficient for the given case of H = 50 m.

Step 4:
Specification of the engine (still unmodified) Data required by the machine (pump)

- operational speed nmach = 2 626 1/min
- operational continuous power P= 12.74 kW

a) Otto engine (ex-petrol)

rated engine power Peng = 1.95· Pmach =24.8 kW

rated engine speed neng = 1/0.8 · nmach =3 283 1/min

A petrol engine to be purchased for modification should have a rated power of about 25 . . . 30 kW at a speed of about 3 300 . . . 4 000 1/min. Suitable engines are found in a variety of vehicles with a cubic capacity of about 1.5 . . . 2.0 lifers. An Otto (ex-vehicle) engine would however be less recommended in a case of continuous operation. With estimated overhaul periods of about 3000 . . . 4 000 hours it needs a total overhaul after every six months.

b) diesel engine for dual fuel operation

rated engine power Peng,r = 1.56 · Pmach =19.9 kW

rated engine speed neng =1/ 0.8 · nmach =3238 1/min

The speed appears to be fairly high for a diesel engine, especially the stationary type. For a transmission using V-belts it is recommended to use an engine with a lower speed, preferably between 1 500 . . . 1 800 1/min. The rated maximum power should be 20 . . . 25 kW. Suitable diesel engines would be types with two or three cylinders, stationary, with a capacity of 2.0 . . . 2.5 lifers.

c) ready-made Otto gas engine (possibly exdiesel)

The specifications given by commercial suppliers already consider the reductions explained earlier for engines to be modified. Such engines can be ordered giving the specified machine data. A little reserve in power and speed, however, may be useful in case the machine requires a higher performance.

Step 5:
Establishing the biogas fuel consumption fc per day

a) Otto engine (self-modified) with
sfc = 0.6 . . . 0.8 m³/kWh
fc = sfc · P · operation time = 0.6 . . . 0.8·12.74 · 24 = 183 . . . 245 m³/d

b) diesel dual fuel engine with
sfc = 0.5. . . 0.7 m³/kWh
fc = 0.5 . . . 0.7 · 12.74 · 24 = 153 . . .214 m³/d

c) ready-made Otto gas engine with
sfc = 0.5 . . . 0.7 m³/kWh
fc = 153 . . . 214 m³/d

Step 6:
Dimension of biogas plant (digester) volume Vdig

The specific production rate (spr) of a biogas plant depends on factors like input material, retention time, temperature, etc. as explained in the relevant literature [4, 5]. Practicable values range from 0.3 . . . 1.0 m³ biogas/m³ digester volume and day, a range which shows the necessity for a fairly realistic establishment of the spr value. Assuming a value of spr = 0.8 for this example the digester volume is for
a) Otto engines (self-modified)

Vp = fc/spr = 183...245/0.8 = 229 . . .306 m³

b) diesel dual fuel and ready-made gas Otto engines

Vp = 153...214/0.8 = 179...268 m³

In order to compensate for fluctuations a 10% oversizing of the biogas plant is recommended. A small gas storage, possibly integrated into the; digester anyhow, of 5. . .10% of the daily production is furthermore useful. Considerations of future increases in water demand have to be made before final planning.

The pump chosen here can easily cater for about twice the capacity (see its per. formance diagram) but would need a larger engine. A slight oversizing of the engine is useful as during operation the piping may gradually become clogged by deposits. Some extra power helps to rinse or unblock the piping or overcome the resistance put up by the deposits.

As an alternative to the given example the following version is possible:

- pumping time 12 hrs/day,
- pump capacity 125 m³/h,
- engine power rating about 40 kW,
- farm water storage tank volume min: 750 m³,
- biogas storage tank volume min: 120m³.

The advantage of a shorter daily operation period (manpower) and a larger interval between the overhauls is likely to be out-weighed by the extra investment for a larger engine and storage tanks for water and biogas.

7.4.2 Biogas Engine and Electric Generator ("Biogas Gen-Set")

The generation of electrical energy represents another suitable option for the utilization of the energy potential of biogas. Electric generators, which can be driven by a choice of turbines and engines, are available in a large variety of sizes and types from various manufacturers. They are usually designed according to standards and enjoy a generally good reputation in terms of reliability, easy maintenance and a relatively low price as the smaller and medium sizes are manufactured in larger series.

Electric alternating current (AC) generators are designed in two different types:

- synchronous,
- asynchronous.

The synchronous type requires a direct current (DC) exitation, either from an external source (e.g. battery) or from an integrated exitation system, the latter of which are known as brushless, self-exitating generators. The frequency of the AC current produced is a function of the rotor (shaft) speed and the number of pole pairs in the stator:

F = n· Pp · 1/60 (Equ. 7.15)

with: F = frequency in Hz or s-1, n = speed in min-1, Pp = number of pole pairs.

Example:

n = 1 800 min-1
Pp = 2
F = ?

F = 1 800min-1 · 2 ·1/60= 60 Hz

The frequency of AC produced from a synchronous generator can be only as stable as the engine speed control system allows. For consumers which require extreme frequency stability the engine needs an adequately sensitive control system. For consumers like electric motors for water pumps or grain mills which can tolerate within certain limits operation with fluctuating frequency, hence speed, a synchronous generator and an engine with a standard control system are well suited.

Asynchronous generators guarantee frequency stability by means of their specific way of exitation. This is achieved by appropriately dimensioned capacitors in isolated operation or taken from the grid frequency in grid parallel operation. An asynchronous electric machine works as a generator as long as its rotor speed is slightly higher than the exact speed for synchronous operation (see Equ. 7.14), the "synchronous speed". It will however work as a motor and consume electricity when operating at a speed lower than the synchronous speed.

This specific feature principally allows the use of standard asynchronous motors as generators. In isolated grid operation, however, a well calibrated exitation system is to be connected, while for grid parallel operation no alterations are required.

Synchronous motors on the other hand require some modification with respect to their exitation systems when used as generators.
Competent expertise is necessary in this case.

The direction of rotation of the generator rotors is usually optional; the connections to the grid will have to be made in accordance with its actual direction of rotation. In case the connection and the direction of rotation do not match the following alterations should be made:

- for 2-phase:
exchange the connections
plus for minus,
minus for plus,
earth remains unchanged;

- for 3-phase:
exchange any two out of the three connections, e.g.
U for V,
V for U,
W,N and earth remain unchanged.

In a case where the gen-set is the only supplier of electricity in an isolated grid a wrong connection results in a wrong direction of rotation of the connected electric motors with possible damage to the driven equipment. In grid parallel operation the phase sequence in three-phase grids must first be established (with a three-phase sequence indicator) before the generator is connected accordingly.
Wrong phase connection can damage the generator-severely.

The connection data differ from one country to another. The most commonly used systems are the following two:

- 50 Hz, 220 . . .230 V, 2-phase
50 Hz, 380 . . 400 V, 3-phase
- 60Hz, 110V, 2-phase
60 Hz, 254V, 2-phase
60 Hz, 440V, 3-phase

For the specification of a generator the following data are required:

- Electrical connection data (as above): phase, voltage, frequency;

- Speed: The generator speed should be selected with a view to direct transmission, i.e. propeller shaft or rubber-damped coupling. For diesel gas engines or Otto engines modified from diesel engines a speed of n = 1 500/1 800 min-1 (for 50/60 Hz) is optimal. For Otto engines modified from petrol (ex-vehicle) engines n = 3 000/3 600 min-1 may be a viable option also, especially as they often show poor performance at speeds lower than n = 2 000 min-1. Life span however is shorter at higher speeds.

- Power: The electric power to be produced must be established from the requirements of the anticipated electric consumers operating simultaneously (check operational schedule). Voltage U, current I and the cos £ value (for electric motors) are either known or can be measured from existing consumers. The electric power demand Pel

Of each piece of equipment can be calculated as follows:

phase apparent power (kVA)

2-phase Pel = U· I

3-phase Pel=U· I ·

phase active power (kW)

2-phase Pel = U· I· cos j

3-phase Pel = U · I
·cos j (Equ. 7.16)

Resistors like heating, lighting, etc. have a cos j value of 1, i.e. the active power drawn from the grid equals the apparent power. Electric motors with a cos j value of 0.75 . . . 0.9 draw active power which is less than the apparent power resulting from measurements with simple A/V meters. The actual cos j is therefore required to specify the actual (active) power drawn from the grid or generator. Generator manufacturers, however, specify the generator's power output in kVA as the future type of consumption is unknown to them.

Modern generators can bear a short overload of about 2.5 times the specified current. The overload occurs during start-up of electric equipment, especially motors to overcome the break-away torque. To limit the overload for the generator, three-phase electric motors should have star/delta switches. Overdimensioning of gen-sets for start-up peak loads should not be necessary, especially as also the engine can usually produce more power for a short period.

For the selection of an adequate engine the generator's demand in mechanical power Pgen has to be established. The generator's efficiency hg which considers losses like heat, bearing friction and the power consumption of its own cooling fan is defined as

(Equ. 7.17)

The generator efficiency is specified by the manufacturer and usually ranges at hg = 0.82 . . .0.92. In case of belt transmission, the transmission efficiency needs to be considered also in a way that the total power demand of engine cum transmission required from the engine Peng, a is:

Peng,a = 1/hg · 1/hT · Pel (Equ. 7.18)

Before foal specification of the generator and engine according to the power required by one's own equipment, the operational schedule or the power demand profile respectively has to be sufficiently studied as it also determines the power or power range of the gen-set.

The following example shall serve as a demonstration of the layout of a biogas-driven generator set.

Given situation:

-biogas production (potential)

Vbg = 180 m³/d = 7.5 m³/h

-mean specific biogas consumption


of engine (estimated)

sfc=0.65 m³/kWh

-efficiency of generator

hg=0.9

-transmission

direct, no losses

-voltage (country standard)

U=220/380 V

-frequency (country standard)

f=50 Hz

-daily electric power demand:


- from 0 to 7hrs

Pel= 2 kW

- from 7 to 17hrs

Pel=12 kW

- from 17 to 24 hrs

Pel= 2 kW

Solution:

Step 1: Establish amount of biogas needed daily for the generation of the required electric power. Electric energy demand per day,
Eel:

Eel =(14h· 2kW)+(10h ·12kW) = 148 kWh/d

Biogas demand for the gen-set per day, Vbg:

Vbg = Eel · 1/hg · sfc

Vbg = 148 kWh/d · 1/0.9 · 0.65 m³/kWh = 107 m³/d

The biogas production of 180 m³/d is more than sufficient for the generation of the power demand, but on a daily basis only.

Step 2:
Establish the mechanical/electric power directly available from the continuous biogas production rate and complete the daily supply/demand profile:

-from 0 to 7 furs: excess biogas available
-from 7 to 17 furs: power demand is higher than related biogas production
-from 17 to 24 furs: excess biogas available.

The excess biogas produced during the low demand period provides the possibility for storage to be supplied to the gen-set during the high demand period. Furthermore other consumers like lighting, heating, baking, cooking can utilize the excess gas during that time.

Step 3:
Establish necessary biogas storage.
Biogas demand per hour

Vbg = Pel · 1/hg · sfc

a) high demand period (7 to 17 furs)

Vbg = 12 kWel· 0.9 · 0.65 m³/kWh = 8.7 m³/h

b) low demand period (0 to 7 hrs and 17 to 24 hrs)

Vbg = 2 kWel · 1/0.9 · 0.65 m³/kWh = 1.44 m³/h

The gas storage capacity Vs needed for the high demand period (see Equ. 7.3):

Vs = 10 h (8.7 m³/h - 7.5 m³/h) = 12 m³

Note that a certain gas quantity is usually stored in the biogas digester itself. A certain volume is however necessary for the normal fluctuations in biogas production in most plants and possible fluctuations in power demand.

In the given situation it would be worthwhile to reconsider the operational schedule with the aim to better adapt biogas production and biogas consumption to each other:

-Lower the demand for electric power while the operational period is extended (e.g. Iess water pumped per hour during a longer operation time). The gas storage could be avoided.
-Raise biogas production to Vbg = 8.7 m³/h to avoid the gas storage. At the same time secure a use for the excess gas produced during the low demand period.
- If no other gas use is available build a smaller biogas plant for a lower biogas production. The daily amount of biogas required to be sufficient for the generation of 148 kWh was 107 m³/d or 4.5 m³/h. A larger gas store is then necessary with Vs = 10 h (8.7 - 4.5) = 42 m³. For future extension - one may consider about a 25% increase in these figures.


Fig. 7.14: Daily profiles: 1 biogas and potential power production, 2 electric power demand (refers to example)

Step 4:
Specify the generator:
Voltage: 380 V
Frequency: 50 Hz
Phase: 3-phase (unless all existing electric equipment is 2-phase)
Speed: 1500 1/min
Type:

- asynchronous if net parallel operation is anticipated
- synchronous (brushless, self-exitating) if isolated grid operation is anticipated

Power:

- present maximum demand 12 kW
- provision for future extension 25%
- total electric power 15 kW

Current: (necessary for specification of switchgear, cables. connections, etc.)

for 3-phase (cos j assumed = 0.85)

Step 5:
Select engine

- mechanical power demand from machine, i.e. generator:

The operational power of the engine is about 17 kW while the value of the rated or maximum power of the engine (Peng,r) to be selected for modification is higher (see Chapter 7.3.2).

a) Diesel engine to be modified for dual fuel

Peng,r = 1.56 · Pmach = 1.56 · 16.7 kW =25.1 kW

b) Otto engine (ex-petrol) to be modified for biogas

Peng,r = 1.95 Pmach = 1.95· 16.7 kW = 32.6 kW

- pilot fuel demand:

The diesel engine requires about 20% of its rated diesel fuel consumption for pilot ignition, i.e.

fc= 16.7 kW · 0.31/kWh · 0.2=1 l/h

- speed, transmission:

The generator speed is suitable for direct transmission by rubber-damped coupling or propeller shaft:

neng = nmach = 1 500 min-1

The direction of rotation is usually optional for generators and only related to the mode of cable connection.

The given demand profile allows operation of the engine at a good efficiency for 10 hours a day. During the low demand period the engine can only be operated at almost idling conditions. Its use in this case is hardly economic as the cost for service, maintenance, operating personnel and the depreciation process are dependent on the actual operation period irrespective of the actual power produced.

Some alternatives would be worth considering:

-Sell electric power to other consumers or public grid at a rate which allows the full utilization of the excess biogas.
- Buy the electric power needed during the low demand period and only switch over to self-generation during the high demand period.
-Consider renouncing the use of electricity during the low demand period, i.e. operate the engine in high demand period only.
-Use an additional smaller biogas-driven generator set (3 . . . 4 kW) for the low demand period; this however requires extra investment.

In the last three cases find a useful purpose for the excess gas produced during the low demand period or consider a smaller biogas plant cum appropriate gas storage (see step 3).

TO PREVIOUS SECTION OF BOOK TO NEXT SECTION OF BOOK