Back to Home Page of CD3WD Project or Back to list of CD3WD Publications

Continue

Contents - Previous - Next

TABLE 5. Equilibrium moisture contents of various seeds

Seed

Air relative humidity (%)

40

50

6.0

70

75

80

90

Wheat

10.7

12.0

13.7

15.6

16.6

17.6

23.0

Maize

11.0

12.0

13.0

15.0

15.5

16.0

20.0

Rye

10.0

11.6

13.2

14.8

16.1

17.3

24.6

Peas

9.4

11.1

13.1

15.5

17.2

19.5

27.7

Beans

9.1

11.1

13.1

15.8

18.0

20.4

28.0

Grass

8.9

10.3

11.6

13.9

15.4

17.4

23.3

Onions

8.3

9.6

10.8

12.6

14.1

16.2

23.5

6.4 Drying

Drying involves transferring water from inside the grain to the grain's surface, transforming it to water vapour and then dispersing the water vapour into the atmosphere.

In order to achieve drying, the following three resources must be available:

6.4.1 Source of water. This is the excess water in the grain which, if allowed to remain, will lead to deterioration. The quantity of excess water to be removed in drying grain from one moisture content to another can be found in Table 4. This is not a food loss.

6.4.2 Sources of energy. Energy is used to evaporate the water, i.e. to convert liquid water to water vapour. Twice as much energy is needed to evaporate water from grain as that required to evaporate boiling water in a pan. Water will evaporate at any temperature below boiling point, and still require about the same amount of energy to convert into water vapour as when it is boiling. The main sources of energy are solar energy, used either directly as in sun-drying, or indirectly as in crib drying; and energy derived from burning material such as wood, coal, gas or oil. In all cases, except direct sun-drying, the energy is transferred to air (the temperature of which is thus increased), and thereafter to the grain where it evaporates the water and is itself cooled.

During the day ambient air increases in temperature as a direct result of the sun's heating effect. The air stores the sun's energy which can then be used to dry grain during the middle of the day. The effect of increasing air temperature on relative humidity has been shown in Section 6.2. Thus, during the middle hours of the day, the air temperature is raised but relative humidity is also reduced. This air therefore has an increased capacity for drying through its increased temperature, and therefore more energy available for evaporation. Because its relative humidity is reduced, it can also absorb more water vapour. The combined effect of increased temperature and lower humidity, and the interrelationship of the two, are shown in Figure 6.6.

Figure 6.6 Typical daily variation of air temperature and relative humidity (Ibadan Nigeria)

 

6.4.3 Vapour sink. The evaporated water must be removed from the vicinity of the grain. If it is allowed to remain the relative humidity, as already noted, is increased, so that evaporation ceases even if the grain is wet and energy is available. In practice, the air surrounding the grain is artificially replaced by new air through diffusion (as in cribs), or by forcing it away using a fan (as in a batch or a continuous flow drier) or relying on convection (as in the Brook drier).

Diffusion of air in still conditions is a very slow process. This is one reason for recommending a very narrow crib in difficult drying environments.

 

6.5 Types of driers

The designs of driers and their methods of construction offer a wide range of possible combinations to meet the requirements discussed in Section 6.4. A drier is useful only if it proves technically efficient at a low cost. At the farm and village level this means making the fullest use of locally available materials and expertise. A drier may be excellent from a technical viewpoint, but if it is too costly it will be of no more use than a low-cost drier that fails to conform to the fundamental principles of drying.

There are many types of drier and many models of each type. When choosing a drier, it is important to remember that it must:

Drying may be an operation separate from storage; or drying and storage can be combined.

6.5.1 Drying as an operation separate from storage. This type of drying operation is separate from any storage operations which may follow it. It is important because the grain is mixed after it has been dried. Kernels that are too dry will absorb moisture from kernels that are too wet. When they are mixed after drying, the desirable average final moisture content will be achieved. In storage-drying operations, no mixing occurs because the crop is already in store. No differences in moisture content should exist after drying; there must be no overdrying or under-drying of individual kernels.

In sun-drying, or exposing grain to the sun, the only requirements are a level surface and sufficient labour to spread the material, turn it and collect it in case of rain or when the grain is dry. The cheapest drying surface is tamped earth, but this has the disadvantage of contaminating the grain and subjecting it to ground moisture. For small quantities a tarpaulin or plastic sheet prevents these difficulties, and the edges can be turned in to cover the grain when rain threatens or at night. Black plastic sheeting with grain spread to 40 mm and frequently turned gives the fastest drying. Labour requirements are, however, a major constraint.

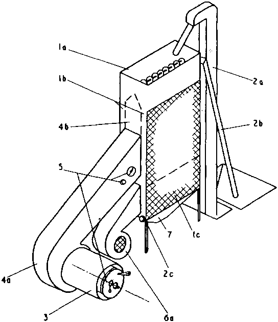
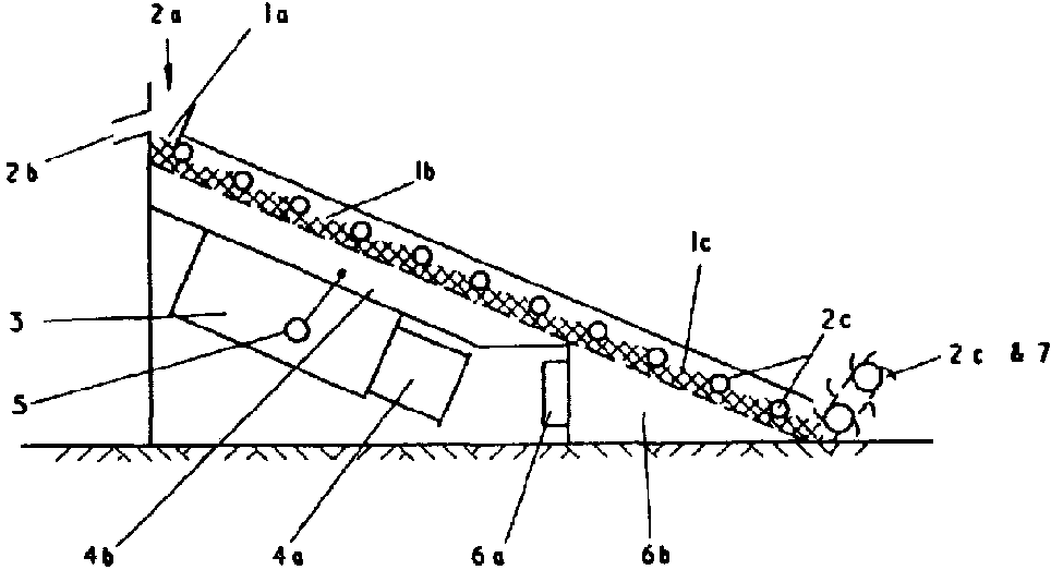
Using a convection drier with added heat is another drying method. The Brook drier (see Fig. 6.9) is an example of a convection drier. The crop is spread in a thin layer on a perforated floor. The floor forms the top of a plenum chamber in which there is a source of heat. The perforated floor has sides which extend upward as high as possible, since the crop has to be loaded and unloaded over the sides unless they are removable (which adds to the cost). Air enters the plenum chamber through holes in its sides and end, is heated and rises through the perforated floor and the product to be dried by natural convection.

Figure 6.7 Drying as a separate operation from storage

Figure 6.8 Combined drying and storage

Figure 6.9 Natural convection drier, general view

Figure 6.10 Force-ventilated batch drier

Another form of drier is the force-ventilated batch drier. In its simplest form this consists of a perforated floor overlying a plenum chamber. A fan passes air through the crop spread on the perforated floor. Normally the air is heated before being passed through the crop. After drying, the crop is removed, cooled and stored. This system dries crops quickly but is expensive to construct. It also requires components which are not readily available to the farmer. Moreover, it involves expenditures on fuel to drive the fan and maintenance of the equipment. There are many examples of this type of drier; a typical drier is illustrated in Figure 6.10.

Figure 6.11 Cascade drier

Figure 6.12 Multinle-tier conveyor drier

Figure 6.13 Double-flow continuous drier

In the force-vetilated continuous flow drier, the grain is continually moving through the drier as heated air is forced through it. It may move by gravity between two perforated walls or down a sloping perforated floor. In some driers the grain is moved over a horizontal perforated floor by slow-moving scrapers. The temperature of the air must be very accurately controlled to avoid damaging the grain. Specially designed furnaces and expensive fans are needed for this type of drier, which are suitable only for large-scale operations with a high throughput of grain. Examples of continuous flow driers are seven in Figures 6.11, 6.12 and 6.13.

Legend for Figs 6.11, 6.12 and 6.13

1. Grain compartments

2. Means of causing and regulating grain flow

3. Air heater

4a. Hot-air fan(s)

b. Hot-air chambers

5. Devices for controlling (and indicating) hot-air temperatures

6a. Cooling air fan

b. Cooling air chambers

7. Grain discharge

Figure 6.14 On-poor storage drier

 

6.5.2 Drying combined with storage. In this group, the same structure is used for storage and for drying. The storage structure is designed to allow the crop to dry during the early part of the storage period. In most storage driers the crop is not removed from the structure until it is needed. In some, however, the structure is used for batch drying.

One such drier is the natural ventilation storage drier. The most common example of this group is the crib, which is fully discussed in Section 10.

Forced ventilation storage driers can be ventilated bins and on-floor storage-drying systems. Both are used for bulk grain in large quantities. Considerable skill and experience are required to operate these systems successfully. Examples of this type of drier are shown in Figures 6.14 and 6.15.

Figure 6.11 shows the continuous flow louvred-bed grain drier that runs on the cascade principle. This is a gravity-flow drier assisted by the downdraught from the louvred bed and with depth controlled by a series of roller dams. The moisture extraction rate is controlled by a variable speed drive to the output elevator, lifting grain evenly from the full width of the bed at the base of the cooling section. The machine is suitable for all free-flowing grain and most granular material. Being almost entirely self-cleaning, it is a popular choice of seedsmen. The cascade drier is particularly suitable for drying peas, beans, coffee and rice.

Figure 6.15 Drying zones in bottom-ventilated storage bins

Figure 6.16 Radially ventilated storage bin with central cylinder and perforated walls

Most models are delivered in one piece, which makes installation simple and rapid. Standard models are available to give outputs from 2.5 to 12.5 tonnes per hour. The smaller cascade driers can be supplied as mobile units. Multiple-tier cascade driers (see Fig. 6.12) are manufactured to special order when site conditions dictate.

Figure 6.13 shows the continuous flow louvred-bed grain drier running on the double flow principle.

The flow of this machine is gently assisted by a variable speed, heavy-duty, rolleb-chain conveyor. The double flow drier is suitable for most grains and granular materials, including grains of very high moisture content such as rice and maize. Half-way along its route the material is completely turned and mixed as it falls from the uppermost to the lower bed. Advantage may be taken of the strong cleaning effect produced by the current of air passing through the curtain of grain at this point.

The feed and discharge points of this model are found at one end, which simplifies installation. The remainder of the drier is usually positioned outside the building to economize on space, and to ensure that moist air and dust are exhausted into the atmosphere. Roof supports are supplied to take six big asbestos sheets. Standard models are available to give outputs from 4 to 85 tonnes per hour. Mobile double flow driers can be supplied to give outputs up to 21 tonnes per hour. Multi-flow driers may be supplied for special applications.


7. Warehouses

Warehouses are durable, general-purpose storage structures, providing secure protection from rain, sun and wind.

Grain storage warehouses are specialized structures designed specifically for storing cereal grains and legumes. Grains may be stored in bulk or in bags. Most grain storage warehouses are designed for bag storage. Capacities range from 50 to 5 000 tonnes of bagged grain per warehouse, requiring from 50- to 2000 mē floor area. Smaller sizes for storing between 5 and 10 tonnes of grain in bags are common, but storage costs per tonne then tend to be high, and alternative methods such as bin storage should be investigated.

 

7.1 Warehouse construction

A general warehouse design consists of a concrete frame with concrete block walls; a metal roof truss; a galvanized, corrugated iron roof covering; and a floor area of 600 mē with a 15-m width and 40-m length. This type of structure is standard for the commercial building contractor; alternative designs are usually quoted at a higher unit price.

For warehouses smaller than 200 mē locally available material, such as mud block and timber, may be used. While not ideal for long-term storage, they provide adequate short-term storage at, for example, primary procurement centres.

 

7.2 Cost of construction

There is a marked economy of scale in warehouse construction, ranging from US$ 200 per mē for a 500 mē floor area, to US$ 180 per mē for a 2 000 mē floor area in the major cities. In remote areas basic costs are as much as 50 percent higher and there may be up to 30 percent additional costs to provide road access and services.

Thus, in remote areas, the price per square metre compared with that in areas close to cities may often be 30 percent greater for small stores and as much as 40 percent greater for floor areas up to 1 000 mē.

Figure 7.1 Warehouses

 

7.3 Usable volume

Warehouses cannot be completely filled with bagged grain. Access ways are required, and the apparent wasted space taken up by smaller gangways, headroom and areas around stacks is essential for ventilation, access, hygiene and fumigation. For a 500-tonne store the usable volume can be less than 50 percent of the gross internal volume below the level of the eaves. As store size increases the usable volume increases to a maximum of about 80 percent for 10000-tonne stores. The usable volume is also decreased, for a given size of warehouse, by (a) an increased range of products stored; (b) short-term storage where stacks are continually being broken and rebuilt; (c) pest infestation and/or (d) poor management.

 

7.4 Care of produce in warehouses

(a) Prevent damp from the poor reaching the produce

During construction a water barrier or membrane can be included in the concrete floor of the warehouse. Pallets and dunnage are used to form a barrier against damp.

(b) Prevent damp from walls reaching the produce

Figure 7.2 Dunnage

Figure 7.3 Pallets

Figure 7.4 Space between produce and walls

Figure 7.5 Good management in . warehouses

Figure 7.6 Good management in warehouses

(c) Stack the sacks properly to allow:

  1. optimal use of space;
  2. ease of sweeping the floors;
  3. ease of inspection of produce for the presence of rodents and insects;
  4. ease of counting sacks; and
  5. ventilation of sacks.

(d) Control insects and rodents by:

  1. dosing all holes in doors, roofs, etc. where pests can enter;
  2. repairing cracks in walls where pests can hide;
  3. treating the building and produce against pests;
  4. keeping the warehouse absolutely clean; and
  5. removing and destroying any infected residues that might contaminate newly introduced pests.

Figure 7.7 Dunnage: waterproof sheet

Figure 7.8 Dunnage: poles

Figure 7.9 Dunnage: pallets

 

7.5 Dunnage

Dunnage is material that can be placed between the floor of a warehouse and the sacks of produce to prevent moisture moving from the floor into the produce, and thereby causing moulding and rotting.

The simplest form of dunnage is simply a thick waterproof mat or unpunctured plastic sheet, on which the sacks are placed.

Alternatively, straight poles are laid on the floor and the sacks are placed on top.

The more expensive type of dunnage consists of two layers of planks, securely fastened to cross members to keep them separated. If made from sawn timber they are known as pallets and are suitable for handling by forklift trucks. Pallets should be inspected and sprayed before use to avoid cross infestation and damage to sacks by protruding nails and split wood.

 

7.6 Stacking of sacks

If sacks are laid on top of one another, with no overlap in successive layers, the stack will be very unstable. The recommended alternative is to "tie" successive layers by arranging the sacks differently in each layer. This not only produces a safer stack, it also makes stock-taking easier as the bags can quickly be counted.

Sacks are generally stacked in layers of three, five or eight per layer. Odd and even layers are arranged as shown in Figure 7.10.

Figure 7.10 Stacking sacks

Figure 7.11 Drum mixer

 

7.7 Insect control in sacks stored in warehouses

There are three common chemical methods for controlling insects in sacks stored in a warehouse:

(a) admixture of insecticidal dusts with the produce before loading it into the sack;

(b) the spraying of successive layers of sacks with liquid insecticides or dusts as the stack is built; and

(c) enclosing a fumigant with the sacks under a gasproof sheet.

The admixture of insecticidal dusts can be very effective if a suitable insecticide is used. Recently, some synthetic pyrethroids and pirimiphosmethyl dust, applied at rates of between 2.5 ppm and 15 ppm active ingredient (depending on the insecticide), have been found to completely eliminate insects in stored bags for at least eight months.

Mixing of the dusts with the grain can be done in various ways, such as shovel mixing on a tarpaulin, or, for large-scale operations, a drum with an eccentric axle is used.

The admixture of dusts with stored grain gives rise to a potential health hazard and is not to be recommended, unless a very safe insecticide is used and the grain is only to be consumed after a prolonged period in storage.

Spraying or dusting successive layers of sacks with insecticides (as shown) is less hazardous to humans, but is not always effective. Recently, however, pirimiphos-methyl (as emulsifiable concentrate, Actellic 50 ec) was applied undiluted (50 ec) at the rate of two to three strokes per bag with a simple domestic applicator; and it largely eliminated weevils from heavily infested sacks of maize and kept the population at a very low level even after eight months. But there is always a danger in applying undiluted insecticides.

Figure 7.12 Spraying a layer of sacks

Figure 7.13 Fumigation under a sheet

Ultimately, the most satisfactory method of insect elimination and control in bagged grain is by fumigation. A gas is released among bags covered by a gasproof sheet, which is held down by "sand snakes" or a heavy chain wrapped in hessian (see Fig. 7.13). The sheeted stack is left for at least three days.

For relatively small-scale storage (100-300 tonnes) the most convenient fumigant to use is aluminium phosphide, which releases phosphine gas when it absorbs moisture. One tablet of the fumigant for every two bags is recommended, provided the stack is of a size that will be hermetically enclosed within two hours. Phosphine and other fumigant gases may also be used effectively for larger quantities of grain.

 


Contents - Previous - Next